Для студентов МГТУ им. Н.Э.Баумана по предмету Теоретическая механикаКолебания линейной системы с одной степенью свободыКолебания линейной системы с одной степенью свободы
5,00512
2020-04-172020-04-17СтудИзба
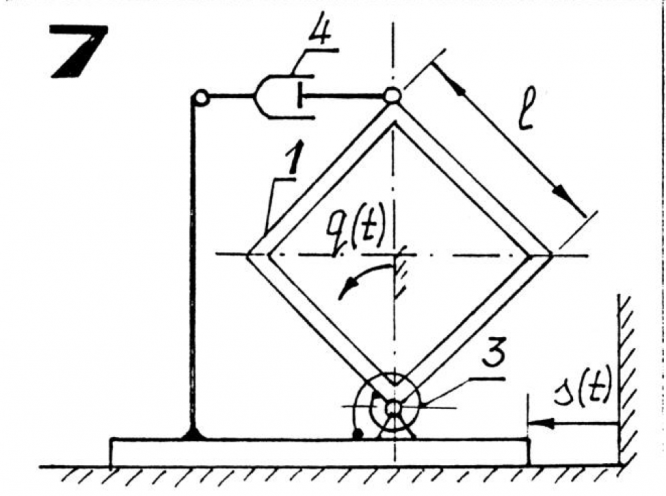
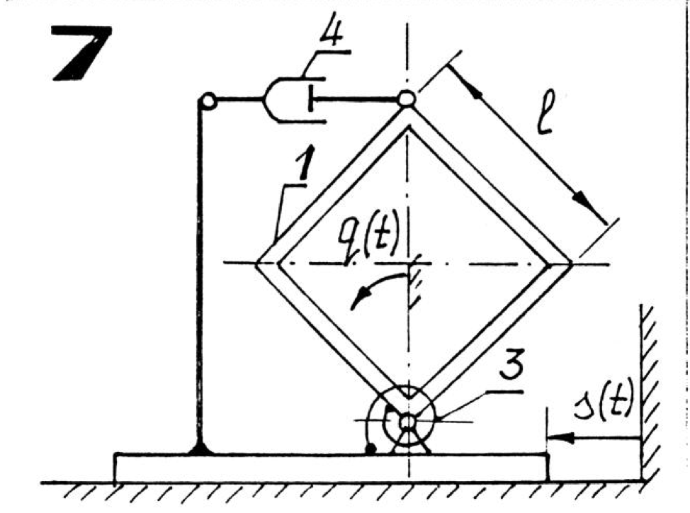
ДЗ 2: Колебания линейной системы с одной степенью свободы вариант 7
Описание
Характеристики домашнего задания
Предмет
Учебное заведение
Семестр
Номер задания
Вариант
Просмотров
314
Размер
6,05 Mb
Список файлов
img_920.pdf
МГТУ им. Н.Э.Баумана



















