Для студентов МГТУ им. Н.Э.Баумана по предмету Технология конструкционных материалов (ТКМ)Разработка технологии изготовления отливок - СтойкаРазработка технологии изготовления отливок - Стойка
2024-04-202025-03-28СтудИзба
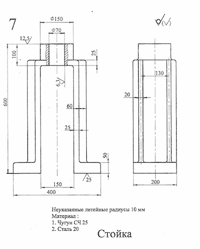
ДЗ 1: Разработка технологии изготовления отливок - Стойка вариант 7
Описание
Материал Чугун СЧ25. Задание выполненно идеально, зачтено на максимальный бал.Файлы условия, демо
Характеристики домашнего задания
Учебное заведение
Номер задания
Вариант
Просмотров
25
Качество
Идеальное компьютерное
Размер
1,04 Mb
Список файлов
ДЗ по ТКМ Литьё 7 вариант.doc
ДЗ по ТКМ Литьё 7 вариант.pdf
Стойка.cdw
Комментарии
Нет комментариев
Стань первым, кто что-нибудь напишет!
МГТУ им. Н.Э.Баумана


















