Для студентов МГТУ им. Н.Э.Баумана по предмету Технология конструкционных материалов (ТКМ)Разработка технологии изготовления отливок - Опора направляющаяРазработка технологии изготовления отливок - Опора направляющая
2,0554
2021-05-052021-05-05СтудИзба
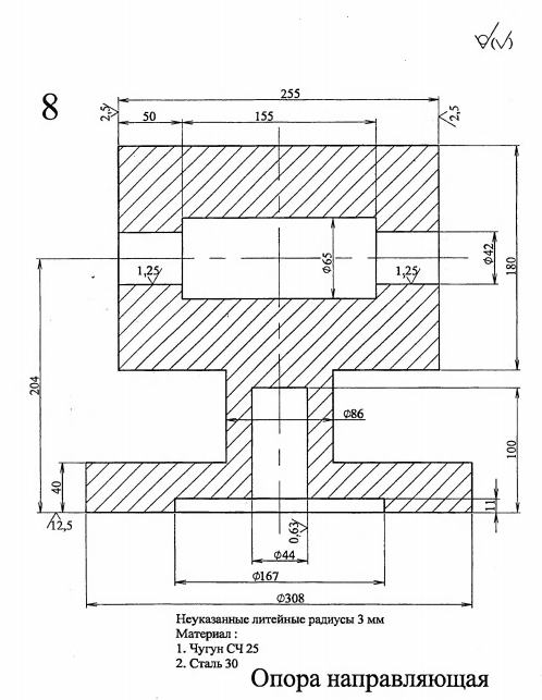
ДЗ 1: Разработка технологии изготовления отливок - Опора направляющая вариант 8
Описание
Задание выполнено с созданием БОЛЕЕ ТЕХНОЛОГИЧНОЙ (ДОРАБОТАННОЙ) детали. Данное задание выполнено для преподавателя Виноградова В.Ю., поэтому могут быть расхождения в требованиях от вашего преподавателя. ![]()

Характеристики домашнего задания
Учебное заведение
Номер задания
Вариант
Просмотров
127
Качество
Идеальное компьютерное
Размер
742,85 Kb
Преподаватели
Список файлов
ДЗ1.В8.Сталь 30.pdf
Комментарии
Нет комментариев
Стань первым, кто что-нибудь напишет!
МГТУ им. Н.Э.Баумана
vVv



















