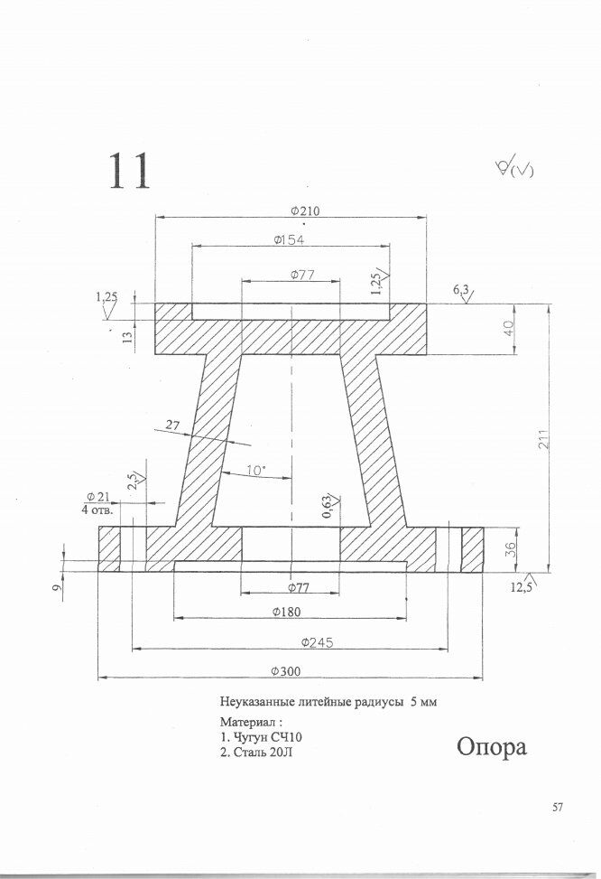
ДЗ 1: Разработка технологии изготовления отливок - Опора вариант 11
Описание
Характеристики домашнего задания
Учебное заведение
Номер задания
Вариант
Просмотров
185
Размер
797,34 Kb
Список файлов
TKM.docx
Сборка1.pdf
Чертеж со стержнем.pdf
Комментарии
Нет комментариев
Стань первым, кто что-нибудь напишет!
МГТУ им. Н.Э.Баумана


















