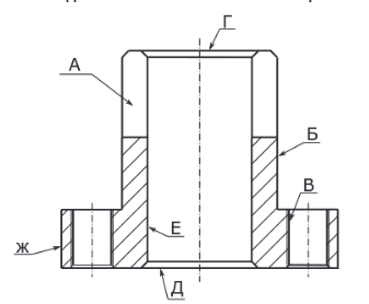
Для студентов МГТУ им. Н.Э.Баумана по предмету Технология конструкционных материалов (ТКМ)Механическая обработка заготовок деталей машин - ВтулкаМеханическая обработка заготовок деталей машин - Втулка
5,0053
2020-10-192020-10-19СтудИзба
ДЗ 3: Механическая обработка заготовок деталей машин - Втулка вариант 13
Описание
Характеристики домашнего задания
Учебное заведение
Номер задания
Вариант
Просмотров
198
Размер
1,98 Mb
Список файлов
Домашнее задание №1 Проектирование детали Втулка (вариант №13).pdf

НОВИНКА: отчеты по практикам! Поиск - по названию предприятия в тэге. База учебных материалов МГТУ им. Н.Э. Баумана в формате pdf, оригиналы файлов отсутствуют (если иное не оговорено в описании). Вопросы задавайте ДО покупки в комментариях под файлами.