ДЗ 1: Разработка технологии изготовления отливок - Цапфа вариант 16, 24
Описание
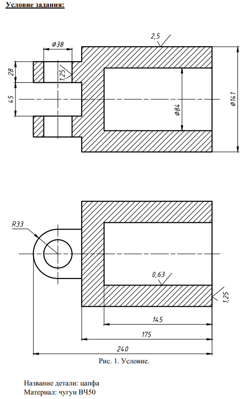
Идеально сделанная и проверенная работа, условие которой можете проверить на фото ниже.
Домашняя работа выполнялась по учебному пособию, которое тоже прилагаю.
Работа состоит из следующих пунктов:
1. Анализ чертежа детали.
2. Выбор метода и способа изготовления заготовки.
3. Предварительный вариант расположения отливки в форме.
4. Разработка чертежа элементов литейной формы.
4.1. Выбор класса точности и ряда припуска.
4.2. Выбор расположения отливки в литейной форме.
4.3. Расчёт припуска на механическую обработку.
4.4. Выбор величины формовочных уклонов.
4.5. Расчёт скруглений между пересекающимися поверхностями.
4.6. Определение количества стержней, их границ и размеров.
4.7. Выбор припуска на усадку.
5. Проектирование литниковой системы.
6. Разработка эскиза литейной формы.
7. Чертёж изначального варианта расположения отливки; чертёж более технологичной детали; чертёж отливки и эскиз песчаной формы.
Домашняя работа выполнялась по учебному пособию, которое тоже прилагаю.
Работа состоит из следующих пунктов:
1. Анализ чертежа детали.
2. Выбор метода и способа изготовления заготовки.
3. Предварительный вариант расположения отливки в форме.
4. Разработка чертежа элементов литейной формы.
4.1. Выбор класса точности и ряда припуска.
4.2. Выбор расположения отливки в литейной форме.
4.3. Расчёт припуска на механическую обработку.
4.4. Выбор величины формовочных уклонов.
4.5. Расчёт скруглений между пересекающимися поверхностями.
4.6. Определение количества стержней, их границ и размеров.
4.7. Выбор припуска на усадку.
5. Проектирование литниковой системы.
6. Разработка эскиза литейной формы.
7. Чертёж изначального варианта расположения отливки; чертёж более технологичной детали; чертёж отливки и эскиз песчаной формы.
Характеристики домашнего задания
Учебное заведение
Номер задания
Просмотров
279
Качество
Идеальное компьютерное
Размер
25,54 Mb
Список файлов
Tekhnologia_izgotovlenia_otlivok.pdf
ДЗ №1_ 16 вариант (цапфа).pdf
Комментарии
Нет комментариев
Стань первым, кто что-нибудь напишет!
МГТУ им. Н.Э.Баумана

















