Для студентов МГТУ им. Н.Э.Баумана по предмету Сопротивление материаловСтатически определимые балкиСтатически определимые балки
5,00512
2022-11-282024-09-03СтудИзба
ДЗ 3: Статически определимые балки вариант 21
-55%
Описание
Вариант 21 - ДЗ №3 - Статически определимые балки - Задача 1 + Задача 2
Зачтено на максимальный балл
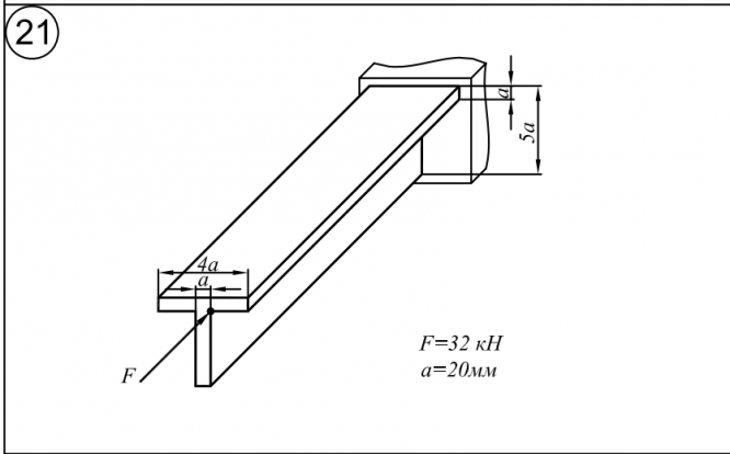
Задача 1:



Файлы условия, демо
Характеристики домашнего задания
Предмет
Учебное заведение
Семестр
Номер задания
Вариант
Теги
Просмотров
319
Размер
1,99 Mb
Список файлов
Задача 1 - 1.jpg
Задача 1 - 2.jpg
Задача 1 - 3.jpg
Задача 2 - 1.jpg
Задача 2 - 2.jpg

Друзья, спасибо за доверие! Если вам понравилась работа – поставьте 5⭐ и напишите отзыв. Это поможет другим студентам, а мне даст силы делать ещё больше качественных материалов для вас 🔥