Для студентов МГТУ им. Н.Э.Баумана по предмету Основы конструирования приборов (ОКП)Исполнительный привод - Расчет вал и опор + Детальная проработкаИсполнительный привод - Расчет вал и опор + Детальная проработка
4,915693
2024-01-032024-01-03СтудИзба
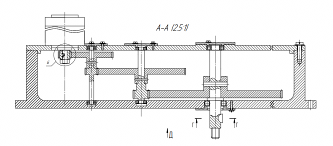
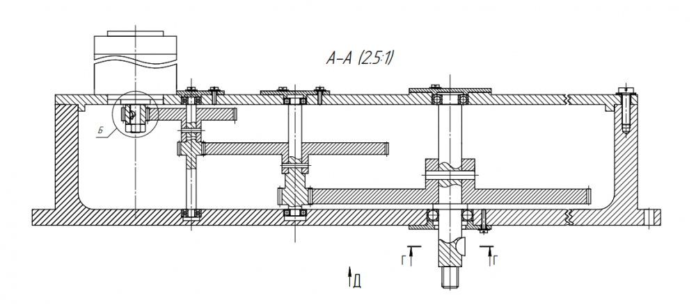
ДЗ 2: Исполнительный привод - Расчет вал и опор + Детальная проработка вариант 10
Описание
При покупке Вы можете получить подарок 20 руб.
Зачтено на максимальный балл!!!
Идеальное качество файлов, документов 💥 💥 💥
Не только копировать, а нужно понимать!


Характеристики домашнего задания
Учебное заведение
Номер задания
Вариант
Программы
Просмотров
1
Качество
Идеальное компьютерное
Размер
2,08 Mb
Список файлов
Детальная проработка 1.12.2023.pdf
Расчёт валов и опор.pdf

Ваше удовлетворение является нашим приоритетом. Вставьте 5 звезд и позитивные комментарии сразу дам Вам подарок. Благодарю за использование моей службы!!