Определить весовой расход воздуха по трубе с плавно закругленным входом и цилиндрической частью диаметром D = 200 мм, если показание вакуумметра в виде вертикальной стеклянной трубки, опущенной в сосуд с водой, h = 250 мм. Коэффициент сопротивления в
Описание
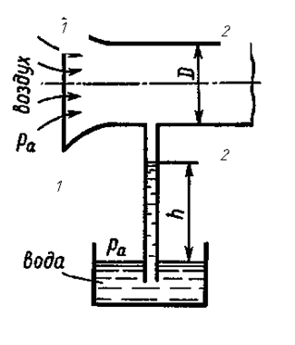
Определить весовой расход воздуха по трубе с плавно закругленным входом и цилиндрической частью диаметром D = 200 мм, если показание вакуумметра в виде вертикальной стеклянной трубки, опущенной в сосуд с водой, h = 250 мм. Коэффициент сопротивления входной части трубы (до места присоединения вакуумметра) ξ = 0,1. Плотность воздуха рвоз=1,25 кг/м3.

Характеристики решённой задачи
Номер задания
Вариант
Программы
Теги
Просмотров
13
Качество
Идеальное компьютерное
Размер
23,1 Kb
Список файлов
2-4.docx
Комментарии
Нет комментариев
Стань первым, кто что-нибудь напишет!
A45162






















