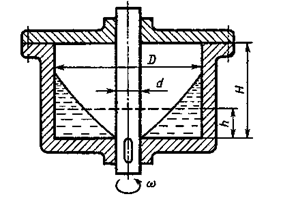
Цилиндрический сосуд диаметром D = 80 мм вращается на вертикальном валу диаметром d = 30 мм. Определить минимальную угловую скорость w, при которой жидкость не будет соприкасаться с валом, если первоначально сосуд был заполнен до уровня Н = 0,05 м. С
Описание
Цилиндрический сосуд диаметром D = 80 мм вращается на вертикальном валу диаметром d = 30 мм. Определить минимальную угловую скорость w, при которой жидкость не будет соприкасаться с валом, если первоначально сосуд был заполнен до уровня Н = 0,05 м. Считать, что высота сосуда Н достаточно велика, чтобы при этой угловой скорости жидкость не доставала до крышки сосуда.

Характеристики решённой задачи
Номер задания
Вариант
Программы
Теги
Просмотров
10
Качество
Идеальное компьютерное
Размер
19,41 Kb
Список файлов
1-60.docx
Комментарии
Нет комментариев
Стань первым, кто что-нибудь напишет!
A45162






















