На рисунке показана принципиальная схема гидровакуумного усилителя гидропривода тормозов автомобиля. Давление жидкости, создаваемое в гидроцилиндре 1 благодаря нажатию на ножную педаль с силой Р, передается в левую полость тормозного гидроцилиндра 2.
Описание
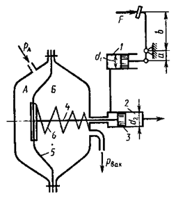
На рисунке показана принципиальная схема гидровакуумного усилителя гидропривода тормозов автомобиля. Давление жидкости, создаваемое в гидроцилиндре 1 благодаря нажатию на ножную педаль с силой Р, передается в левую полость тормозного гидроцилиндра 2. Помимо давления жидкости на поршень 3 в том же направлении действует сила вдоль штока 4, связанного с диафрагмой 5. Последняя отделяет полость A, сообщающуюся с атмосферой, от полости Б, где устанавливается вакуум благодаря соединению ее со всасывающим коллектором двигателя при нажатии на педаль. Пружина 6 при этом действует на диафрагму справа налево с силой Fпр. Определить давление жидкости, подаваемой из правой полости гидроцилиндра 2 к колесным тормозным цилиндрам. Принять: усилие педали F = 200 Н; сила пружины 6 Fпр = 20 Н; давление в полости Б Pвак = 0,06 МПа; диаметры: диафрагмы D=100 мм, гидроцилиндра 1 d1=25 мм и гидроцилиндра 2 d2 = 20 мм; отношение плеч Площадью сечения штока 4 пренебречь.

A45162























