Для студентов по предмету Механика жидкости и газа (МЖГ или Гидравлика)Определить величину, линию действия, угол наклона и глубину центра давления равнодействующей hDравн на полусферическую крышку в плоской вертикальной сОпределить величину, линию действия, угол наклона и глубину центра давления равнодействующей hDравн на полусферическую крышку в плоской вертикальной с
4,9957682
2024-03-052024-03-05СтудИзба
Определить величину, линию действия, угол наклона и глубину центра давления равнодействующей hDравн на полусферическую крышку в плоской вертикальной стенке закрытого резервуара (рис. 3.21), заполненного бензином. Принять: радиус полусферы r, показани
Описание
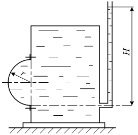
Задача 3.21 (а). Определить величину, линию действия, угол наклона и глубину центра давления равнодействующей hDравн на полусферическую крышку в плоской вертикальной стенке закрытого резервуара (рис. 3.21), заполненного бензином.
Принять: радиус полусферы r, показание пьезометра, выведенного на уровне нижней кромки крышки Н, плотность бензина ρбенз.
Принять: радиус полусферы r, показание пьезометра, выведенного на уровне нижней кромки крышки Н, плотность бензина ρбенз.
Задача 3.21 (а). Определить величину, линию действия, угол наклона и глубину центра давления равнодействующей hDравн на полусферическую крышку в плоской вертикальной стенке закрытого резервуара (рис. 3.21), заполненного бензином. Принять: радиус полусферы r, показание пьезометра, выведенного на уровне нижней кромки крышки Н, плотность бензина ρбенз..
Характеристики решённой задачи
Номер задания
Программы
Просмотров
6
Качество
Идеальное компьютерное
Размер
91,06 Kb
Список файлов
Задача 3.21а.docx

Если работа Вам была полезна, Пожалуйста, потратьте несколько секунд, чтобы оставить нам 5 ЗВЁЗД и положительный отзывы. Мы Вам глубоко признателены!