Для студентов МГУТУ по предмету Механика жидкости и газа (МЖГ или Гидравлика)Определить, на какую высоту поднимется вода в трубке, один конец которой присоединён к суженному сечению трубопровода с d2=40 мм, а другой опущен в воОпределить, на какую высоту поднимется вода в трубке, один конец которой присоединён к суженному сечению трубопровода с d2=40 мм, а другой опущен в во
5,00517967
2024-03-032024-03-03СтудИзба
Определить, на какую высоту поднимется вода в трубке, один конец которой присоединён к суженному сечению трубопровода с d2=40 мм, а другой опущен в воду. Расход воды Q, а избыточное давление в расширенной части трубопро¬вода с диаметром d1=100 мм сос
Описание
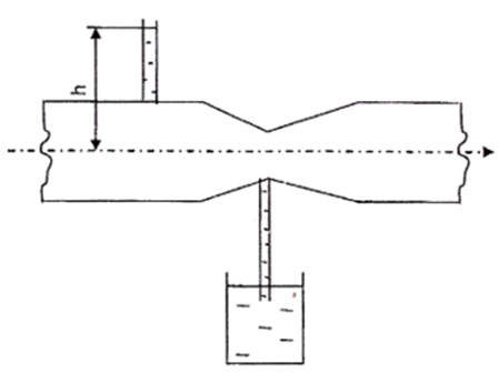
Определить, на какую высоту поднимется вода в трубке, один конец которой присоединён к суженному сечению трубопровода с d2=40 мм, а другой опущен в воду. Расход воды Q, а избыточное давление в расширенной части трубопровода с диаметром d1=100 мм составляет p1=4,9∙104 Па (рис. 18).
Дано:Q=18 л/с.

Файлы условия, демо
Характеристики решённой задачи
Учебное заведение
Номер задания
Вариант
Программы
Просмотров
2
Качество
Идеальное компьютерное
Размер
202,17 Kb
Список файлов
Задача.docx
