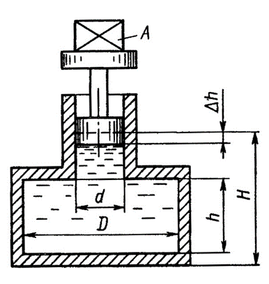
Для студентов ИрГАУ по предмету Механика жидкости и газа (МЖГ или Гидравлика)Для определения модуля объемной упругости жидкости Еж используется установка. Резервуар диаметром D = 300 мм, высотой h = 1,3 м и присоединен-ный к неДля определения модуля объемной упругости жидкости Еж используется установка. Резервуар диаметром D = 300 мм, высотой h = 1,3 м и присоединен-ный к не
5,0056
2023-12-112024-10-22СтудИзба
Для определения модуля объемной упругости жидкости Еж используется установка. Резервуар диаметром D = 300 мм, высотой h = 1,3 м и присоединен-ный к нему гидроцилиндр диаметром d = 80 мм заполнены испытываемой жидкостью так, что начальная высота полож
Описание
Для определения модуля объемной упругости жидкости Еж используется установка. Резервуар диаметром D=300 мм, высотой h=1,3 м и присоединенный к нему гидроцилиндр диаметром d=80 мм заполнены испытываемой жидкостью так, что начальная высота положения поршня (без груза) H=1,5 м. После установки на платформу штока груза массой m=250 кг поршень переместился вниз на расстояние ∆h=5 мм. Вычислить величину модуля объемной упругости жидкости. Весом поршня пренебречь. Резервуар считать абсолютно жестким.

Файлы условия, демо
Характеристики решённой задачи
Учебное заведение
Номер задания
Программы
Теги
Просмотров
35
Качество
Идеальное компьютерное
Размер
111,6 Kb
Список файлов
Задача.docx
