Для студентов по предмету Механика жидкости и газа (МЖГ или Гидравлика)Задача 4-7Задача 4-7
5,00512
2023-03-282024-07-09СтудИзба
Задача 4: Задача 4-7 вариант 7
Описание
Задача (Куколевский И.И.) 4-7


ДЕМО

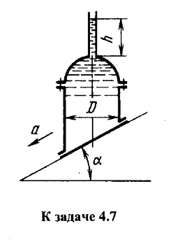
Задача (Куколевский И.И.) 4-7 Определить горизонтальную и вертикальную силы давления на полусферическую крышку цилиндрического сосуда диаметром D = 0,6 м, скользящего с ускорением a = 5 м/с2 по плоскости, наклоненной под углом α = 60 к горизонту, если сосуд заполнен водой до уровня h = 1 м в открытой трубке, присоединенной к верхней точке сосуда. Как изменятся эти силы, если сосуд остановится? Ответ. Рв = 1700Н, Рг = 141 Н. Для неподвижного сосуда Рв = 3050 Н; Рг=0 .
Характеристики решённой задачи
Номер задания
Вариант
Программы
Теги
Просмотров
92
Качество
Идеальное компьютерное
Размер
3,97 Mb
Список файлов
4.7.pdf

Если работа Вам была полезна, Пожалуйста, потратьте несколько секунд, чтобы оставить нам 5 ЗВЁЗД и положительный отзывы. Мы Вам глубоко признателены!