Для студентов по предмету Механика жидкости и газа (МЖГ или Гидравлика)Задача 4-4Задача 4-4
5,0058
2022-12-172024-07-09СтудИзба
Задача 4: Задача 4-4 вариант 4
Описание
👉3 решения (1 в MathCAD Prime, 2 в WORD)!
Задача 4-4 (Куколевский И.И.)
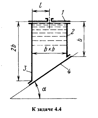
По наклоненной под углом а = 45° к горизонту плоскости под действием силы тяжести скользит призматический сосуд, целиком заполненный водой. Сосуд закрыт крышкой с малым отверстием, расположенным на расстоянии l = 0,5 м от передней стенки. Собственный вес сосуда G=150 кГ, размер b=1 м, коэффициент трения дна сосуда о плоскость скольжения f= 0,278. Найти величины сил давления воды на крышку 1, стенки 2 и 3, дно 4, считая, что жидкость из сосуда не выливается.Ответ. P1=0 Р2=4,9 кН; P3 = 8,98 кН; Р4 =13,3 кН.

ДЕМО
👉Решение №1:

👉Решение №2:

👉Решение №3:

По наклоненной под углом а = 45° к горизонту плоскости под действием силы тяжести скользит призматический сосуд, целиком заполненный водой. Сосуд закрыт крышкой с малым отверстием, расположенным на расстоянии l = 0,5 м от передней стенки. Собственный вес сосуда G=150 кГ, размер b=1 м, коэффициент трения дна сосуда о плоскость скольжения f= 0,278. Найти величины сил давления воды на крышку 1, стенки 2 и 3, дно 4, считая, что жидкость из сосуда не выливается. Ответ. P1=0 Р2=4,9 кН; P3 = 8,98 кН; Р4 =13,3 кН..
Характеристики решённой задачи
Номер задания
Вариант
Программы
Теги
Просмотров
84
Качество
Идеальное компьютерное
Размер
5,45 Mb
Список файлов
4.4.pdf
Задача 4.4.docx

Если работа Вам была полезна, Пожалуйста, потратьте несколько секунд, чтобы оставить нам 5 ЗВЁЗД и положительный отзывы. Мы Вам глубоко признателены!