Для студентов по предмету Механика жидкости и газа (МЖГ или Гидравлика)Задача 1-21Задача 1-21
5,0051
2022-12-142022-12-14СтудИзба
Задача 1: Задача 1-21 вариант 21
-51%
Описание
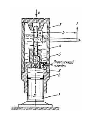
Задача (Куколевский И.И.) 1-21. Гидравлический домкрат состоит из неподвижного поршня 1 и скользящего но нему цилиндра 2, на котором смонтированы корпус 3 (образующий масляную ванну домкрата) и плунжерный насос 4 ручного привода со всасывающим 5 и нагнетательным 6 клапанами.
Определить рабочее усилие R на рукоятке приводного рычага насоса, необходимое для поднятия груза P =12 т, если диаметр поршня домкрата D=200 мм, диаметр плунжера насоса d = 20 мм и плечи приводного рычага а = 60 мм и b = 700 мм. Принять к. п. д. насоса 0,65 и к. п. д. цилиндра 0,9.
Отвгт. R =176 Н.![]()
Определить рабочее усилие R на рукоятке приводного рычага насоса, необходимое для поднятия груза P =12 т, если диаметр поршня домкрата D=200 мм, диаметр плунжера насоса d = 20 мм и плечи приводного рычага а = 60 мм и b = 700 мм. Принять к. п. д. насоса 0,65 и к. п. д. цилиндра 0,9.
Отвгт. R =176 Н.

Характеристики решённой задачи
Номер задания
Вариант
Теги
Просмотров
13
Качество
Идеальное компьютерное
Размер
50 Kb
Список файлов
Задача 1-21.doc

Вам все понравилось? Получите кэшбэк - 40 рублей на Ваш счёт при покупке. Поставьте оценку и напишите положительный комментарий к купленному файлу. После Вы получите деньги на ваш счет.