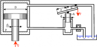
Для студентов по предмету Механика жидкости и газа (МЖГ или Гидравлика)Для проведения опыта по сжатию используют поршневой пресс, имеющий размеры: диаметр цилиндра D = 105 мм, диаметр штока поршня d1 = 55 мм. Насос, управДля проведения опыта по сжатию используют поршневой пресс, имеющий размеры: диаметр цилиндра D = 105 мм, диаметр штока поршня d1 = 55 мм. Насос, управ
5,00518131
2022-06-012022-06-01СтудИзба
Для проведения опыта по сжатию используют поршневой пресс, имеющий размеры: диаметр цилиндра D = 105 мм, диаметр штока поршня d1 = 55 мм. Насос, управляющий прессом, имеет поршень диаметром d = 18 мм и рычаги с размерами a = 100 мм и b = 900 мм. Опре
Описание

Характеристики решённой задачи
Просмотров
2
Качество
Скан печатных листов
Размер
1,23 Mb
Список файлов
1.jpg
