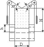
Для студентов НГТУ им. Р.Е. Алексеева по предмету Механика жидкости и газа (МЖГ или Гидравлика)Колокол диаметром D, высотой H и массой m=400кг погружается в открытый резервуар с водой. Суммарная масса удерживающих колокол грузов mгр = 140кг. УгоКолокол диаметром D, высотой H и массой m=400кг погружается в открытый резервуар с водой. Суммарная масса удерживающих колокол грузов mгр = 140кг. Уго
5,00582
2022-04-162022-04-16СтудИзба
Колокол диаметром D, высотой H и массой m=400кг погружается в открытый резервуар с водой. Суммарная масса удерживающих колокол грузов mгр = 140кг. Угол наклона троса к горизонту равен 30°. Давление воздуха в колоколе перед погружением равно атмосферн
Описание

Определить глубину погружения нижней кромки колокола h.
Задача 1-36 Дано: D=0,8 м, H=4,25м, hатм=770 мм.рт.ст.
Характеристики решённой задачи
Учебное заведение
Номер задания
Вариант
Теги
Просмотров
79
Качество
Скан рукописных листов
Размер
3,45 Mb
Список файлов
1.36.JPG

Комментарии

Гамма с индексом в - удельный вес воды.

Что такое гамма b= 9,8 кн/м?