Для студентов НГТУ им. Р.Е. Алексеева по предмету Механика жидкости и газа (МЖГ или Гидравлика)Для быстрого торможения тележки опытного стенда в канал с водой опускается цилиндрический ковш, который отбрасывает струю воды в сторону движения телеДля быстрого торможения тележки опытного стенда в канал с водой опускается цилиндрический ковш, который отбрасывает струю воды в сторону движения теле
5,0052
2022-04-162024-10-01СтудИзба
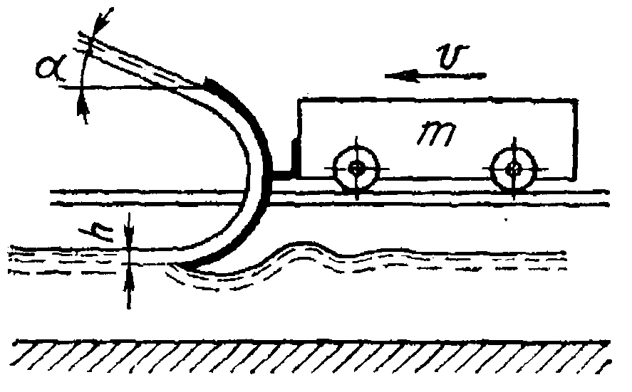
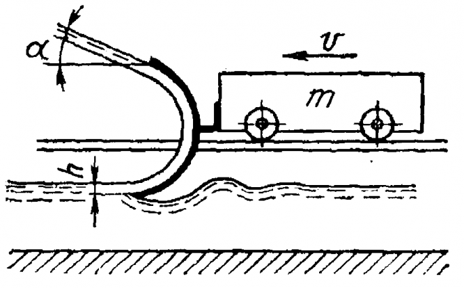
Для быстрого торможения тележки опытного стенда в канал с водой опускается цилиндрический ковш, который отбрасывает струю воды в сторону движения тележки под углом α к горизонту (на схеме изображено относительное обтекание ковша). Определить толщину
Описание
Для быстрого торможения тележки опытного стенда в канал с водой опускается цилиндрический ковш, который отбрасывает струю воды в сторону движения тележки под углом α к горизонту (на схеме изображено относительное обтекание ковша). Определить толщину h струи, которую дол-
жен захватить ковш, чтобы тележке массой 200 кг, имеющей начальную скорость v сообщить начальное замедление a=-10g. Ширина ковша B=20 см. Силой тяжести струи и потерями напора при обтекании ею ковша пренебречь. С какой силой при этом струя будет прижимать тележку к рельсам?
Задача 7-19. Дано: v=50 м/с; α=30º.
![]()
жен захватить ковш, чтобы тележке массой 200 кг, имеющей начальную скорость v сообщить начальное замедление a=-10g. Ширина ковша B=20 см. Силой тяжести струи и потерями напора при обтекании ею ковша пренебречь. С какой силой при этом струя будет прижимать тележку к рельсам?
Задача 7-19. Дано: v=50 м/с; α=30º.

Характеристики решённой задачи
Учебное заведение
Номер задания
Вариант
Теги
Просмотров
17
Качество
Скан печатных листов
Размер
1,25 Mb
Список файлов
7-19.1.jpg
7-19.2.jpg
