Для студентов по предмету Механика жидкости и газа (МЖГ или Гидравлика)Для измерения падения давления в вентиляционной трубе применяется чашечный наклонный микроманометр, наполненный спиртом плотностью ρсп = 0,8 г/см3. НаДля измерения падения давления в вентиляционной трубе применяется чашечный наклонный микроманометр, наполненный спиртом плотностью ρсп = 0,8 г/см3. На
5,0059
2021-11-232021-11-23СтудИзба
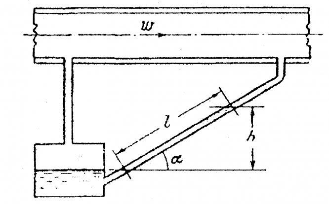
Для измерения падения давления в вентиляционной трубе применяется чашечный наклонный микроманометр, наполненный спиртом плотностью ρсп = 0,8 г/см3. Наклон трубки α= ЗО°. Определить необходимую длину l=? манометрической шкалы для измерения падения да
Описание
Для измерения падения давления в вентиляционной трубе применяется чашечный наклонный микроманометр, наполненный спиртом плотностью ρсп = 0,8 г/см3. Наклон трубки α=ЗО°. Определить необходимую длину l=? манометрической шкалы для измерения падения давления ∆P = 0,001 атм.
Характеристики решённой задачи
Программы
Просмотров
69
Качество
Идеальное компьютерное
Размер
34,89 Kb
Список файлов
