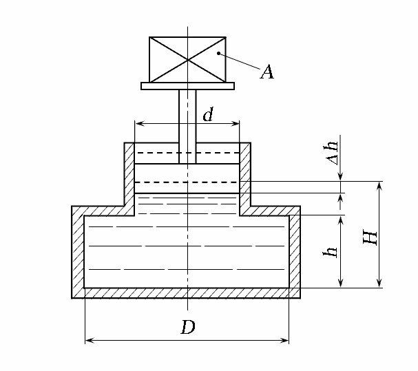
Главная » Учебные материалы » Механика жидкости и газа (МЖГ или Гидравлика) » Решения задач » Несколько классов/семестров » Номер 1 » Вариант 10 » Определить объёмный модуль упругости жидкости, если под действием груза А массой 250 кг поршень прошел расстояние Δh = 5 мм. Начальная высота положения поршня (без груза) H = 1,5 м; диаметр поршня d = 80 мм и резервуара D = 300 мм; высота резервуара
Для студентов по предмету Механика жидкости и газа (МЖГ или Гидравлика)Определить объёмный модуль упругости жидкости, если под действием груза А массой 250 кг поршень прошел расстояние Δh = 5 мм. Начальная высота положениОпределить объёмный модуль упругости жидкости, если под действием груза А массой 250 кг поршень прошел расстояние Δh = 5 мм. Начальная высота положени
5,00516
2024-09-20СтудИзба

Определить объёмный модуль упругости жидкости, если под действием груза А массой 250 кг поршень прошел расстояние Δh = 5 мм. Начальная высота положения поршня (без груза) H = 1,5 м; диаметр поршня d = 80 мм и резервуара D = 300 мм; высота резервуара

Описание

Определить объёмный модуль упругости жидкости, если под действием груза А массой 250 кг поршень прошел расстояние Δh = 5 мм. Начальная высота положения поршня (без груза) H = 1,5 м; диаметр поршня d = 80 мм и резервуара D = 300 мм; высота резервуара h = 1,3 м. Весом поршня пренебречь. Резервуар считать абсолютно жёстким.

В word13.

Характеристики решённой задачи

Номер задания
Вариант
Программы
Просмотров
1640
Качество
Идеальное компьютерное
Размер
74,57 Kb

Список файлов

17499-16646-1518267609-zadacha.docx
Картинка-подпись

Комментарии

Нет комментариев
Стань первым, кто что-нибудь напишет!
Поделитесь ссылкой:
Цена: 50 руб.
Расширенная гарантия +3 недели гарантии, +10% цены
Рейтинг покупателей
5 из 5
Поделитесь ссылкой:
Сопутствующие материалы
На рисунке изображена схема устройства, известного под названием «Геронов фонтан». Трубы А и Б заполнены водой, а труба В - воздухом. Объяснить принцип действия и определить скорость истечения воды из насадка (сопла) этого фонтана, если размеры H1 =
В сосуд высотой Н=0,35м и диаметром D=140мм налили воду до уровня h=0,15м. Определить максимальную частоту с которой должен вращаться сосуд, чтобы вода из него не выплеснулась
Цилиндр радиусом r=25 см и длиной l=100 см перекрывает отверстие в дне резервуара размерами a×b=30×100 см. Определить: силу давления воды на цилиндр при H=3 м, po=pa.
Задача 9-15
Определить расход Q в трубе для подачи воды (вязкость ν = 0,01 Ст, плотность ρ = 1000 кг/м3) на высоту h = 16,5 м, если диаметр трубы d = 10 мм, длина L = 20 м, располагаемый напор в сечении 1 - 1 трубы перед краном Нрасп = 20 м, коэффициент сопротив
На глубине h=185 м под землей в шахте расположен гидромонитор в виде коноидального насадка диаметром d=12 мм. Гидромонитор питается водой от насосной станции, расположенной на поверхности земли. При показаниях манометра рм=2100кПа на трубопроводе в н

Подобрали для Вас услуги

-30%
Проект
700 руб.
-9%
-30%
Вы можете использовать решённую задачу для примера, а также можете ссылаться на неё в своей работе. Авторство принадлежит автору работы, поэтому запрещено копировать текст из этой работы для любой публикации, в том числе в свою задачу в учебном заведении, без правильно оформленной ссылки. Читайте как правильно публиковать ссылки в своей работе.
Свежие статьи
Популярно сейчас
Почему делать на заказ в разы дороже, чем купить готовую учебную работу на СтудИзбе? Наши учебные работы продаются каждый год, тогда как большинство заказов выполняются с нуля. Найдите подходящий учебный материал на СтудИзбе!
Ответы на популярные вопросы
Да! Наши авторы собирают и выкладывают те работы, которые сдаются в Вашем учебном заведении ежегодно и уже проверены преподавателями.
Да! У нас любой человек может выложить любую учебную работу и зарабатывать на её продажах! Но каждый учебный материал публикуется только после тщательной проверки администрацией.
Вернём деньги! А если быть более точными, то автору даётся немного времени на исправление, а если не исправит или выйдет время, то вернём деньги в полном объёме!
Да! На равне с готовыми студенческими работами у нас продаются услуги. Цены на услуги видны сразу, то есть Вам нужно только указать параметры и сразу можно оплачивать.
Отзывы студентов
Ставлю 10/10
Все нравится, очень удобный сайт, помогает в учебе. Кроме этого, можно заработать самому, выставляя готовые учебные материалы на продажу здесь. Рейтинги и отзывы на преподавателей очень помогают сориентироваться в начале нового семестра. Спасибо за такую функцию. Ставлю максимальную оценку.
Лучшая платформа для успешной сдачи сессии
Познакомился со СтудИзбой благодаря своему другу, очень нравится интерфейс, количество доступных файлов, цена, в общем, все прекрасно. Даже сам продаю какие-то свои работы.
Студизба ван лав ❤
Очень офигенный сайт для студентов. Много полезных учебных материалов. Пользуюсь студизбой с октября 2021 года. Серьёзных нареканий нет. Хотелось бы, что бы ввели подписочную модель и сделали материалы дешевле 300 рублей в рамках подписки бесплатными.
Отличный сайт
Лично меня всё устраивает - и покупка, и продажа; и цены, и возможность предпросмотра куска файла, и обилие бесплатных файлов (в подборках по авторам, читай, ВУЗам и факультетам). Есть определённые баги, но всё решаемо, да и администраторы реагируют в течение суток.
Маленький отзыв о большом помощнике!
Студизба спасает в те моменты, когда сроки горят, а работ накопилось достаточно. Довольно удобный сайт с простой навигацией и огромным количеством материалов.
Студ. Изба как крупнейший сборник работ для студентов
Тут дофига бывает всего полезного. Печально, что бывают предметы по которым даже одного бесплатного решения нет, но это скорее вопрос к студентам. В остальном всё здорово.
Спасательный островок
Если уже не успеваешь разобраться или застрял на каком-то задание поможет тебе быстро и недорого решить твою проблему.
Всё и так отлично
Всё очень удобно. Особенно круто, что есть система бонусов и можно выводить остатки денег. Очень много качественных бесплатных файлов.
Отзыв о системе "Студизба"
Отличная платформа для распространения работ, востребованных студентами. Хорошо налаженная и качественная работа сайта, огромная база заданий и аудитория.
Отличный помощник
Отличный сайт с кучей полезных файлов, позволяющий найти много методичек / учебников / отзывов о вузах и преподователях.
Отлично помогает студентам в любой момент для решения трудных и незамедлительных задач
Хотелось бы больше конкретной информации о преподавателях. А так в принципе хороший сайт, всегда им пользуюсь и ни разу не было желания прекратить. Хороший сайт для помощи студентам, удобный и приятный интерфейс. Из недостатков можно выделить только отсутствия небольшого количества файлов.
Спасибо за шикарный сайт
Великолепный сайт на котором студент за не большие деньги может найти помощь с дз, проектами курсовыми, лабораторными, а также узнать отзывы на преподавателей и бесплатно скачать пособия.
Популярные преподаватели
Добавляйте материалы
и зарабатывайте!
Продажи идут автоматически
6864
Авторов
на СтудИзбе
271
Средний доход
с одного платного файла
Обучение Подробнее
{user_main_secret_data}