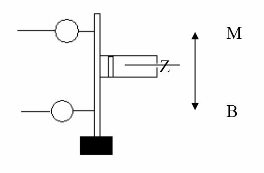
Для студентов по предмету Механика жидкости и газа (МЖГ или Гидравлика)Определите напор насоса, если его объемная подача Qv=20л/с воды, показание вакуумметра Рвак=36 кПа, показание манометра Рман=0,4 МПа, расстояние междуОпределите напор насоса, если его объемная подача Qv=20л/с воды, показание вакуумметра Рвак=36 кПа, показание манометра Рман=0,4 МПа, расстояние между
5,0055
2017-02-252017-02-25СтудИзба
Определите напор насоса, если его объемная подача Qv=20л/с воды, показание вакуумметра Рвак=36 кПа, показание манометра Рман=0,4 МПа, расстояние между приборами z=400 мм, диаметры нагнетательного трубопровода dнг=250 мм, всасывающего dвс=300 мм.
Описание

В word13.
Характеристики решённой задачи
Программы
Просмотров
860
Качество
Идеальное компьютерное
Размер
34,92 Kb
Список файлов
17499-12537-1488053685-zadacha-.docx
