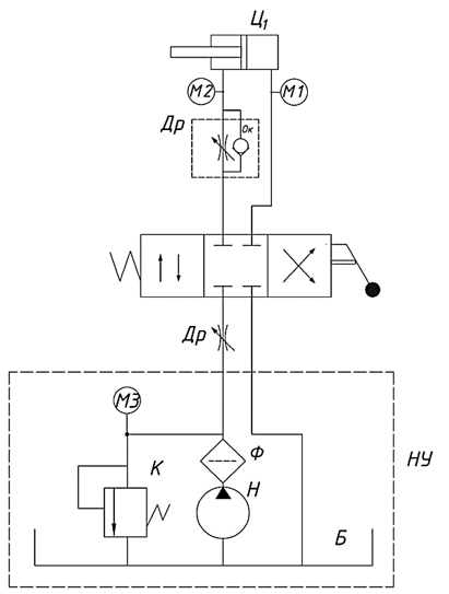
Для студентов МГТУ им. Н.Э.Баумана по предмету Механика жидкости и газа (МЖГ или Гидравлика)Испытание объемного гидропривода с машинным управлением путем регулирования подачи насосаИспытание объемного гидропривода с машинным управлением путем регулирования подачи насоса
5,0054
2022-01-302022-01-30СтудИзба
Лабораторная работа 4: Испытание объемного гидропривода с машинным управлением путем регулирования подачи насоса
Описание
Отчет по ЛР№4 в ворде. Сдан Никитину О.Ф. в 2021 году.
![]()

Характеристики лабораторной работы
Учебное заведение
Номер задания
Просмотров
39
Качество
Идеальное компьютерное
Размер
76,58 Kb
Список файлов
Комментарии
Нет комментариев
Стань первым, кто что-нибудь напишет!
МГТУ им. Н.Э.Баумана
shashlyk


















