Определить эффективность тепловой изоляции теплопроводов двухтруб-ной тепловой сети с диаметром теплопроводов dн, проложенных в каналах КС 210×120 (рисунок 4). Среднегодовая температура сетевой воды в подающем трубопроводе τср1, в обратном τср2. Глуб
Описание
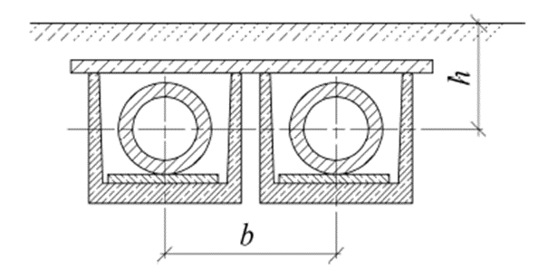
Определить эффективность тепловой изоляции теплопроводов двухтрубной тепловой сети с диаметром теплопроводов dн, проложенных в каналах КС 210×120 (рисунок 4). Среднегодовая температура сетевой воды в подающем трубопроводе τср1, в обратном τср2. Глубина заложения оси теплопроводов h=1,2 м.
Рис. 4 Схема тепловой сети, проложенной в канале
Грунты – суглинки, плотностью 1200 кг/м2 при массовой влажности до 12 %.
Температура грунта t0=3 ºС. Изоляция – маты из стеклянного штапельного волокна на синтетическом связующем марки МС–50, толщиной δиз (с учетом уплотнения), покровный слой из бризола в 2 слоя, δп.с = 0,008 м. Исходные данные по вариантам представлены в таблице 6.
Исходные данные для решения задач 16 и 17
Вариант № п/п | Значения температуры | |||
dн, м | δиз, м | τср1, °C | τср2, °C | |
3 | 0,340 | 0,06 | 84 | 42 |
Характеристики решённой задачи
Список файлов
