Задача 6: Сопряжения вариант 29
Описание
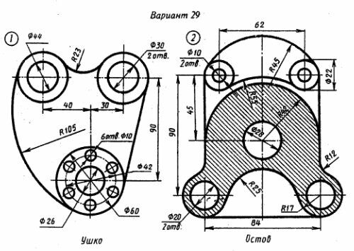
Сопряжения. Вариант 29 ЧЕРТЕЖ
Ушко Вариант 29 ЧЕРТЕЖ
Остов Вариант 29 ЧЕРТЕЖ
Задание 6
Вычертить изображения контуров деталей и нанести размеры.
Чертеж выполнен на формате А3+PDF (все на скриншотах показано и присутствует в архиве) выполнены в КОМПАС 3D.
Также открывать и просматривать, печатать чертежи и 3D-модели, выполненные в КОМПАСЕ можно просмоторщиком КОМПАС-3D Viewer.
Ушко Вариант 29 ЧЕРТЕЖ
Остов Вариант 29 ЧЕРТЕЖ
Задание 6 Вычертить изображения контуров деталей и нанести размеры.
Чертеж выполнен на формате А3+PDF (все на скриншотах показано и присутствует в архиве) выполнены в КОМПАС 3D. Также открывать и просматривать, печатать чертежи и 3D-модели, выполненные в КОМПАСЕ можно просмоторщиком КОМПАС-3D Viewer.
Характеристики решённой задачи
Предмет
Семестр
Номер задания
Вариант
Программы
Просмотров
1
Качество
Идеальное компьютерное
Размер
99,45 Kb
Список файлов
Сопряжения
Сопряжения. Вариант 29.cdw
Сопряжения. Вариант 29.pdf
Комментарии
Нет комментариев
Стань первым, кто что-нибудь напишет!
coolns






















