Для студентов МГТУ им. Н.Э.Баумана по предмету Инженерная графикаСборка 4 - Клапан сетевойСборка 4 - Клапан сетевой
5,0052
2020-06-012020-06-01СтудИзба
ДЗ: Сборка 4 - Клапан сетевой вариант 4
Описание
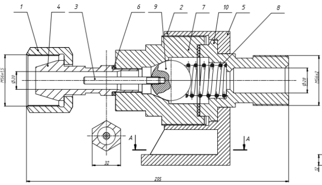
№4- Клапан сетевой( Inventor 16+спецификация, модели всех деталей/сборка)
Проверено Х.Т.Р. Чертёж включает в себя 3 вида.

Характеристики домашнего задания
Предмет
Учебное заведение
Семестр
Вариант
Просмотров
186
Размер
2,22 Mb
Список файлов
Детали
Гайка 6.ipt
Корпус 2.ipt
Направляющая 9.ipt
Ниппель 5.ipt
Основание 1ред.ipt
Прокладка 3.ipt
Прокладка 4.ipt
Пружина 7.ipt
Шарик 10.ipt
Штуцер 8.ipt
Условия
Компоновка_4 (1).pdf
сборка
Spetsifikatsia_1.xls
Сборка.idw
Сборка2.iam