Для студентов МГТУ им. Н.Э.Баумана по предмету ХимияОпределение молярной массы эквивалента металла объемным методомОпределение молярной массы эквивалента металла объемным методом
5,00515
2021-03-012024-08-31СтудИзба
Лабораторная работа 2: Определение молярной массы эквивалента металла объемным методом
-50%
Описание
Определение молярной массы эквивалента металла объемным методом
Цель работы — усвоение понятий эквивалента, молярной массы эквивалента, способов расчета молярных масс эквивалентов веществ; экспериментальное определение эквивалента неизвестного металла объемным методом.Практическая часть
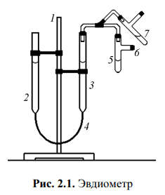
Молярную массу эквивалента металла определяют с помощью прибора, называемого эвдиометром (рис. 2.1). Прибор состоит из штатива 1, на котором закреплены бюретки 2 и 3, соединенные шлангом 4. Бюретки имеют поперечное сечение 1 см2 и градуированы с точностью 0,1 см, причем нулевая отметка находится в верхней части бюретки.

Файлы условия, демо
Характеристики лабораторной работы
Предмет
Учебное заведение
Номер задания
Программы
Просмотров
147
Качество
Идеальное компьютерное
Размер
115 Kb
Список файлов
Определение молярной массы эквивалента металла.doc

Вам все понравилось? Получите кэшбэк - 40 рублей на Ваш счёт при покупке. Поставьте оценку и напишите положительный комментарий к купленному файлу. После Вы получите деньги на ваш счет.