Для студентов МГТУ им. Н.Э.Баумана по предмету ФизикаДинамика вращательного движенияДинамика вращательного движения
5,0055
2013-09-282024-09-01СтудИзба
Задача 2: Динамика вращательного движения вариант 7
-50%
Описание
Задача 2 -2 для вариантов с 7 по 15
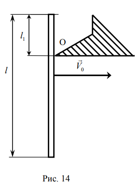
Однородный жёсткий вертикальный стержень длиной l=1 м и М=1 кг, движущийся поступательно в плоскости рисунка с постоянной горизонтальной скоростью V0, налетает на край массивной преграды (рис. 14). После удара стержень вращается вокруг оси O перпендикулярной плоскости рисунка. Ось вращения стержня совпадает с ребром преграды и проходит через точку контакта стержня с преградой, так что точка контакта лежит выше центра тяжести стержня (рис. 14). Потерями механической энергии при вращении стержня после удара пренебречь.
Однородный жёсткий вертикальный стержень длиной l=1 м и М=1 кг, движущийся поступательно в плоскости рисунка с постоянной горизонтальной скоростью V0, налетает на край массивной преграды (рис. 14). После удара стержень вращается вокруг оси O перпендикулярной плоскости рисунка. Ось вращения стержня совпадает с ребром преграды и проходит через точку контакта стержня с преградой, так что точка контакта лежит выше центра тяжести стержня (рис. 14). Потерями механической энергии при вращении стержня после удара пренебречь.


Характеристики решённой задачи
Предмет
Учебное заведение
Семестр
Номер задания
Вариант
Просмотров
3213
Качество
Фото рукописных листов
Размер
3,84 Mb
Список файлов
Динамика вращательного движения.pdf

Вам все понравилось? Получите кэшбэк - 40 рублей на Ваш счёт при покупке. Поставьте оценку и напишите положительный комментарий к купленному файлу. После Вы получите деньги на ваш счет.