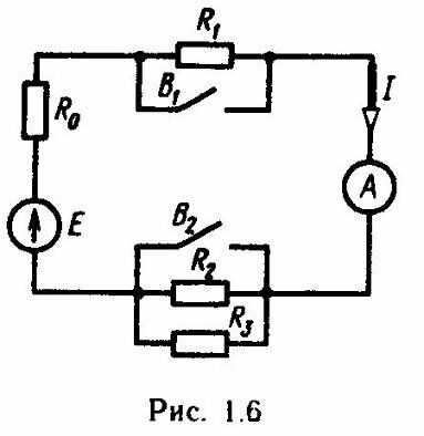
Для студентов по предмету Электротехника (ЭлТех)Определить внутреннее сопротивление R0 и ЭДС Е источника питания (рис. 1.6), если при разомкнутых выключателях В1 и В2 ток, протекающий в цепи ампермеОпределить внутреннее сопротивление R0 и ЭДС Е источника питания (рис. 1.6), если при разомкнутых выключателях В1 и В2 ток, протекающий в цепи амперме
5,0052
2024-06-302024-10-29СтудИзба
Определить внутреннее сопротивление R0 и ЭДС Е источника питания (рис. 1.6), если при разомкнутых выключателях В1 и В2 ток, протекающий в цепи амперметра, I=I1=2 А, а при замкнутом выключателе В, и разомкнутом выключателе В2 ток I=I2=2,5 А. Сопротивл
Описание
Определить внутреннее сопротивление R0 и ЭДС Е источника питания (рис. 1.6), если при разомкнутых выключателях В1и В2 ток, протекающий в цепи амперметра, I=I1=2 А, а призамкнутом выключателе В, и разомкнутом выключателе В2 ток I=I2=2,5 А. Сопротивления резисторов R1=R2=R3=3 Ом.
Характеристики решённой задачи
Предмет
Номер задания
Просмотров
15
Качество
Скан печатных листов
Размер
464,59 Kb
Список файлов
1-6.jpg
