Для студентов по предмету Электротехника (ЭлТех)Решённая задача 9.68Решённая задача 9.68
5,0053
2020-02-062020-02-06СтудИзба
Задача: Решённая задача 9.68
Описание
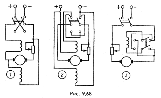
9-68. Какая из схем рис.9.68 не позволяет включить двигатель для прямого и обратного направлений вращения?

Характеристики решённой задачи
Предмет
Просмотров
76
Качество
Идеальное компьютерное
Размер
80,71 Kb
Список файлов
9
9-68.doc
9-68.docx
9.68.doc

Зарабатывай на студизбе! Просто выкладывай то, что так и так делаешь для своей учёбы: ДЗ, шпаргалки, решённые задачи и всё, что тебе пригодилось.
Начать зарабатывать
Начать зарабатывать