Для студентов по предмету Электротехника (ЭлТех)Решённая задача 3.10Решённая задача 3.10
5,0053
2013-10-122013-10-12СтудИзба
Задача: Решённая задача 3.10
Описание
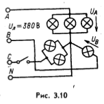
3-10.Р. Каждая фаза приемника энергии цепи рис. 3.10 содержит лампы накаливания, имеющие одинаковые номинальные мощности и напряжения. Определить напряжения UA и UB, когда отключен выключатель и оборван нейтральный провод. Считать, что сопротивления ламп не зависят от тока. Указать правильный ответ.
1. UA = UB = 190 В. 2. UA = 285 В; UB = 95 В. 3. UA = UB = 220 В.
4. UA = 95 В; UB = 285 В.
![]()
1. UA = UB = 190 В. 2. UA = 285 В; UB = 95 В. 3. UA = UB = 220 В.
4. UA = 95 В; UB = 285 В.

Характеристики решённой задачи
Предмет
Просмотров
274
Качество
Идеальное компьютерное
Размер
21,99 Kb
Список файлов
3
3.10 (2).doc
3.10.doc

Зарабатывай на студизбе! Просто выкладывай то, что так и так делаешь для своей учёбы: ДЗ, шпаргалки, решённые задачи и всё, что тебе пригодилось.
Начать зарабатывать
Начать зарабатывать