ДЗ 1: Расчет линейных цепей постоянного тока вариант 17
Описание
Условие:
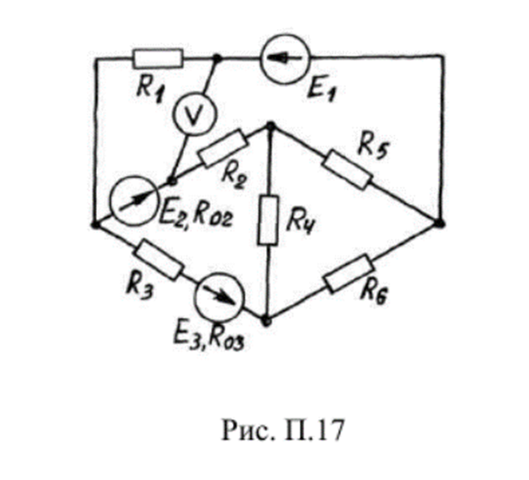
Для заданной схемы (Рис. 1) составить систему уравнений по законам Кирхгофа, подставить в нее числовые значения (Таблица 1), и определить все токи в ветвях схемы.
Записать уравнение баланса мощностей для исходной схемы. Подставить известные числовые значения и оценить относительную погрешность расчета.
Для исходной схемы составить систему уравнений по методу контурных токов, подставить числовые значения и определить все токи в ветвях исходной схемы.
Преобразовать исходную электрическую цепь в эквивалентную, заменив пассивный треугольник резисторов R_4, R_5, R_6 эквивалентной звездой. Рассчитать полученную цепь, используя метод узловых потенциалов. Определить все токи, соответствующие первоначальной схеме.
Определить ток в резисторе R_6 методом эквивалентного генератора.
Определить показание вольтметра, указанного в исходной схеме.
Рассчитать и построить потенциальную диаграмму для внешнего контура исходной схемы.
Сопоставить рассмотренные методы расчета электрических цепей, сделать соответствующие выводы.
![]()
Для заданной схемы (Рис. 1) составить систему уравнений по законам Кирхгофа, подставить в нее числовые значения (Таблица 1), и определить все токи в ветвях схемы.
Записать уравнение баланса мощностей для исходной схемы. Подставить известные числовые значения и оценить относительную погрешность расчета.
Для исходной схемы составить систему уравнений по методу контурных токов, подставить числовые значения и определить все токи в ветвях исходной схемы.
Преобразовать исходную электрическую цепь в эквивалентную, заменив пассивный треугольник резисторов R_4, R_5, R_6 эквивалентной звездой. Рассчитать полученную цепь, используя метод узловых потенциалов. Определить все токи, соответствующие первоначальной схеме.
Определить ток в резисторе R_6 методом эквивалентного генератора.
Определить показание вольтметра, указанного в исходной схеме.
Рассчитать и построить потенциальную диаграмму для внешнего контура исходной схемы.
Сопоставить рассмотренные методы расчета электрических цепей, сделать соответствующие выводы.

Характеристики домашнего задания
Предмет
Учебное заведение
Семестр
Номер задания
Вариант
Просмотров
5
Размер
238,58 Kb
Список файлов
элтех дз 1.docx
Комментарии
Нет комментариев
Стань первым, кто что-нибудь напишет!
МГТУ им. Н.Э.Баумана


















