Для студентов МГТУ им. Н.Э.Баумана по предмету Электротехника (ЭлТех)Домашнее задание №1Домашнее задание №1
2026-01-24СтудИзба

✒️ДЗ 1: Домашнее задание №1 вариант 17

ДЗ 1: Домашнее задание №1 вариант 17
Новинка
-56%

Описание

📌 Решённое домашнее задание №1 подходит для РК6.
Новое 2025-2026 год.

Сдано на отл Белоножко П.П. ✔️
Стараться сдать нужно в числе первых!

Показать/скрыть дополнительное описание

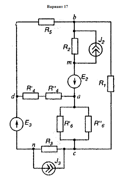
Выполнить эквивалентные преобразования исходной схемы (варианты 1 – 20). Заменить два последовательно соединенных резистивных элемента одним. Заменить два параллельно соединенных резистивных элемента одним. Заменить схемы замещения активных двухполюсников, содержащие идеальный источник тока и внутреннее сопротивление, схемами замещения, содержащими идеальный источник ЭДС и внутреннее сопротивление. Для преобразованной схемы составить уравнения для определения токов ветвей с использованием первого и второго законов Кирхгофа. Представить полученные уравнения в матричной форме. Для преобразованной схемы составить уравнения для определения токов ветвей методом контурных токов.

Представить полученные уравнения в матричной форме. Получить составленную методом контурных токов систему уравнений преобразованием системы уравнений, полученной при выполнении п.2. Для преобразованной схемы составить уравнения для определения потенциалов узлов методом узловых потенциалов. Представить полученные уравнения в матричной форме. Получить составленную методом узловых потенциалов систему уравнений преобразованием системы уравнений, полученной при выполнении п.2. Записать в общем виде выражения для токов ветвей и потенциалов узлов. Допускается использование промежуточных обозначений. Составить уравнение энергетического баланса (для преобразованной и исходной схемы).

Задавая самостоятельно значения параметров исходной схемы (сопротивления резистивных элементов, ЭДС источников и токи источников), написать скрипт, вычисляющий: токи ветвей (решение уравнений п.2); контурные токи (решение уравнений п.3); потенциалы узлов (решение уравнений п.4); мощность, доставляемую в цепь источниками и мощность, потребляемую резисторами (для преобразованной и исходной схемы, п.6). Подтвердить правильность вычислений п.7 непосредственным моделированием средствами подсистемы физического моделирования. Реализовать программно построение потенциальных диаграмм для всех независимых контуров (для преобразованной и исходной схемы).Выполнить эквивалентные преобразования исходной схемы (варианты 1 – 20).

Заменить два последовательно соединенных резистивных элемента одним. Заменить два параллельно соединенных резистивных элемента одним. Заменить схемы замещения активных двухполюсников, содержащие идеальный источник тока и внутреннее сопротивление, схемами замещения, содержащими идеальный источник ЭДС и внутреннее сопротивление. 2. Для преобразованной схемы составить уравнения для определения токов ветвей с использованием первого и второго законов Кирхгофа. Представить полученные уравнения в матричной форме. 3. Для преобразованной схемы составить уравнения для определения токов ветвей методом контурных токов. Представить полученные уравнения в матричной форме.

Получить составленную методом контурных токов систему уравнений преобразованием системы уравнений, полученной в п. 2. 4. Для преобразованной схемы составить уравнения для определения потенциалов узлов методом узловых потенциалов. Представить полученные уравнения в матричной форме. Получить составленную методом узловых потенциалов систему уравнений преобразованием системы уравнений, полученной в п. 2. 5. Выразить токи исходной схемы через токи преобразованной схемы. 6. Составить уравнение энергетического баланса (для преобразованной и исходной схемы). 7. Записать для преобразованной схемы уравнения, полученные в п.п. 2 – 4, с использованием топологических матриц..

Файлы условия, демо

Характеристики домашнего задания

Учебное заведение
Семестр
Номер задания
Вариант
Просмотров
0
Качество
Скан рукописных листов
Размер
3,29 Mb

Преподаватели

Список файлов

photo_1_2026-01-24_12-15-05.jpg
photo_2_2026-01-24_12-15-05.jpg
photo_3_2026-01-24_12-15-05.jpg
photo_4_2026-01-24_12-15-05.jpg
photo_5_2026-01-24_12-15-05.jpg
photo_6_2026-01-24_12-15-05.jpg
photo_7_2026-01-24_12-15-05.jpg
photo_8_2026-01-24_12-15-05.jpg
photo_9_2026-01-24_12-15-05.jpg
photo_10_2026-01-24_12-15-05.jpg
photo_11_2026-01-24_12-15-05.jpg
photo_12_2026-01-24_12-15-05.jpg
photo_13_2026-01-24_12-15-05.jpg
photo_14_2026-01-24_12-15-05.jpg
photo_15_2026-01-24_12-15-05.jpg
Картинка-подпись
Как ты? Как настроение, сердцебиение, пульс, давление? Всё в норме? Работа подошла? Тогда оставь свой отзыв и если есть вопросы, обращайся!)

Комментарии

Нет комментариев
Стань первым, кто что-нибудь напишет!
Поделитесь ссылкой:
Цена: 800 349 руб.
Расширенная гарантия +3 недели гарантии, +10% цены
Рейтинг ждёт первых оценок
0 из 5
Оставьте первую оценку и отзыв!
Поделитесь ссылкой:
Сопутствующие материалы

Подобрали для Вас услуги

-20%
-26%
Вы можете использовать домашнюю работу для примера, а также можете ссылаться на неё в своей работе. Авторство принадлежит автору работы, поэтому запрещено копировать текст из этой работы для любой публикации, в том числе в свою домашнюю работу в учебном заведении, без правильно оформленной ссылки. Читайте как правильно публиковать ссылки в своей работе.
Свежие статьи
Популярно сейчас
А знаете ли Вы, что из года в год задания практически не меняются? Математика, преподаваемая в учебных заведениях, никак не менялась минимум 30 лет. Найдите нужный учебный материал на СтудИзбе!
Ответы на популярные вопросы
Да! Наши авторы собирают и выкладывают те работы, которые сдаются в Вашем учебном заведении ежегодно и уже проверены преподавателями.
Да! У нас любой человек может выложить любую учебную работу и зарабатывать на её продажах! Но каждый учебный материал публикуется только после тщательной проверки администрацией.
Вернём деньги! А если быть более точными, то автору даётся немного времени на исправление, а если не исправит или выйдет время, то вернём деньги в полном объёме!
Да! На равне с готовыми студенческими работами у нас продаются услуги. Цены на услуги видны сразу, то есть Вам нужно только указать параметры и сразу можно оплачивать.
Отзывы студентов
Ставлю 10/10
Все нравится, очень удобный сайт, помогает в учебе. Кроме этого, можно заработать самому, выставляя готовые учебные материалы на продажу здесь. Рейтинги и отзывы на преподавателей очень помогают сориентироваться в начале нового семестра. Спасибо за такую функцию. Ставлю максимальную оценку.
Лучшая платформа для успешной сдачи сессии
Познакомился со СтудИзбой благодаря своему другу, очень нравится интерфейс, количество доступных файлов, цена, в общем, все прекрасно. Даже сам продаю какие-то свои работы.
Студизба ван лав ❤
Очень офигенный сайт для студентов. Много полезных учебных материалов. Пользуюсь студизбой с октября 2021 года. Серьёзных нареканий нет. Хотелось бы, что бы ввели подписочную модель и сделали материалы дешевле 300 рублей в рамках подписки бесплатными.
Отличный сайт
Лично меня всё устраивает - и покупка, и продажа; и цены, и возможность предпросмотра куска файла, и обилие бесплатных файлов (в подборках по авторам, читай, ВУЗам и факультетам). Есть определённые баги, но всё решаемо, да и администраторы реагируют в течение суток.
Маленький отзыв о большом помощнике!
Студизба спасает в те моменты, когда сроки горят, а работ накопилось достаточно. Довольно удобный сайт с простой навигацией и огромным количеством материалов.
Студ. Изба как крупнейший сборник работ для студентов
Тут дофига бывает всего полезного. Печально, что бывают предметы по которым даже одного бесплатного решения нет, но это скорее вопрос к студентам. В остальном всё здорово.
Спасательный островок
Если уже не успеваешь разобраться или застрял на каком-то задание поможет тебе быстро и недорого решить твою проблему.
Всё и так отлично
Всё очень удобно. Особенно круто, что есть система бонусов и можно выводить остатки денег. Очень много качественных бесплатных файлов.
Отзыв о системе "Студизба"
Отличная платформа для распространения работ, востребованных студентами. Хорошо налаженная и качественная работа сайта, огромная база заданий и аудитория.
Отличный помощник
Отличный сайт с кучей полезных файлов, позволяющий найти много методичек / учебников / отзывов о вузах и преподователях.
Отлично помогает студентам в любой момент для решения трудных и незамедлительных задач
Хотелось бы больше конкретной информации о преподавателях. А так в принципе хороший сайт, всегда им пользуюсь и ни разу не было желания прекратить. Хороший сайт для помощи студентам, удобный и приятный интерфейс. Из недостатков можно выделить только отсутствия небольшого количества файлов.
Спасибо за шикарный сайт
Великолепный сайт на котором студент за не большие деньги может найти помощь с дз, проектами курсовыми, лабораторными, а также узнать отзывы на преподавателей и бесплатно скачать пособия.
Популярные преподаватели
Добавляйте материалы
и зарабатывайте!
Продажи идут автоматически
6986
Авторов
на СтудИзбе
262
Средний доход
с одного платного файла
Обучение Подробнее
{user_main_secret_data}