Рыба Аньки Гончаровой (990033)
Текст из файла
МОСКОВСКИЙ ЭНЕРГЕТИЧЕСКИЙ ИНСТИТУТ
(ТЕХНИЧЕСКИЙ УНИВЕРСИТЕТ)
ИЭТ
ФЭМАЭК
СПЕКТРОСКОПИЧЕСКИЕ ИССЛЕДОВАНИЯ
МОНОКРИСТАЛЛОВ Y3Al5012:Nd3+, YAIO3:Nd3+.
СНЯТИЕ СПЕКТРОВ ЛЮМИНЕСЦЕНЦИИ
Выполнила студентка
группы ЭЛ-15-02
Гончарова А.С.
Проверил:
Антонов В.А.
Москва 2006г.
СПЕКТРОСКОПИЧЕСКИЕ ИССЛЕДОВАНИЯ МОНОКРИСТАЛЛОВ Y3Al5012:Nd3+, YAIO3:Nd3+. СНЯТИЕ СПЕКТРОВ ЛЮМИНЕСЦЕНЦИИ
Задание.
Ознакомиться со спектральной техникой регистрации спектров люминесценции и поглощения монокристаллов. Построить энергетическую диаграмму примесного центра иона неодима на основе комбинационного принципа.
Описание установки.
Блок-схема установки для снятия спектров люминесценции приведена на рис. 1.1. Основой системы является спектрометр ДФС-12 с дифракционной решеткой с 600 штрихов/мм, обеспечивающей линейную дисперсию в спектральной области 360-1300 нм — 5 А/мм, на схеме он обозначен цифрой 7. В качестве источника возбуждения люминесценции используется лампа типа ДКСШ-500, которая располагается так, чтобы излучение лампы возбуждения, имеющей линейчатый спектр, не попадало в щель спектрального прибора. Излучение источника 1, питающегося от блока питания источника (по схеме — БПИ) с помощью конденсатора 2 проектируется на кристалл 4, который располагается в криостате 3. С помощью фильтра 5 из спектра излучения источника «вырезается» участок, несущий основную часть энергии источника и находящийся в синей, фиолетовой и ультрафиолетовой областях спектра. Конденсатором 6 и поворотным зеркалом 8 излучение люминесценции исследуемого монокристалла и отраженное от него излучение лампы проецируется на входную щель спектрального прибора 7.
Рнс. 1.1. Блок-схема установки для снятия спектров люминесценции
Порядок снятия спектров. Описание последовательности действий экспериментатора.
Оптическая схема спектрометра показана на рис.1.2. Входная щель 1 прибора расположена в фокальной плоскости зеркального параболического объектива, свет на который направляется от щели плоским поворотным зеркалом 2. Перед входной щелью прибора помещается красный фильтр, отсекающий проходящую составляющую источника излучения и пропускающий излучение люминесценции кристалла в красном участке спектра. Объектив 3, представляющий собой параболическое зеркало, направляет параллельный пучок на дифракционную решетку 4. Диспергированный свет собирается объективом 5, в фокальной плоскости которого помещается средняя щель 6. Монохроматический свет, пройдя среднюю щель, направляется объективом 9 и поворотным зеркалом 10 на выходную щель 11.
Обе дифракционные решетки 4 и 8 установлены на одном столе и одновременно поворачиваются вокруг вертикальной оси от синхронного электродвигателя. Привод является реверсивным. Включение поворота решетки и реверса осуществляется тумблерами на передней панели спектрометра ДФС-12. Там же со шкалы барабана осуществляется считывание длин волн светового потока на выходной щели 11 спектрометр. Стрелкой на оптической схеме указана оптическая ось прибора. Из выходной щели выходит только тот узкий участок спектра, который проходит через прибор по его оптической оси.
Рнс 1 2 Оптическая схема спектрометра ДФС-12
Пройдя выходную щель, световой поток попадает в регистрационный блок, где световой поток преобразуется в электрический сигнал, интенсивность которого пропорциональна интенсивности падающего па него светового потока. В зависимости от диапазона длин волн, в котором происходит запись спектра люминесценции, используются либо (для диапазона 360—600 нм), либо ФЭУ-GI (для 'диапазона длин воли 600 —1200 нм), либо фотосопротивление Р — в диапазоне 1200—2600 нм. Питание ФЭУ (фотоэлектронных умножителей) осуществляется от стабилизированного высоковольтного выпрямителя ВС-22, а фотосопротивления — от универсального источника питания УИП-2.
С блока регистрации сигнал подается на узкополосныи резонансный усилитель У2-6. Электрический сигнал усиливается по принципу синхронного детектирования. Для осуществления этого принципа используется механический модулятор света, который формирует люминесцентное излучение монокристалла, попадающее в спектрометр, в переменный световой сигнал. Этот же модулятор формирует опорный переменный сигнал, усиливаемый далее узкополосным усилителем В6-4.
Полезный сигнал с усилителя У2-6 и опорный с усилителя В6-4 подаются на синхронный детектор К3-2. В последнем происходит демодуляция и интегрирование полезного сигнала, на выходе синхронного детектора включен самописец КСП-4.
Использование принципа синхронного детектирования дает возможность отсеивать шумы и помехи по частоте и по фазе, что в конечном итоге позволяет записывать полезные сигналы ниже уровня шумов фотоприемников.
Для снятия спектров люминесценции монокристаллов при низких температурах образец помещается в сосуд Дьюара с оптическими входом и выходом.
Спектры люминесценции и поглощения с пронумерованными пиками.
Таблицы энергий переходов.
| № пика | λ, нм | Е, см-1 |
| 1 | 869 | 11510 |
| 2 | 875 | 11430 |
| 3 | 879 | 11380 |
| 4 | 884 | 11310 |
| 5 | 885 | 11300 |
| 6 | 891 | 11220 |
| 7 | 893 | 11200 |
| 8 | 899 | 11120 |
| № пика | λ, нм | Е, см-1 |
| 1 | 875 | 11430 |
| 2 | 879 | 11380 |
| 3 | 885 | 11300 |
| 4 | 884 | 11310 |
| 5 | 891 | 11220 |
| 6 | 893 | 11200 |
| 7 | 899 | 11120 |
| 8 | 939 | 10650 |
| 9 | 946 | 10570 |
| № пика | λ, нм | Е, см-1 |
| 1 | 1052 | 9510 |
| 2 | 1055 | 9480 |
| 3 | 1061 | 9430 |
| 4 | 1064 | 9400 |
| 5 | 1064.5 | 9390 |
| 6 | 1068 | 9360 |
| 7 | 1073 | 9320 |
| 8 | 1078 | 9280 |
| 9 | 1106 | 9040 |
| 10 | 1112 | 8990 |
| 11 | 1116 | 8960 |
| 12 | 1123 | 8910 |
Разностные диагональные таблицы.
| Е,см-1 | 11510 | 11430 | 11380 | 11310 | 11300 | 11220 | 11200 | 11120 |
| 11510 | 0 | 80 | 130 | 200 | 210 | 290 | 310 | 390 |
| 11430 | - | 0 | 50 | 120 | 130 | 210 | 230 | 310 |
| 11380 | - | - | 0 | 70 | 80 | 160 | 180 | 260 |
| 11310 | - | - | - | 0 | 10 | 90 | 110 | 190 |
| 11300 | - | - | - | - | 0 | 80 | 100 | 180 |
| 11220 | - | - | - | - | - | 0 | 20 | 100 |
| 11200 | - | - | - | - | - | - | 0 | 80 |
| 11120 | - | - | - | - | - | - | - | 0 |
| Е,см-1 | 11430 | 11380 | 11310 | 11300 | 11220 | 11200 | 11120 | 10650 | 10570 |
| 11430 | 0 | 50 | 120 | 130 | 210 | 230 | 310 | 780 | 860 |
| 11380 | - | 0 | 70 | 80 | 160 | 180 | 260 | 730 | 810 |
| 11310 | - | - | 0 | 10 | 90 | 110 | 190 | 660 | 740 |
| 11300 | - | - | - | 0 | 80 | 100 | 180 | 650 | 730 |
| 11220 | - | - | - | - | 0 | 20 | 100 | 570 | 650 |
| 11200 | - | - | - | - | - | 0 | 80 | 550 | 630 |
| 11120 | - | - | - | - | - | - | 0 | 470 | 550 |
| 10650 | - | - | - | - | - | - | - | 0 | 80 |
| 10570 | - | - | - | - | - | - | - | - | 0 |
| Е,см-1 | 9510 | 9480 | 9430 | 9400 | 9390 | 9360 | 9320 | 9280 | 9040 | 8990 | 8960 | 8910 |
| 9510 | 0 | 30 | 80 | 110 | 120 | 150 | 190 | 230 | 470 | 520 | 550 | 600 |
| 9480 | - | 0 | 50 | 80 | 90 | 120 | 160 | 200 | 440 | 490 | 520 | 570 |
| 9430 | - | - | 0 | 30 | 40 | 70 | 110 | 150 | 390 | 440 | 470 | 520 |
| 9400 | - | - | - | 0 | 10 | 40 | 80 | 120 | 360 | 410 | 440 | 490 |
| 9390 | - | - | - | - | 0 | 30 | 70 | 110 | 350 | 400 | 430 | 480 |
| 9360 | - | - | - | - | - | 0 | 40 | 80 | 320 | 370 | 400 | 450 |
| 9320 | - | - | - | - | - | - | 0 | 40 | 280 | 330 | 360 | 410 |
| 9280 | - | - | - | - | - | - | - | 0 | 240 | 290 | 320 | 370 |
| 9040 | - | - | - | - | - | - | - | - | 0 | 50 | 80 | 130 |
| 8990 | - | - | - | - | - | - | - | - | - | 0 | 30 | 80 |
| 8960 | - | - | - | - | - | - | - | - | - | - | 0 | 50 |
| 8910 | - | - | - | - | - | - | - | - | - | - | - | 0 |
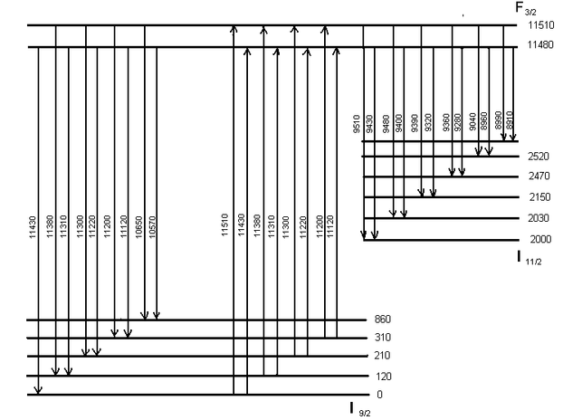
Схема энергетических уровней
Выводы:
Характеристики
Тип файла документ
Документы такого типа открываются такими программами, как Microsoft Office Word на компьютерах Windows, Apple Pages на компьютерах Mac, Open Office - бесплатная альтернатива на различных платформах, в том числе Linux. Наиболее простым и современным решением будут Google документы, так как открываются онлайн без скачивания прямо в браузере на любой платформе. Существуют российские качественные аналоги, например от Яндекса.
Будьте внимательны на мобильных устройствах, так как там используются упрощённый функционал даже в официальном приложении от Microsoft, поэтому для просмотра скачивайте PDF-версию. А если нужно редактировать файл, то используйте оригинальный файл.
Файлы такого типа обычно разбиты на страницы, а текст может быть форматированным (жирный, курсив, выбор шрифта, таблицы и т.п.), а также в него можно добавлять изображения. Формат идеально подходит для рефератов, докладов и РПЗ курсовых проектов, которые необходимо распечатать. Кстати перед печатью также сохраняйте файл в PDF, так как принтер может начудить со шрифтами.















