Лабораторная работа №14 (989687), страница 2
Текст из файла (страница 2)
Для защиты населения от СВЧ излучения телецентров, радиопередающих центров, радиолокационных станций организуются санитарно - защитные зоны.
Защита ограничением времени пребывания человека в рабочей зоне используется при отсутствии других возможностей снизить интенсивность излучения до допустимого уровня.
К коллективным мерам защиты относятся экранирование аппаратуры, источников излучения и производственных помещений, использование радио - поглощающих покрытий. Конструкция дверей шкафов с аппаратурой, смотровых и вентиляционных отверстий, фланцевых соединений волноводных линий передачи СВЧ мощности должна обеспечивать безопасность персонала от воздействия излучения. В производственных помещениях для защиты персонала используются сплошные экраны, полностью окружающие источник излучения, а также экраны - ширмы, защищающие рабочее место. Конструкции экранов и используемые материалы должны обеспечивать надежную защиту персонала от облучения, не нарушая нормальной работы аппаратуры. Степень ослабления экрана определяется материалом конструкции и зависит от частоты излучения. Экранирующее действие применяемых материалов основано на поглощении части проходящей через них энергии (композиционные материалы), либо на отражающих и поглощающих свойствах (металлы).
Наилучшими экранирующими свойствами обладают сплошные металлические экраны из меди, алюминия. Толщина экрана в мкм, которая ослабляет плотность потока СВЧ энергии в e-2 8 раз, называется скин-слоем:
здесь: - проводимость металла, Мсм/м (для меди = 58 МСм/м, для алюминия = 35 МСм/м), f - частота СВЧ сигнала, МГц, - магнитная проницаемость.
Ослабление потока СВЧ мощности для сплошного металлического экрана толщиной d вычисляется по следующим формулам:
-общий случай:
где R2 = 1/ - активная составляющая волнового сопротивления металла экрана. Для более частных случаев расчеты упрощаются:
-для тонкого экрана, d < 0,5:
-для толстого экрана, d > 2:
В
Таблица 3
| d, мкм | , дБ |
| 0,5 | -74,7 |
| 2,0 | -87,0 |
| 20 | -161,5 |
Экранирующими свойствами обладают металлические сетки. Их преимущество состоит в том, что они просматриваются, вентилируются. Для расчета ослабления поля сетчатыми экранами при нормальном падении волны и направлении вектора электрической напряженности параллельно проволокам сетки одного из направлений можно пользоваться формулой:
где: b - шаг сетки (размер ячейки),
D - диаметр проволоки сетки,
- длина волны СВЧ излучения.
В случаях, когда экраны могут исказить распределение поля и нарушить нормальную работу радиоустановки (например, при измерении характеристик антенн), должны применяться радиопоглощающие экраны и покрытия. В радиотехнической практике применяются радиопоглощающие покрытия на основе проводящей резины, пенополиуретана (поролона), пенополистирола (пенопласта) с электропроводящими добавками. Для уменьшения коэффициента отражения поверхность таких покрытий делается гофрированной или пористой.
Для защиты персонала в зоне облучения конструкция зданий должна обеспечивать достаточное ослабление электромагнитных волн. В этом отношении наилучшими являются железобетонные стены. Кирпичные и деревянные стены ослабляют СВЧ излучение слабее. Кирпичная стена толщиной 70 см ослабляет излучение сантиметрового диапазона волн на 20 дБ. Наличие окон существенно снижает экранирующее действие стен. Тем не менее, окно с двойным остеклением ослабляет излучение на 6 - 7 дБ. Для защиты населенных пунктов от мощных радиостанций используют лесонасаждения, обеспечивающие затухание от 3 до 10 дБ.
Индивидуальные средства защиты используются в тех случаях, когда организационные и коллективные меры защиты оказываются недостаточными. К индивидуальным средствам защиты относятся: защитная одежда из специальной ткани с металлическими нитями и защитные очки с металлической сеткой или стеклом, покрытым светопроводящим слоем металла. Защитная одежда и очки должны обеспечивать ослабление поля в СВЧ диапазона на 20 - 30 дБ.
Для контроля уровня излучения в производственных помещениях используются разработанные специально для этих целей приборы ПО-1 ПЗ-9, ПЗ-19, ПЗ-20, позволяющие измерять в диапазоне до 300 МГц напряженность электрического и магнитного полей, а на более высоких частотах плотность потока энергии.
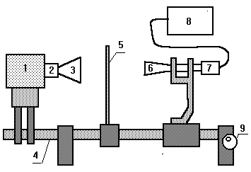
Рис.1 Схема измерительной установки
1 - Генератор на диоде Ганна, 2 - ферритовый вентиль, 3 - излучающая антенна, 4 -выдвижная штанга, 5 - экран, 6 - приемная антенна, 7 - термисторный преобразователь, 8 - термисторный мост, 9 - рукоятка для перемещения приемной антенны
Описание лабораторнойустановки и приборов
Схема лабораторной установки представлена на рис.1. Исследования проводятся в 3-х сантиметровом диапазоне волн СВЧ. Сигнал СВЧ от генератора на диоде Ганна 1 через ферритовый вентиль 2 излучается через рупорную антенну 3. Вся конструкция укреплена на выдвижной штанге 4.
Включение генератора осуществляется тумблером "сеть" на источнике питания. При этом вольтметр на передней панели прибора должен показывать напряжение на диоде Ганна равное 8,5 В.
Измерение плотности потока энергии СВЧ излучения производится прибором ПЗ-9. Он включает в себя измерительную приемную антенну 6, термисторную головку 7 и измеритель мощности 8. Расстояние между излучающей и приемной антеннами может изменяться с помощью ходового винта, вращаемого рукояткой 9 и посредством выдвижной штанги 4. Между излучающей и приемной антеннами могут располагаться защитные экраны 5 различных типов: из фанеры; фанеры, покрытой слоем резины; из радиопоглощающего материала ХВ4, из металлической сетки.
Рис.2 Передняя панель прибора П3-9
Прибор ПЗ-9 предназначен для измерения мощности и плотности потока энергии СВЧ излучения в диапазоне от 300 МГц до 37,5 ГГц. В его комплект входят несколько сменных измерительных антенн различных диапазонов волн, соответствующие им термисторные преобразователи и термисторный мост Я2М-20А. В данной установке используется рупорная антенна П6-17А и термисторный преобразователь М5-38 с рабочим диапазоном частот 5,64-16,7 ГГц.Прибор ПЗ-9 работает следующим образом. СВЧ излучение улавливается приемной антенной и подается на термисторный преобразователь, с помощью которого производится измерение мощности. Внешний вид передней панели прибора показан на рис.2.
Упрощенная принципиальная схема представлена на рис.3. Основой измерительной схемы является двойной уравновешенный мост. На диагональ внешнего моста М1 подается постоянное напряжение от источников Е1 и Е2 включенных таким образом, что токи от них, через термистор текут во встречных направлениях. Кроме этого, на термистор подается переменное напряжение частотой 50 кГц от генератора Г1 для подогрева термистора, чтобы его сопротивление поддерживалось постоянным независимо от температуры окружающей среды.
Рис.3. Упрощенная принципиальная схема термисторного моста
В процессе подготовки прибора к работе перед измерением СВЧ мощности осуществляется калибровка и начальный баланс двойного моста. Для этого к термистору подводится постоянное напряжение от источника Е1 и переменное напряжение от генератора Г. Сначала ручкой калибровка ток через термистор от источника Е1 устанавливается таким образом, чтобы на термисторе выделялась постоянная мощность 5,5 мВт. Затем в режиме начальный баланс ручкой баланс регулируется напряжение подогрева термистора от ВЧ генератора с таким расчетом, чтобы его сопротивление RT стало равным 240 Ом, для этого термистор включен в одно из плеч моста М2, который при требуемом значении должен быть сбалансированным. Индикатором баланса моста является измерительный прибор ИП1, включенный в диагональ моста Все остальные резисторы схемы отрегулированы таким образом, что мост М1 при этом также оказывается сбалансированным.При подаче СВЧ энергии сопротивление термистора изменяется и мосты оказываются разбалансированными, что регистрируется прибором ИП1. Переключатель рода работ прибора переводится в положение «баланс измерений». При этом включается источник компенсации Е, ток которого уменьшает мощность постоянного тока, рассеиваемую в термисторе, т.к. токи от источников Е1 и Е2 направлены навстречу друг другу. Ток от источника Е2 устанавливается таким, чтобы снова сбалансировать мост, но уже при включенном источнике СВЧ энергии. После этого тумблер измерительный прибор переводится в положение отсчет и прибором ИП2 измеряется ток от источника Е2. Однозначная функциональная связь между измеряемой мощностью и током через термистор от источника компенсации Е2, соответствующим вторичному балансу моста позволяет проградуировать шкалу измерительного прибора в значениях измеряемой мощности.
Для определения плотности потока энергии необходимо измеренную мощность Р разделить на эффективную поверхность приемной антенны:
ППЭ = Ризм/S
Эффективная поверхность, используемой в данной работе приемной антенны П6-17А, равна 10 см2.
Указания по технике безопасности
При работе с данной установкой следует соблюдать следующие правила:
1. СВЧ генератор включать только на время выполнения измерений.
2. Не располагаться напротив излучающей рупорной антенны.
3. Не заглядывать внутрь антенны при включенном генераторе.
4. Все манипуляции руками в промежутке между антеннами производить при выключенном генераторе.
5. В случае обнаружения неисправности немедленно выключить аппаратуру и сообщить об этом преподавателю.
Порядок проведения работы
-
Подготовить прибор ПЗ-9 к работе. Для этого перед включением его в сеть обе ручки потенциометра “измерение” поставить в крайнее левое положение; переключатель “род работы” - в положение выкл. Тумблер “баланс” поставить в положение грубо. Тумблер “измер. прибор” в положение баланс. Переключатель “W” поставить в положение 5000, переключатель сопротивления термистора на задней панели прибора в положение 240, раскрыв измерительной антенны закрыть крышкой.
2. Включить прибор ПЗ-9 в сеть тумблером на задней стенке и дать прогреться 10 мин.
-
Поставить переключатель “род работы” в положение "калибр", ручкой “калибровка” (при регулировании нажать на эту ручку) установить стрелку прибора на правый край шкалы.
4. Поставить переключатель “род работы” в положение "нач. баланс". Установить тумблер “баланс” в положение “грубо” и произвести регулировку установкой стрелки прибора на ноль. Переключить тумблер “баланс” в положение “точно” и произвести точную регулировку установкой стрелки прибора на ноль.
5. Установить расстояние между излучающей и приемной антеннами 20 см. Экран между антеннами не ставить. Открыть крышку на раскрыве приемного рупора. Включить СВЧ генератор двумя тумблерами на передней панели блока питания генератора. Стрелка прибора должна отклониться, что свидетельствует о наличии сигнала СВЧ.
6. Переключатель рода работы поставить в положение "бал. измер". Ручкой “измерение” установить стрелку прибора на нулевое положение. Поставить тумблер "измер. прибор" в положение "отсчет". Снять показания прибора по нижней шкале прибора 5mW. Рассчитать значение ППЭ, полагая эффективную поверхность приемной антенны равной 10 см2. Результаты занести в табл.4.
7. Установить между антеннами один из защитных экранов. Повторить измерение ППЭ, для чего снова поставить тумблер "измер. приборов" в положение "баланс", после чего повторить действия согласно пп.6,7.
8. Повторить измерения ППЭ с экранами других типов. Результаты занести в табл.4.
9. Рассчитать ослабление поля, создаваемое экранами различных типов, используя для этого формулу
= - 10lg(ППЭ с экраном/ ППЭ без экрана)
















