записка Шурховецкий (987023), страница 2
Текст из файла (страница 2)
Механизм автоматической смены инструмента состоит из инструментального магазина и автооператора с приводом. Механизм удобно расположен для обслуживания, время смены инструмента составляет около 5 с.
Цикл смены инструмента (рис. 5). Магазин во время обработки подает инструмент в позицию загрузки-выгрузки. Автооператор поворачивается, захватывает инструмент, выносит его из магазина и опрокидывается до положения, когда оси шпинделя и инструмента параллельны (рис. 5, а—д). Гильза и шпиндельная головка перемещаются в крайнее верхнее положение, контролируемое микропереключателями; шомпол отжимает инструмент, но он остается пока в байонетном замке. Автооператор захватывает отработавший инструмент (рис. 5, е), в этот момент начинает
вращаться шомпол и инструмент освобождается из замка, автооператор движением вниз извлекает инструмент из шпинделя. Затем автооператор поворачивается на 180° и вставляет очередной инструмент в шпиндель (рис. 5, ж—и). Далее автооператор совершает все движения в обратной последовательности, вставляя отработавший инструмент в свое гнездо.
Компоновка, основные узлы и движения в станке
Станок имеет вертикальную компоновку, аналогичную координатно-расточному станку. На станине А (рис. 1) закреплена стойка Б. В верхней части стойки размещен привод главного движения – вращения шпинделя и редуктор подач гильзы шпинделя. По вертикальным направляющим стойки перемещается шпиндельная головка Г (подача по оси Z). На стойке укреплен магазин В на 30 инструментов. Станок оснащен крестовым координатным столом Д. По горизонтальным направляющим станины перемещаются в поперечном направлении салазки (подача по оси Y’), а в продольном направлении по направляющим салазок – стол (подача по оси X’).
Рис. 1. Общий вид станка мод. 243ВМФ2
Техническая характеристика станка
| Наибольший диаметр сверления | 25 мм |
| Наибольший диаметр растачивания | 160 мм |
| Число инструментов в магазине | 30 |
| Число частот вращения шпинделя | 21 |
| Пределы частот вращения шпинделя | 40–2500 об/мин |
| Число ступеней подач | 30 |
| Пределы подач по осям координат X', Y’, Z | 3,15–2500 мм/мин |
| Скорость быстрого перемещения по осям координат X', Y’, Z | 3000 мм/мин |
3. Напольный промышленный робот
Многоцелевые промышленные роботы (ПР) типа «Универсал 5» применяются для автоматизации погрузочно-разгрузочных работ, обслуживания различного технологического оборудования, межоперационного и межстаночного транспортирования объектов обработки и выполнения других вспомогательных операций.
3.1. Техническая характеристика робота
| Грузоподъемность | 5 кг |
| Число степеней подвижности | 6 |
| Наибольшая величина перемещения: | |
| – вокруг вертикальной оси I–I | 340 |
| – вдоль оси I-I | 400 мм |
| – вдоль горизонтальной оси III–III | 630 мм |
| – вокруг вертикальной оси II–II | 240 |
| – вокруг оси III–III | 180 |
| – вокруг оси IV–IV | 180 |
| Наибольшая скорость: | |
| – вокруг оси I–I поворота. | 84 град/с |
| – вертикального хода руки вдоль оси I–I | 0.27 м/с |
| – выдвижение руки вдоль оси III–III | 1.08 м/с |
| – поворота руки вокруг оси II–II | 132 град/c |
| Точность позиционирования | 1 мм |
| Масса | 690 кг |
3.2. Основные механизмы робота
Рис. 5. Общий вид промышленного робота «Универсал 5.02»
Общий вид робота приведен на рисунке 5. Исполнительным механизмом ПР является манипулятор, который обеспечивает установку в пределах рабочей зоны захватного механизма схвата. Манипулятор имеет четыре степени подвижности руки 1 в сферической системе координат, которые реализуются механизмами: поворота 2 относительно оси II–II, выдвижения руки 3 вдоль оси III–III, поворота руки 4 относительно вертикальной оси I–I, подъема руки 5 вдоль оси I–I. Две ориентирующие степени подвижности рабочего органа-схвата 7 создают механизмы вращения кисти руки 6 относительно ее продольной оси III–III и поперечной оси IV–IV. Подвижные механизмы манипулятора защищены от попадания пыли, грязи и масла ограждением 8.
Установочные перемещения руки осуществляются с помощью электромеханических следящих приводов, а ориентирующие движения кисти руки и зажим-разжим схвата – пневмоцилиндрами.
Пневмоблок 9, которым комплектуется ПР, предназначен для подготовки, регулирования подачи сжатого воздуха из заводской сети и блокирования работы манипулятора при падении давления ниже допустимого.
Блок тиристорных электроприводов 10 формирует управляющие напряжения в якорной цепи электродвигателей постоянного тока.
Устройство программного управления 11 позиционного типа имеет возможность записи программы в режиме обучения (по первому циклу) и формирует управляющие сигналы на блок 10, а также технологические команды управления циклом работы манипулятора и обслуживаемого оборудования.
Блоки тиристорного электропривода ЭПТ6-У5.02 обеспечивают управление в следящем режиме электродвигателями постоянного тока типа СЛ-569 и СЛ-661, установленными в механизмах четырех программируемых степеней подвижности манипулятора.
Механизмы электроприводов включают в себя зубчатые или червячные редукторы, параметры которых, даны в кинематической схеме. Обратная связь исполнительных механизмов манипулятора по положению, и скорости осуществляется потенциометрическими датчиками типа ППМЛ, приводящимися с помощью зубчатых редукторов и тахогенераторов типа СЛ-121, которые приводятся в движение специальными зубчатыми или ременными механизмами.
Также пневмоблок предназначен для циклового управления двумя ориентирующими движениями кисти руки и захватным устройством. Приводы этих движений осуществляются от пневмоцилиндров. Для преобразования поступательного перемещения поршня во вращательное движение кисти руки используются винтовой копир (в приводе поворота кисти руки относительно ее продольной оси) и передача рейка-шестерня (в приводе качания кисти относительно поперечной оси). Привод зажима и разжима губок схвата осуществляется рычажным механизмом, присоединенным к штоку пневмоцилиндра. Соединение механизмов манипулятора между собой и устройством аналогового позиционного программного управления типа АПС-1 производится в соответствии с принципиальной электрической схемой.
Описание захватного устройства промышленного робота
Преимуществом исполнительных механизмов с переменным передаточным отношением является возможность достижения больших усилий зажима. Однако наибольшие усилия достигаются обычно лишь в узком диапазоне рабочих перемещений.
В
связи с этим для обеспечения надежного удержания объектов манипулирования при широком диапазоне их размеров необходимо использовать в ЗУ исполнительные механизмы с постоянным передаточным механизмом (например, зубчато-реечные, винтовые, некоторые рычажные и др.) или предусматривать переналадку исполнительных механизмов с переменным передаточным отношением (например, рычажного типа).
На рисунке 4 показан вариант конструкции однопозиционного схвата для деталей имеющих широкий диапазон диаметров. Рассматриваемая конструкция обеспечивает центрирование детали независимо от диаметра. Высокая стабильность установки (0,05 – 0,07 мм) достигается за счет профилирования губок схвата.
Д
Рис. 4. Захватное устройство робота
ве пары рычагов 1, выполненных заодно с зажимными губками, свободно установлены на своих осях 2. На рычагах нарезаны зубчатые секторы, входящие попарно в зацепление с рейками 3, которые связаны между собой рычагами 4, образующими шарнирный параллелограмм. Шарнирный параллелограмм обеспечивает независимую работу каждой пары зажимных рычагов 1, что необходимо для захватывания и центрирования деталей. Место соединения тяги 5 с гнездом, выполненным во втулке 6 привода зажима и разжима схвата, а также байонетное соединение хвостовика 7 схвата с головкой шпинделя 8 кисти руки унифицированы. Предусмотрены два исполнения унифицированного захватного устройства: сменное и быстросменное. В сменном захватном устройстве хвостовик 7 крепится к шпинделю 8 кисти руки при помощи байонетного замка 9, накидного рычага 10 с резьбой и гайки 11. В быстросменном захватном устройстве применяется только байонетное крепление 9, которое может быть использовано и при автоматической смене схвата. При установке хвостовик 7 вводится в гнездо с одновременным отжимом фиксатора 10, который при повороте схвата на 90° входит под действием пружины в отверстие во фланце.Технические характеристики захватного устройства:
| Диапазон захвата, мм | 20-150 |
| Интервалы регулирования диапазона захвата, мм | 20-90 80-150 |
| Грузоподъемность, кг | 10 |
| Зона захвата, мм | 50 |
| Максимальное произведение массы на плечо заготовки, кг·см | 108 |
3.2. Тактовый стол.
Тактовый стол – предназначен для хранения запаса заготовок и подачи их в зону захвата промышленного робота.
Тактовый стол, используемый в данном РТК, представляет собой горизонтально замкнутый тележечный грузонесущий конвейер с настольным пульсирующим (тактовым) перемещением платформ, предназначенный для подачи заготовок и приема готовых деталей. Габаритные размеры тактового стола (длина
ширина
высота): 2100
1270
900 мм. Разгрузка платформ осуществляется в автоматическом цикле с использованием промышленного робота. На каждой платформе установлена паллета с приспособлением, позволяющим расположить на ней 2 детали на специальных штырях. Учитывая, что среднее время обработки одной детали составляет приблизительно 6 минут, а количество платформ с паллетами 24 (23 – с деталями и заготовками, 1 – свободная для перегрузки готовых деталей), обеспечивается бесперебойная работа РТК в течение около 5 часов (выпуск 48 деталей)
Технические характеристики накопителя:
Модель стола | Габаритные размеры стола, мм | Грузоподъемность одной пластины, кг | Число пластин | ||
L | B | H | |||
СТ 150 | 2100 | 1270 | 900 | 10 | 24 |
Технические характеристики пластины для тактового стола:
| Размеры платин, мм | |||
| А х Б | l x b | E | D |
| 150х225 | 150х150 | 100 | 120±0,2 |
4. Разработка циклограммы РТК.
-
Выдвижение руки робота – 2 сек,
-
Зажим заготовки в схвате – 1 сек,
-
Подъем руки робота вверх – 2 сек,
-
Задвижение руки робота – 2 сек,
-
Поворот руки влево на 90 – 3 сек,
-
Выдвижение руки робота – 2 сек,
-
Зажим заготовки в столе – 1 сек,
-
Разжим схвата робота – 1 сек,
-
Задвижение руки робота – 2 сек,
-
Быстрый подвод – 1 сек,
-
Обработка торцевой фрезой – 12 сек,
-
Быстрый отвод – 2 сек,
-
Смена инструмента – 2 сек,
-
Быстрый подвод – 1 сек,
-
Обработка концевой фрезой – 75 сек,
-
Быстрый отвод – 2 сек,
-
Смена инструмента и поворот дополнительного
поворотного стола – 6 сек,
-
Быстрый подвод – 1 сек,
-
Сверление сквозного отверстия диаметром 18 мм – 35 сек,
-
Быстрый отвод – 2 сек,
-
Смена инструмента – 2 сек,
-
Быстрый подвод – 1 сек,
-
Сверление глухого отверстия диаметром 26 мм – 11 сек,
-
Выдвижение руки робота – 2 сек,
-
Зажим детали в схвате – 1 сек,
-
Разжим детали в столе – 1 сек,
-
Задвижение руки робота – 2 сек,
-
Поворот руки вправо на 90 – 3 сек,
-
Выдвижение руки робота – 2 сек,
-
Опускание руки робота вниз – 2 сек,
-
Разжим схвата робота – 1 сек,
-
Задвижение руки робота – 2 сек,
-
Перемещение платформ тактового стола на 1 позицию – 2 сек.
Общее время цикла: 187сек.
-
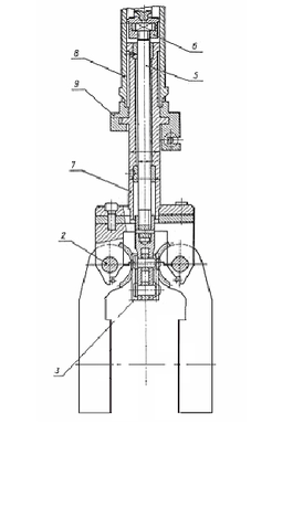
ОПИСАНИЕ РУКИ РОБОТА.
Корпус руки выполнен в виде двух последовательно соединенных между собой цилиндров 1 и 2. К фланцу 3, прикрепленному к заднему торцу цилиндра 1, подведены водные трубопроводы 4 для гидроприводов механизма руки, кисти и схвата. Поршень 5 гидроцилиндра 1 привода качания в вертикальной плоскости кисти 6 связан со штоком 7, который присоединен к обойме шариковой муфты 8. Шариковая муфта дает возможность передать усилие от перемещающегося вдоль оси штока 7 на тягу 9, которая, кроме того, поворачивается вокруг своей оси вместе с кистью 6. Тяга 9 жестко связана с рейкой 10 зубчато-реечного механизма качания кисти. В зависимости от подачи сжатого воздуха в ту или другую полость цилиндра 1 направление качания меняется. В штоковую полость цилиндра 1 встроен гидравлический демпфер 11, представляющий собой гидроцилиндр двустороннего действия, поршень 12 которого перемещается вместе со штоком 7. В обе полости гидроцилиндра залито масло, которое переливается при движении поршня из одной полости в противоположную через калиброванное отверстие в поршне 12, демпфируя при этом колебания штока.














