Пояснительная записка (986867), страница 3
Текст из файла (страница 3)
Блоки тиристорного электропривода ЭПТ6-У5.02 обеспечивают управление в следящем режиме электродвигателями постоянного тока типа СЛ-569 и СЛ-661, установленными в механизмах четырех программируемых степеней подвижности манипулятора.
Механизмы электроприводов включают в себя зубчатые или червячные редукторы, параметры которых, даны в кинематической схеме. Обратная связь исполнительных механизмов манипулятора по положению, и скорости осуществляется потенциометрическими датчиками типа ППМЛ, приводящимися с помощью зубчатых редукторов и тахогенераторов типа СЛ-121, которые приводятся в движение специальными зубчатыми или ременными механизмами.
Также пневмоблок предназначен для циклового управления двумя ориентирующими движениями кисти руки и захватным устройством. Приводы этих движений осуществляются от пневмоцилиндров. Для преобразования поступательного перемещения поршня во вращательное движение кисти руки используются винтовой копир (в приводе поворота кисти руки относительно ее продольной оси) и передача рейка-шестерня (в приводе качания кисти относительно поперечной оси). Привод зажима и разжима губок схвата осуществляется рычажным механизмом, присоединенным к штоку пневмоцилиндра. Соединение механизмов манипулятора между собой и устройством аналогового позиционного программного управления типа АПС-1 производится в соответствии с принципиальной электрической схемой.
6.3. Захватное устройство робота
Преимуществом исполнительных механизмов с переменным передаточным отношением является возможность достижения больших усилий зажима. Однако наибольшие усилия достигаются обычно лишь в узком диапазоне рабочих перемещений.
В связи с этим для обеспечения надежного удержания объектов манипулирования при широком диапазоне их размеров необходимо использовать в ЗУ исполнительные механизмы с постоянным передаточным механизмом (например, зубчато-реечные, винтовые, некоторые рычажные и др.) или предусматривать переналадку исполнительных механизмов с переменным передаточным отношением (например, рычажного типа).
Н
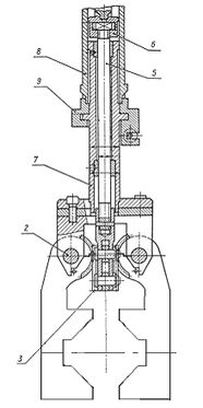
а рисунке 7 показан вариант конструкции однопозиционного схвата для деталей типа дисков и фланцев, имеющих широкий диапазон диаметров. Рассматриваемая конструкция обеспечивает центрирование детали независимо от диаметра. Высокая стабильность установки (0,05 – 0,07 мм) достигается за счет профилирования губок схвата.
Д
Рис. 7. Захватное устройство робота
ве пары рычагов 1, выполненных заодно с зажимными губками, свободно установлены на своих осях 2. На рычагах нарезаны зубчатые секторы, входящие попарно в зацепление с рейками 3, которые связаны между собой рычагами 4, образующими шарнирный параллелограмм. Шарнирный параллелограмм обеспечивает независимую работу каждой пары зажимных рычагов 1, что необходимо для захватывания и центрирования деталей. Место соединения тяги 5 с гнездом, выполненным во втулке 6 привода зажима и разжима схвата, а также байонетное соединение хвостовика 7 схвата с головкой шпинделя 8 кисти руки унифицированы. Предусмотрены два исполнения унифицированного захватного устройства: сменное и быстросменное. В сменном захватном устройстве хвостовик 7 крепится к шпинделю 8 кисти руки при помощи байонетного замка 9, накидного рычага 10 с резьбой и гайки 11. В быстросменном захватном устройстве применяется только байонетное крепление 9, которое может быть использовано и при автоматической смене схвата. При установке хвостовик 7 вводится в гнездо с одновременным отжимом фиксатора 10, который при повороте схвата на 90° входит под действием пружины в отверстие во фланце.7. Выбор инструмента
7.1. Инструмент станка мод. 6Р13Ф3
Инструмент Т1
Сверло с механическим креплением пластинки из твердого сплава.
Dmm = 18 мм;
l1s = 120 мм;
l2s = 160 мм;
l3s = 100 мм;
l4 = 80 мм.
Материал пластинки: ВК6.
7.2. Инструмент станка мод. 16Б16Ф3
Инструмент Т2
Проходной резец фирмы CoroTurn RC DCLNR/L Sandvik Coromant.
Материал пластинки: ВК6.
Инструмент Т3
Канавочный резец фирмы Sandvik Coromant.
Материал пластинки: ВК6.
Инструмент Т4
Резьбовой резец CoroThread 266 фирмы Sanvdik Coromant.
Материал пластинки: Р6М5.
8. Расчетная часть
8.1. Расчет режимов резания
Переход 1: станок мод. 6Р13Ф3. Сверление отверстия Ø20
1) Расчет длины рабочего хода (
):
(по табл.) – длина подвода, врезания и перебега инструмента;
2) Назначение подачи на оборот шпинделя станка (
):
3) Определение стойкости инструмента по нормативам (
):
;
(по табл.) – стойкость машинной работы станка;
– коэффициент времени резания;
4) Расчет скорости резания (v) и числа оборотов шпинделя в минуту (n):
(по табл.) – коэффициент, зависящий от обрабатываемого материала;
(по табл.) – коэффициент, от стойкости инструмента;
(по табл.) – коэффициент, зависящий от отношения длины резания к диаметру;
5) Расчет основного машинного времени обработки (
):
6) Мощность резания, крутящий момент, сила резания:
, где Nтабл. = 3,9 кВт (по табл.);
KN = 0,9 – коэффициент, зависящий от обрабатываемого материала;
, где P табл. = 520 кГ (по табл.);
Kр = 0,9 (по табл.) – коэффициент, зависящий от обрабатываемого материала;
Переход 2: станок мод. 16Б16Ф3. Точение цилиндрической поверхности
1) Расчет длины рабочего хода (
):
(по табл.) – длина подвода, врезания и перебега инструмента;
2) Назначение подачи на оборот шпинделя станка (
):
3) Определение стойкости инструмента по нормативам (
):
(по табл.) – стойкость машинной работы станка;
– коэффициент времени резания;
4) Расчет скорости резания (v) и числа оборотов шпинделя в минуту (n):
(по табл.) – коэффициент, зависящий от обрабатываемого материала;
(по табл.) – коэффициент, зависящий от стойкости и материала реж. части;
(по табл.) – коэффициент, от вида обработки;
– макс. частота шпинделя станка.
5) Расчет основного машинного времени обработки (
):
Переход 3: станок мод. 16Б16Ф3. Прорезание канавки
1) Расчет длины рабочего хода (
):
(по табл.) – длина подвода и перебега инструмента;
2) Назначение подачи на оборот шпинделя станка (
):
3) Определение стойкости инструмента по нормативам (
):
(по табл.) – стойкость машинной работы станка;
– коэффициент времени резания;
4) Расчет скорости резания (v) и числа оборотов шпинделя в минуту (n):
(по табл.) – коэффициент, зависящий от обрабатываемого материала;
(по табл.) – коэффициент, зависящий от стойкости и материала реж. части;
(по табл.) – коэффициент, от вида обработки;
– макс. частота шпинделя станка.
5) Расчет основного машинного времени обработки (
):
Переход 4: станок мод. 16Б16Ф3. Нарезание резьбы М60×2
1) Расчет длины рабочего хода (
):
(по табл.) – длина подвода, врезания и перебега инструмента;
2) Назначение подачи на оборот шпинделя станка (
):
3) Определение стойкости инструмента по нормативам (
):
(по табл.) – рекомендуемая стойкость инструмента при Ø60 заготовки.
4) Расчет скорости резания (v) и числа оборотов шпинделя в минуту (n):
(по табл.) – коэффициент, зависящий от обрабатываемого материала;
5) Расчет основного машинного времени обработки (
):
8.2. Расчет подшипников шпинделя станка мод. 6Р13Ф3 на долговечность
Составим систему уравнений для рассмотренных подшипников шпинделя станка:
Для решения полученной системы уравнений найдем окружную силу, действующую на шпиндель станка:
Решим ранее составленную систему уравнений:
Знак «–» означает, что реакция направлена в противоположную сторону той, что указана на схеме.
Опора А: подшипник роликовый радиальный однорядный 32116 ГОСТ 8328-75.
– внутренний диаметр подшипника;
– наружный диаметр подшипника;
;
.















