отчет лр 23 (956701)
Текст из файла
Лабораторная работа 23.
Динамические структуры данных. Списки.
Задание: Дана символьная строка, состоящая из слов, разделенных пробелом. Составить программу, которая вводит строку, организует из слов строки однонаправленный список, упорядочивая слова по алфавиту. Вывести на печать сформированный список. Подсчитать количество слов, начинающихся на буквы “а” и “м”, вывести на печать слова и их количество или сообщение о неудаче.
Текст программы:
// lab23.cpp : Defines the entry point for the console application.
//Дана символьная строка, состоящая из слов, разделенных пробелом.
//Составить про-грамму, которая вводит строку, организует из слов
//строки однонаправленный список, упорядочивая слова по алфавиту.
//Вывести на печать сформированный список. Подсчитать количество
//слов, начинающихся на буквы "а" и "м", вывести на печать слова
//и их количество или сообщение о неудаче.
#include "stdafx.h"
#include <stdio.h>
#include <string.h>
#include <stdlib.h>
#include <conio.h>
struct zap {char sl[15];zap *p;};
int main(int argc, char* argv[])
{zap *dop1, *dop2, *cur, *prev, *first, *firstc;
char stres[20];
int fl;
// создаем первую запись
puts ("Vvedite stroky slov razdelennyx probelami. tochka - konec vvoda:");
prev=new zap;
first=new zap;
firstc=new zap;
strcpy (first->sl,"testing");
// организуем цикл обработки слов
while ((strcmp(stres,"")!=0) & (strlen(stres)!=1))
{
scanf ("%s", stres); //вводим очередное слово
cur=new zap;
if (strstr (stres,".")!=NULL)
{
fl=strlen(stres);
stres[fl-1]='\0';
strcpy (cur->sl,stres);
strcpy (stres,""); //если последнее слово, вырезаем точку
}
else strcpy (cur->sl,stres);
cur->p=NULL; //заносим его в указатель cur
if (strcmp(first->sl,"testing")!=0)
{
prev->p=cur;
if (strcmp(cur->sl,first->sl)<0)
{
prev->p=NULL;
cur->p=first;
first=cur;
cur=prev;
firstc=first;
}
else
{
dop1=first;
fl=0;
while ((dop1->p!=NULL) & (fl==0))
{
dop2=dop1;
dop1=dop1->p;
if (strcmp(cur->sl,dop1->sl)<0)
{
prev->p=NULL;
cur->p=dop1;
dop2->p=cur;
cur=prev;
fl=1;
}
}
}
prev=cur;} //если не первый элемент
else {first=cur; prev=cur; firstc=first;} //если первый элемент
//параметр выхода из цикла
}
//проверка верности упорядочивания очереди
{puts ("");puts ("Slova stroki po alfavitu:");
cur=firstc; fl=1;
while (cur!=NULL)
{printf ("%2d) %s\n",fl,cur->sl);
cur=cur->p;
fl++;}
//подсчет слов начинающихся на "а" и "м"
puts ("");
cur=firstc; fl=0;
while (cur!=NULL)
{if ((cur->sl[0]=='a') || (cur->sl[0]=='m')) {printf("Slovo na 'a' ili 'm': %s \n",cur->sl); fl++;}
cur=cur->p;
}
if (fl>0) printf ("Naideno %d slov na 'a' ili 'm'\n",fl);
else puts ("Slov nachinaushihsya na bukvu 'a' ili 'm' ne naideno");
getch(); return 0;
}
}
Тест:
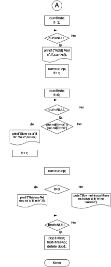
Cхема алгоритма:
Характеристики
Тип файла документ
Документы такого типа открываются такими программами, как Microsoft Office Word на компьютерах Windows, Apple Pages на компьютерах Mac, Open Office - бесплатная альтернатива на различных платформах, в том числе Linux. Наиболее простым и современным решением будут Google документы, так как открываются онлайн без скачивания прямо в браузере на любой платформе. Существуют российские качественные аналоги, например от Яндекса.
Будьте внимательны на мобильных устройствах, так как там используются упрощённый функционал даже в официальном приложении от Microsoft, поэтому для просмотра скачивайте PDF-версию. А если нужно редактировать файл, то используйте оригинальный файл.
Файлы такого типа обычно разбиты на страницы, а текст может быть форматированным (жирный, курсив, выбор шрифта, таблицы и т.п.), а также в него можно добавлять изображения. Формат идеально подходит для рефератов, докладов и РПЗ курсовых проектов, которые необходимо распечатать. Кстати перед печатью также сохраняйте файл в PDF, так как принтер может начудить со шрифтами.















