Метода - Жидкостная очистка керамических и стеклянных подложек для микроэлектронных устройств (953831), страница 3
Текст из файла (страница 3)
ФИО студента________________________________________группа___________________
ЖИДКОСТНАЯ ОЧИСТКА КЕРАМИЧЕСКИХ И СТЕКЛЯННЫХ ПОДЛОЖЕК ДЛЯ МИКРОЭЛЕКТРОННЫХ УСТРОЙСТВ
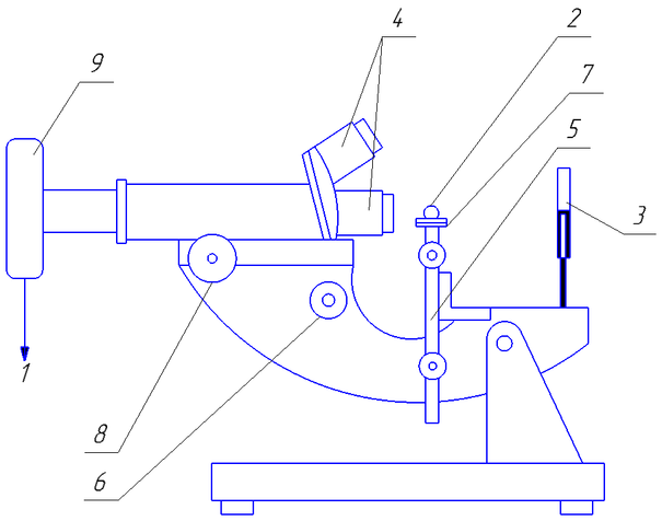
Схема гониометра ЛК-1
1 ‑ __________________________________ 6 ‑ ____________________________________
2 ‑ __________________________________ 7 ‑ ____________________________________
3 ‑ __________________________________ 8 ‑ ____________________________________
4 ‑ __________________________________ 9 ‑ ____________________________________
5 ‑ __________________________________
Определение эффективности очистки каждого раствора
Числовые значения краевого угла смачивания
| № образца/ γ, °С | 1 | 2 | 3 | Среднее |
| Образец №1 | ||||
| Образец №2 | ||||
| Образец №3 | ||||
| Образец №4 | ||||
| Образец №5 | ||||
| Образец №6 |
Вывод:_________________________________________________________________________________________________________________________________________________________________________________________________________________________________________________________________________________________________________________________________________________________________________________________________________________________________________________________________________________________________________________________________________________________________________________________________________________________________________________________________________________________________________________________________________________________________________________________________________________________________________________________________________________________________________________________________________________
Определение зависимости краевого угла смачивания от температуры очистки
Числовые значения краевого угла смачивания и температуры очистки
| № образца | Средний γ, гр. | Температура очистки, °С |
| Образец №4 | ||
| Образец №5 | ||
| Образец №6 |
Графическая зависимость краевого угла смачивания от температуры очистки
Вывод:___________________________________________________________________________________________________________________________________________________________________________________________________________________________________________________________________________________________________________________________________________________________________________________________________________________________________________________________________________________________________________________________________________________________________________________________________________________________________________________________________________________________________________________________________________________________________________________________________________________________________________________________________________________________________________________________________________________________________________________________________________________________________
Список литературы
-
Burkman D. Optimizing the cleaning procedure for silicon wafers prior to high temperature operations // Semiconductor International. 1981. V. 14. № 14. Jul. P. 104 – 116.
-
Bansal I., Particle contamination during chemical cleaning and photoresist stripping of silicon wafer // MICRO. 1984. V. 2. №. 8. P. 35 – 40.
-
Суворов А.Л., Чаплыгин Ю.А., Тимошенков С.П., Графутин В.И., Залужный А.Г., Калугин В.В., Дьячков С.А., Прокопьев Е.П., Реутов В.Ф., Шарков Б.Ю. Анализ преимуществ, перспектив применений и технологий производства структур КНИ // Препринт ИТЭФ 27–00. 2000. 51 с.
-
Богданова Ю.Г., Адгезия и ее роль в обеспечении прочности полимерных композитов. Учебное пособие для студентов по специальности «Композиционные наноматериалы» – Москва, 2010 – С.6.
-
Редин В.М., Ушаков В.И., Каракеян В.И., Минкин М.Л., Гребенкин В.З. Генерация аэрозолей оборудованием микроэлектроники и аспекты создания технологической среды требуемой чистоты // Обзоры по ЭТ. Сер. 3. Микроэлектроника. 1989 г. Вып. 2 (1466).
-
Шмаков М., Паршин В., Смирнов А. Школа производства ГПИС. Очистка поверхности пластин и подложек/Шмаков М.//Технологии в электронной промышленности – 2008. - №5. – С.76-80.
-
Шмаков М., Паршин В., Смирнов А. Школа производства ГПИС. Очистка поверхности пластин и подложек/Шмаков М.//Технологии в электронной промышленности – 2008. - №6. – С.72-75.
-
ООО «Боле» [Электронный ресурс]: производственная компания – Режим доступа: http://www.briteguard.com/109.html?L=8, свободный.
-
Гониометр ЛК-1. Инструкция по эксплуатации.














