Гидравлика(веб) (950001), страница 14
Текст из файла (страница 14)
Следовательно, можно записать
Учитывая, что
и
из выражений (а) и (б), получим
Поделим обе части уравнения на
и получим основное уравнение теоретического напора
Так как
и
(проекции скоростей), основное уравнение можно написать в следующем виде:
Тангенциальная проекция абсолютной скорости
представляет собой скорость закручивания потока до поступления его в рабочее колесо. В современных насосах обеспечивается вход на колесо без предварительного закручивания (радиальный вход). Тогда тангенциальная скорость на входе равна нулю и
Уравнение (161) показывает, что напор насоса пропорционален окружной скорости (т. е. числу оборотов и диаметру рабочего колеса) и проекции абсолютной скорости
на окружную скорость, т. е. напор тем больше, чем меньше угол
и чем больше угол
(см. рис. 49). Фактически создаваемый насосом напор меньше теоретического, так как часть энергии расходуется на преодоление гидравлических сопротивлений внутри насоса, а также вследствие того, что не все частицы жидкости совершают движение вдоль лопаток, а это вызывает уменьшение абсолютной скорости.
Чтобы учесть конечное число лопаток рабочего колеса и соответственно величину проекции абсолютной скорости на выходе, вводится поправочный коэффициент К. Исходя из изложенного, уравнение для полного напора при конечном числе лопаток можно написать в виде
где К – коэффициент, учитывающий конечное число лопаток;
– гидравлический к. п. д., зависящий от конструкции насоса и его размеров и принимающий значения 0,8-0,95.
Практически принимают
и
. Принять
нельзя, так как тогда радиальная скорость на выходе будет равна нулю, и насос не будет подавать жидкость.
Для определения значения К можно привести одну из формул, полученную академиком Г. Ф. Проскура
Обычно
, тогда К получается равным 0,75-0,9.
При приближенных расчетах для определения напора в метрах водяного столба (м вод. ст.) можно пользоваться следующим уравнением:
где
– коэффициент напора, принимаемый для насосов турбинного типа, т. е. с направляющим аппаратом,
, для спиральных насосов
;
– окружная скорость на внешней окружности рабочего колеса, м/сек. Теоретическую производительность рабочего колеса насоса можно вычислить по формуле
где
– площадь живого сечения потока на выходе из колеса, м2;
– средняя радиальная скорость жидкости, м/сек.
Для центробежных насосов площадь живого сечения рабочего колеса (без учета стеснения его лопатками и утечек через неплотности) определяют как боковую поверхность цилиндра с диаметром, равным внешнему диаметру колеса
и высотой, равной ширине колеса
. Таким образом,
При бесконечно большом числе лопаток радиальная скорость может быть принята одинаковой во всех точках цилиндрической поверхности данного радиуса, а отсюда средняя скорость в уравнении расхода равна радиальной скорости на выходе, т. е.
.
Итак, теоретическая производительность равна:
для выходного сечения
(без учета стеснения и утечек через неплотности);
для входного сечения
полезная производительность
где
– объемный к. п. д. насоса.
4.4. Характеристики центробежных насосов
Напором насоса Н называется приращение удельной энергии жидкости при движении жидкости через насос. Напор измеряют метрами столба подаваемой жидкости.
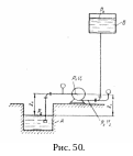
ля определения приращения удельной энергии (напора) рассмотрим работу насоса по перекачке жидкости из резервуара А в резервуар Б (рис. 50).
За плоскость сравнения примем свободную поверхность жидкости в резервуаре А, тогда удельная энергия ее при входе в насос определится по формуле
г
де
– скорость жидкости при входе в насос, м/сек;
– абсолютное давление жидкости в месте входа ее в насос, кгс/м2; у- удельный вес жидкости, кгс/м3;
– расстояние по вертикали от места измерения давления до уровня жидкости в резервуаре А.
Удельная энергия жидкости при выходе из насоса (в напорном патрубке) равна
где
– скорость в напорном патрубке, м/сек;
– абсолютное давление в напорном патрубке при выходе из насоса, кгс/м2.
Итак, приращение удельной энергии или полный напор можно определить по формуле
Разрежение на входе в насос измеряется вакуумметром, обычно в кгс/см2 (или в мм рт. ст). В пересчете на м вод. ст. данной жидкости абсолютное давление на входе в насос равно
где
– атмосферное давление, кгс/см2;
– показания вакуумметра, кгс/см2; 10 000 – переводный множитель (1 кгс/см2 = 10 000 кгс/м2).
Давление на выходе из насоса
измеряется манометром, поэтому абсолютное давление на выходе равно
где
– показание манометра, кгс/см2 .
П
одставляя полученные значения
и
в уравнение напора (170), получим
или
где
и
– соответственно показания манометра и вакуумметра в метрах столба жидкости, приведенные к оси насоса.
При вычислении полного напора насоса следует учитывать расстояние по вертикали между точкой присоединения вакуумметра и осью стрелки манометра.
Например, для установки, показанной на рис. 51, напор насоса выразится следующим уравнением:
а для установки, показанной на рис. 52,
Чтобы определить потребный напор насоса для вновь проектируемой установки, пользуются следующим уравнением:
г
де
– геометрическая высота всасывания, м;
– геометрическая высота нагнетания, м;
– потери напора во всасывающем трубопроводе, м;
– потери напора в нагнетательном трубопроводе, м.
4.5. Кавитация
Выше было установлено, что если при входе в рабочее колесо насоса абсолютное давление окажется меньшим или равным упругости паров перекачиваемой жидкости при данной температуре, то жидкость начинает вскипать, происходит разрыв потока и подача прекращается.
При длительной работе насоса в таких условиях разрушается рабочее колесо. Явления, происходящие в насосе при вскипании жидкости, называются кавитацией. При этом из жидкости выделяются пары и растворенные газы в том месте, где давление равно или меньше давления насыщенных паров. Пузырьки пара и газов, увеличенные потоком в область повышенного давления, резко конденсируются с уменьшением объема в микроскопических зонах; это явление, подобное взрывам мельчайших бомб, приводит к механическим повреждениям лопаток колеса и их разрушению. Происходит и химическое разрушение металла в зоне кавитации выделившимся кислородом воздуха (коррозия).
Кавитация может происходить не только в рабочем колесе, но и в направляющем аппарате, и в спиральном корпусе. Эти явления сопровождаются потрескиванием, шумом и вибрацией насоса. При кавитации резко падает к. п. д. насоса, производительность и напор. Особенно сильно при кавитации разрушаются чугун и углеродистая сталь, наиболее устойчивы бронза и нержавеющая сталь. Поэтому в последнее время для изготовления насосов применяют высококачественные материалы и защитные покрытия (наплавка твердых сплавов, поверхностная закалка, металлизация в холодном состоянии), что повышает надежность работы насосов.
Во избежание явления кавитации насос следует располагать как можно ниже.
Кавитационный запас уровня определяют по уравнению
13
















