Курсовая.fin.v3 (933801), страница 2
Текст из файла (страница 2)
Для шестерни:
Модуль зацепеления следует определить по ведомому колесу, т.к. материалы шестерен и колес разные и для колеса отношение
больше, чем для шестерни.
Поэтому, по формуле написанной выше:
В соответствии с рекомендуемыми значениями модулей зубчатых колес (табл.6, [1]), примем m = 0.8 мм и назначим данное значение модуля для всех передач привода.
Теперь рассчитаем допускаемое контактное напряжение для шестерни и колеса.
σHR - предел контактной выносливости поверхности зубьев, соотвествующий базовому числу циклов перемены напряжений NH0;
zR - коэффициент, учитывающий шереховатость сопряженных поверхностей, zR = 1;
zV - коэффициент, учитывающий окружную скорость колеса, zV = 1;
KHL - коэффициент долговечности;
SH - коэффициент безопасности, SH = 1.1.
, где NH0 - базовое число циклов перемены напряжений; NH - расчетное число циклов нагружения.
Для колеса:
- для стальных колес закаленных до HRC = 45...50.
w = 6 - для стальных колес.
n = 21 об/мин.
Для шестерен:
- для стальных колес закаленных до HRC = 55...65.
w = 6 - для стальных колес.
n = 63 об/мин.
Геометрический расчет кинематики проектируемой конструкции
Передачи в приводе - цилиндрические с прямозубыми колесами.
Определим размеры элементов передач.
Делительное межосевое расстояние:
.
c* - коэффициент радиального зазора, c* = 0.35, т.к. 0.5 < m = 0.8 < 1.
β - угол наклона зубьев, β = 0, т.к. колеса прямозубые.
- коэффициент граничной высоты,
.
ψbm - коэффициент ширины зубчатого венца, ψbm = 4.
x - коэффициент смещения производящего контура, x = 0, т.к. передача выполняется с нулевыми колесами.
Для всех ведущих колес:
Для всех ведомых колес:
Сведем полученные данные для всех колес привода в таблицу
Размеры шестерни первой ступени позволяют закрепить её на валу двигателя ДАТ-42461, диаметр вала которого
.
Расчет валов и опор редуктора
Расчет валов
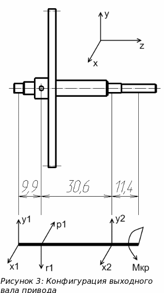
Из анализа эскизного чертежа общего вида определяем конфигурацию наиболее нагруженного вала проектируемой конструкции. Наиболее нагруженным валом является выходной вал. В качестве матириала валов редуктора будем использовать сталь 40Х.
Проведём расчет диаметра наиболее сильно нагруженного вала - выходного вала.
Рассчитаем силы, действущие на вал, по формулам:
и
, где d - диаметр начальной окружности колеса (в нашем случае примем d равным диаметру делительной окружности), d = 67.2 мм;
MKP - крутящий момент на валу, MКР = 1300 Н∙мм;
.
Согласно принятию (*), рассчитаем расстояние между точками приложения сил на валах:
Найдем неизвестные реакции x1, x2, y1, y2, используя законы равновесия для моментов и сил:
Плоскость ZX:
Плоскость ZY:
Найдем радиальные нагрузки:
Моменты на валу в сечении колеса:
Теперь рассчитаем диаметр вала, исходя из нагрузок на нём.
, где
и
- изгибающий и крутящий моменты соотвественно.
Диаметр вычисляется по формуле:
Примем диаметр выходного вала равным 4 мм и для технологичности процесса назначим такой же диаметр для остальных валов редуктора.
Обоснование выбора и расчет опор
Так как в ТЗ задано серийное производство, то с целью уменьшения стоимости изделия выберем для разрабатываемого редуктора подшипники скольжения. Расчет произведем по критерию прочности и критерию теплостойкости [6]. Выберем цилиндрические опоры скольжения из материала БрОЦС6-6-3.
Теперь рассчитаем диаметр цапфы вала по допускаемому удельному давлению и допускаемому напряжению изгиба. Равномерно распределенную нагрузку, действующую на цапфу заменим сосредоточенной нагрузкой, приложенной в середине длины цапфы. Условие прочности для опасного сечения имеет вид:
, где λ - относительная длина цапфы, для редукторов λ = 0.5...1.2. Назначим λ = 1. Значение P = 31.12 Н.
По конструктивным соображением примем d = 4 мм.
Тогда длина цапфы: l = λ∙d = 4 мм.
Удельная нагрузка в подшипнике должна удовлетворять условию:
, где d и l - диаметр и длина подшипника, мм; P - сила, действующая на подшипник, Н.
Окружная скорость на шейке вала опрделеяется по формуле:
, где n- частота вращения вала, мин-1.
Расчет будем производить для наиболее нагруженного вала - выходного.
Выбранный материал опор скольжения удовлетворяет заданной нагрузке.
Поскольку радиальные нагрузке выше осевых, то будем рассчитывать момент трения в опоре скольжения по формуле:
, где f - коэффициент трения. Для пары сталь-бронза f =0.05.
КПД рассчитанной опоры определим по формуле:
Точностной расчет разрабатываемой кинематики
Назначим вид сопряжения G и 6-ю степень точности для нашей передачи. Точностной расчет будем производить теоретико-вероятностным методом, выбор метода основан на серийном производстве разрабатываемого редуктора.
Заполним таблицу данными для последующих расчетов для шестерен и колес привода.
| Параметр | Шестерня (m = 0.8 мм; d = 22.4 мм; z = 28) | Колесо (m = 0.8 мм; d = 67.2 мм; z = 84) | |
| Допуск на накопленную погрешность шага зубчатого колеса, FP, мкм | 19 | 25 | |
| Допуск на местную кинематическую погрешность, f'i | 16 | ||
| Допуск на погрешность профиля, ff | 8 | ||
| Коэффициент фазовой компенсации | K | 0.93 | |
| KS | 0.74 | ||
Вероятность выхода параметра за пределы допуска примем равной p = 1%.
-
Расчет кинематических погрешностей вероятностным методом.
Минимальное значение кинематической погрешности:
, где
- допуск на кинематическую погрешность, определяется по формуле:
.
Получаем:
Максимальное значение кинематической погрешности:
, где
- приведенные погрешности монтажа шестерен и колес.
Погрешность передач в угловых минутах:
Определим передаточные коэффициенты передач:
















