Laba_infa4 (862007)
Текст из файла
Задача
В процедуре заполнить матрицу размером m <= 20, n <= 30 целыми числами.
Размеры матрицы и её элементы вводить с клавиатуры. С помощью этой процедуры создать матрицу А.
Создать другую процедуру, в которой сформировать одномерный массив из чётных положительных элементов матрицы.
Если таких элементов не окажется, то удалить из матрицы столбец, в котором все элементы <0.
Использовать созданную процедуру для создания вектора D или преобразования матрицы А.
Если такого столбца в матрице не окажется, вывести сообщение о прекращении выполнения приложения.
Создать третью процедуру, которая в одномерном массиве производит обмен местами максимального и минимального элементов.
Для поиска минимального и максимального элементов массива использовать две отдельных подпрограммы-функции. Используя эту процедуру произвести обмен в массиве D.
Все подпрограммы должны обмениваться информацией через формальные параметры своих заголовков.
Глобальных параметров в подпрограммах не использовать.
В приложении должны использоваться как статические, так и динамические массивы (выбор типа для массивов – на усмотрение автора).
Для вывода на экран матриц и векторов с соответствующими сообщениями создать и в нужных местах кода использовать две процедуры.
Закольцевать приложение для многократного прогона.
Требования к отчёту:
-
Титульный лист;
-
Формулировка задания;
-
Схема алгоритма;
-
Обоснование используемых типов данных
-
Листинг приложения
-
Набор исходных тестовых данных с результатами (скриншоты окна).
Индивидуальные задания выдаёт преподаватель.
Общие требования:
-
Разработать дружественный интерфейс;
-
Размеры массивов и элементы массивов вводить с клавиатуры;
-
В коде должны быть использованы статические и динамические массивы;
-
Закольцевать приложение для многократного прогона.
А
лгоритм
MakeAMtx:
M
inD:
MaxD:
CngVtr:
D
isp_Mtx:
Disp_Vect:
Обоснование типов данных
Для матрицы используем двумерный статический массив array [1..20,1..30]of integer, который мы обозначаем в разделе type как Matrix, так как существует ограничение по условию. Если мы выбираем размер меньший 20х30, просто не заполняем соответствующие столбцы и строки. Для вектора, так как у нас неизвестна его длина, а выделение 600 элементов под него будет создавать лишнюю нагрузку на память программы, используем одномерный динамический массив array of integer, который мы обозначаем как Vector. Переменным-счётчикам как и переменным, отвечающим за размеры матрицы и вектора, логично будет присвоить тип shortint. Для более удобного общения с программой во время прогона следует использовать переменную типа char, при помощи которой пользователь будет говорить программе продолжать ли работу.
(!!!) Матрица считывается по столбцам(для удобства), вектор считывается по строкам.
Код
program laba4;
{Выполнил Кирдин М.Д., Вариант 9, Группа ФН12-11Б. Ввести матрицу и создать из её чётных положительных элементов вектор, в котором поменять местами максимальны и минимальный элементы, или убрать из матрицы столбец, в котором все члены меньше 0}
type
Matrix = array [1..20, 1..30] of integer;
//тип данных для матрицы
Vector = array of integer;
//тип данных для вектора
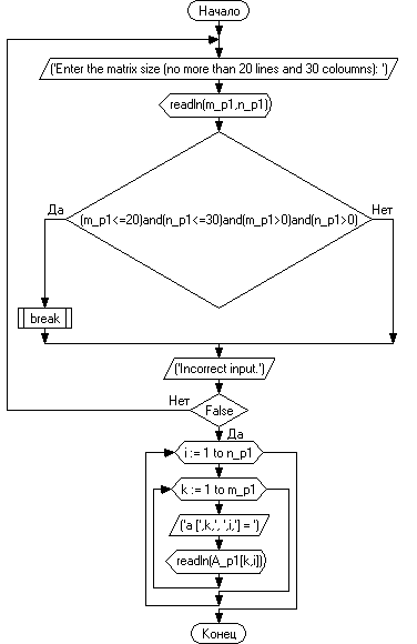
procedure MakeAMtx(var m_p1, n_p1: shortint; var A_p1: Matrix);
var
i, k: byte;
//переменная-счётчик, задана локально
begin
repeat
Write('Enter the matrix size (no more than 20 lines and 30 coloumns): ');
readln(m_p1, n_p1);
if (m_p1 <= 20) and (n_p1 <= 30) and (m_p1 > 0) and (n_p1 > 0) then
break;
writeln('Incorrect input.');
until False;
//Программа запрашивает размеры мастрицы до того момента, пока их значения не будут соотвествовать ограничениям в задании
for i := 1 to n_p1 do
begin
for k := 1 to m_p1 do
begin
Write('a [', k, ', ', i, '] = ');
readln(A_p1[k, i]);
end;
end;
end;
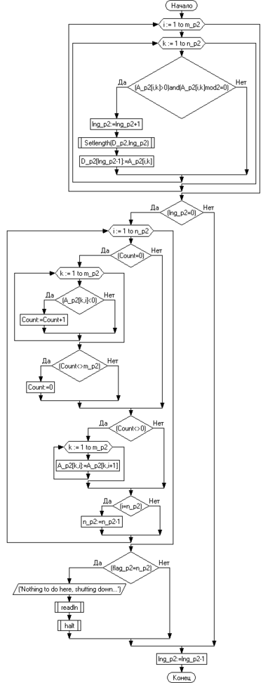
procedure DoTheThing(var m_p2, n_p2, flag_p2: shortint; var A_p2: Matrix; var D_p2: Vector; var lng_p2: shortint);
var
i, k: byte;
//переменная-счётчик, задана локально
Count: byte;
//переменная-счётчик, считающая количество отрицательных элементов в столбце матрицы
begin
for i := 1 to m_p2 do
begin
for k := 1 to n_p2 do
begin
if (A_p2[i, k] > 0) and (A_p2[i, k] mod 2 = 0) then
begin
lng_p2 := lng_p2 + 1;
Setlength(D_p2, lng_p2);
D_p2[lng_p2 - 1] := A_p2[i, k];
end;
end;
end;
//проверяем матрицу на наличие чётных положительных элементов. Если они присутствуют - увеличиваем длину вектора на 1 и присваиваем новому элементу вектора значение соответствующего элемента матрицы
if (lng_p2 = 0) then
//если переменная длины вектора матрицы не изменялась, то она останется равной 0(значение переменной по умолчанию). Используем это, чтобы понять, был ли создан вектор
begin
for i := 1 to n_p2 do
begin
if (Count = 0) then
//по итогу следующих циклов значение переменной-счётчика отрицательных элементов либо 0, либо соответствует количеству элементов в столбце. Используем это
begin
for k := 1 to m_p2 do
begin
if (A_p2[k, i] < 0) then
Count := Count + 1;
//считаем количество отрицательных элементов по каждому столбцу
end;
if (Count <> m_p2) then
Count := 0;
//обнуляем переменную, если в столбце не все элементы отрицательные
end;
if (Count <> 0) then
begin
for k := 1 to m_p2 do
begin
A_p2[k, i] := A_p2[k, i + 1];
end;
end;
//чтобы удалить столбец, приравниваем все предыдущие столбцы (начиная со следующего столбца для удаляемого) настоящим и уменьшаем переменную количества столбцов на 1
end;
n_p2 := n_p2 - 1;
writeln('Resulting matrix is:');
end;
if (lng_p2 = 0) and (flag_p2 = n_p2) then
//если по итогу процедуры количество столбцов не изменилось, как и переменная длины вектора, делаем вывод, что с матрицей не выполняется ни одно из действий и останавливаем программу
begin
writeln('Nothing to do here, shutting down...');
readln;
halt;
end;
lng_p2 := lng_p2 - 1;
end;
function MaxD(D_f1: Vector; lng_f1: shortint): shortint;
var
i: shortint;
//переменная-счётчик, задана локально
max_f1: integer;
//промежуточный максимум
begin
MaxD := 0;
max_f1 := D_f1[0];
//ставим по умолчанию максимальным первый элемент вектора
for i := 1 to lng_f1 do
begin
if (max_f1 < D_f1[i]) then
begin
MaxD := i;
max_f1 := D_f1[i];
end;
end;
//сравниваем первый элемент вектора с остальными, если они больше, соответственно изменяем номер и значение максимального элемента
end;
function MinD(D_f2: Vector; lng_f2: shortint): shortint;
var
i: shortint;
//переменная-счётчик, задана локально
min_f2: integer;
//промежуточный минимум
begin
MinD := 0;
min_f2 := D_f2[0];
//ставим по умолчанию минимальным первый элемент вектор
for i := 1 to lng_f2 do
begin
if (min_f2 > D_f2[i]) then
begin
MinD := i;
min_f2 := D_f2[i];
end;
end;
//сравниваем первый элемент вектора со остальными, если они меньше, соответственно изменяем номер и значение минимального элемента
end;
procedure CngVtr(var D_p3: Vector; min_p3, max_p3, lng_p3: shortint);
var
min1: integer;
//вспомогательная переменная, хранящее значение минимального элемента
begin
min1 := D_p3[min_p3];
D_p3[min_p3] := D_p3[max_p3];
D_p3[max_p3] := min1;
writeln('Changed Vector is:');
end;
procedure Disp_Vect(D_p4: Vector; lng_p4: shortint);
var
i: shortint;
//переменная-счётчик, задана локально
begin
Write('D = {');
for i := 0 to lng_p4 - 1 do
begin
Write(D_p4[i], '; ');
end;
Write(D_p4[lng_p4], '}');
writeln;
end;
procedure Disp_Mtx(m_p5, n_p5: shortint; A_p5: Matrix);
var
i, k: byte;
//переменная-счётчик, задана локально
begin
for i := 1 to m_p5 do
begin
for k := 1 to n_p5 do
begin
Write(A_p5[i, k]: 5);
end;
writeln;
end;
end;
var
A: Matrix;
//массив матрицы
D: Vector;
//массив вектора
m, n: shortint;
//размеры матрицы
max, min: shortint;
//номера максимального и минимального элементов вектора
flag: shortint;
//переменная для определения проделанной операции
lng: shortint;
//длина вектора
ch: char;
//переменная, отвечающая за продолжение прогона программы
begin
repeat
MakeAMtx(m, n, A);
flag := n;
DoTheThing(m, n, flag, A, D, lng);
if (flag <> n) then
Disp_Mtx(m, n, A)
else
begin
max := MaxD(D, lng);
min := MinD(D, lng);
CngVtr(D, min, max, lng);
Disp_Vect(D, lng);
end;
//узнаем, менялась ли длина матрицы, чтобы понять, какая операция была выполнена в процедуре DoTheThing
repeat
writeln('Do you want to continue? Yes/No');
repeat
readln(ch);
if (ch = 'Y') or (ch = 'N') or (ch = 'y') or (ch = 'n') then
break
else
writeln('Incorrect Input');
until False;
if (ch = 'N') or (ch = 'n') then
begin
writeln('Shutting down...');
readln;
halt;
end
else
Характеристики
Тип файла документ
Документы такого типа открываются такими программами, как Microsoft Office Word на компьютерах Windows, Apple Pages на компьютерах Mac, Open Office - бесплатная альтернатива на различных платформах, в том числе Linux. Наиболее простым и современным решением будут Google документы, так как открываются онлайн без скачивания прямо в браузере на любой платформе. Существуют российские качественные аналоги, например от Яндекса.
Будьте внимательны на мобильных устройствах, так как там используются упрощённый функционал даже в официальном приложении от Microsoft, поэтому для просмотра скачивайте PDF-версию. А если нужно редактировать файл, то используйте оригинальный файл.
Файлы такого типа обычно разбиты на страницы, а текст может быть форматированным (жирный, курсив, выбор шрифта, таблицы и т.п.), а также в него можно добавлять изображения. Формат идеально подходит для рефератов, докладов и РПЗ курсовых проектов, которые необходимо распечатать. Кстати перед печатью также сохраняйте файл в PDF, так как принтер может начудить со шрифтами.
















