Плоское движение (805264), страница 2
Текст из файла (страница 2)
Кинематика плоского движения. Вариант № 16
-
Теорема о существовании МЦС.
-
Векторная формула для ускорений точек тела в плоском движении. Построение многоугольника ускорений.
-
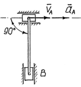
Ступенчатый барабан движется без скольжения по неподвижной поверхности; скорость груза B
. Определить угловую скорость барабана, скорость точки А, если
.
4. В плоском механизме стержень АВ шарнирно связан с ползунами в точках A и В.
Для заданного положения механизма скорость и ускорение ползуна A составляют соответственно vA = 0,2 м/с, аA = 0,1 м/с2.
Найти ускорение ползуна B, а также угловое ускорение стержня АВ, если АВ = 0,4 м.
Кинематика плоского движения. Вариант № 17
-
Соотношение между скоростями двух точек плоской фигуры при плоском движении. Построение треугольника скоростей.
-
У
4. Диск радиуса r катится без скольжения по цилиндрической поверхности радиуса R = 2r = 0,6 м. Центр диска движется по закону sC =s(t) = 0,3t2 (s – в м, t – в м).
В момент времени t1 = 1 c найти скорость и ускорение точки A диска.
равнения плоского движения тела.
-
Квадрат со стороной
совершает плоское движение. Ускорения точек A и B соответственно равны
,
. Определить угловую скорость и угловое ускорение квадрата.
Кинематика плоского движения.
Вариант № 18-
Соотношение между ускорениями двух точек плоской фигуры в плоском движении. Построение многоугольника ускорений.
-
Частные случаи определения МЦС.
плоскости с угловой скоростью
. В момент времени
определить ускорение
4. Конец нерастяжимой нити, намотанной на обод ступенчатого катка, движется по закону
sE = s(t)= 0,1t2 ( s- в м, t -в с).
В момент времени t1 =1 с определить
скорость и ускорение точек C и D, а также
угловую скорость и ускорение катка, если
каток не проскальзывает и R=2r=0,2 м.
Кинематика плоского движения. Вариант № 19
-
Определение скоростей точек плоской фигуры по векторной формуле для скоростей.
-
Частные случаи нахождения МЦУ.
-
Диск катится без скольжения по неподвижной поверхности,
,
. В момент времени
найти угловые скорость и ускорение диска; скорость и ускорение точки A.
-
В кривошипно-ползунном механизме
кривошип 1 вращается с постоянной угловой скоростью ω1 =2 рад/с. В заданном положении механизма определить ускорение ползуна 3 и угловое ускорение шатуна 2, если
ОА=0,2 м, АВ=0,4 м.
Кинематика плоского движения.
Вариант № 20-
Определение ускорений точек плоской фигуры по векторной формуле для ускорений.
-
Уравнения плоского движения тела.
4. В кривошипно-ползунном механизме
кривошип 1 равномерно вращается с угловой скоростью ω1 = 1 рад/ с.
В заданном положении механизма найти скорости и ускорения точек A и В, а также
положение мгновенного центра ускорений
линейки 2, если ОА = 0,5 м.
Кинематика плоского движения. Вариант № 21
-
Векторная формула для скоростей точек тела в плоском движении.
-
Способы определения угловой скорости тела в плоском движении.
-
Диск катится без скольжения по неподвижной плоскости, в точке А к диску прикреплен стержень АВ, конец которого скользит по плоскости. В данном положении механизма определить скорость точки В и угловую скорость стержня АВ, если
,
.
4. В механизме эллипсографа кривошип ОС вращается с постоянной угловой скоростью ω1 =1 рад/с и приводит в движение линейку АВ, концы которой шарнирно связаны с ползунами A и В.
В заданном положении механизма найти скорость и ускорение точки A, а также угловые скорость и ускорение стержня АВ, если ОС=АС=CB=0,2 м, φ =30°.
2
1
1
Кинематика плоского движения.
Вариант № 221. Сложение движений плоской фигуры в её плоскости из переносного поступательного вместе с полюсом и относительного вращения вокруг полюса.
2. Частные случаи определения МЦС.
-
Диск катится без скольжения по неподвижной плоскости, угловая скорость кривошипа
,
,
,
. Определить угловую скорость диска, скорость точки В по величине и направлению.
4. В плоском механизме стержень 1 движется в вертикальных направляющих N1N2 по закону x = xA(t)= 0,3t2 (х – в м, t –в с). В момент времени t1 =1 с найти скорость и ускорение ползуна B, если длина линейки 2
АВ= 0,6 м.
Кинематика плоского движения. Вариант № 23
-
Векторная формула для ускорений двух точек плоской фигуры в её плоском движении.
-
Теорема о проекциях скоростей двух точек тела на прямую, их соединяющую.
1
3. Угловая скорость барабана 2 ω2 =1рад/с. Определить скорость точки А ступенчатого барабана, катящегося без скольжения по неподвижной поверхности, если
,
.
4. В плоском механизме стержень 1 движется в горизонтальных направляющих N1N2 по закону y = yA(t)= 0,4t (y – в м, t –в с). В момент времени t1 =1 с найти скорость и ускорение ползуна B, а также угловую скорость и ускорение стержня 2, если АВ= 0,8 м.
4. Диск радиуса r катится без скольжения по цилиндрической поверхности радиуса R = 2r = 0,4 м. Центр диска движется по закону sC =s(t) = 0,2t2 (s – в м, t – в м).
В момент времени t1 = 1 c найти ускорение точки K диска.
Кинематика плоского движения.
Вариант № 24-
Векторная формула для скоростей точек тела в плоском движении.
-
Уравнения плоского движения тела.
-
В данном положении механизма четырехзвенного определить угловую скорость кривошипа ОВ и направление скорости точки
, если
,
,
м,
.
Кинематика плоского движения. Вариант № 25
-
Векторная формула для скоростей двух точек плоской фигуры при её плоском движении. Треугольник скоростей.
-
Частные случаи определения МЦУ.
-
Диск катится без скольжения по неподвижной поверхности. В центре диска в точке C прикреплен стержень
, конец которого вместе с ползуном движется по плоскости. Определить ускорение точки
, если
,
,
. В данном положении механизма (
) найти
диска.
4. Ползуны A и B, скользящие в прямолинейных направляющих, шарнирно соединены стержнем АВ. Ползун A движется по закону
(s – в м, t – в с). В момент времени t1 = 1c найти
скорости и ускорения точек A и B, а также угловое ускорение стержня АВ, если АВ = 0,9 м.
Кинематика плоского движения.
Вариант № 26-
Дайте определение мгновенного центра скоростей точек плоской фигуры. Приведите способы его нахождения.
-
Опишите способы нахождения ускорения точки плоской фигуры при плоском
движении.
3. В кривошипно-ползунном механизме кривошип 1 вращается с постоянной угловой скоростью
ω1 =1рад/с. В заданном положении механизма определить ускорение ползуна 3 и угловое ускорение шатуна 2, если ОА=0,1м, АВ=0,4 м.
Кинематика плоского движения. Вариант № 27
-
Запишите уравнения плоского движения твердого тела. Какая составляющая плоского движения зависит от выбора полюса, а какая не зависит?
-
Дайте определение мгновенного центра ускорений точек плоской фигуры и приведите способы его нахождения.
3. Конец нерастяжимой нити, намотанной на обод ступенчатого катка, движется по закону
sE = s(t)= 0,1t2 ( s- в м, t -в с).
В момент времени t1 =1 с определить
скорость и ускорение точек C и D, а также
угловую скорость и ускорение катка, если
каток не проскальзывает и R=2r=0,2 м.
Кинематика плоского движения.
Вариант № 28-
В чем суть теоремы о проекциях скоростей двух точек плоской фигуры на прямую, их соединяющую?
2. Опишите способы вычисления ускорений точек твердого тела, совершающего
плоское движение.
3. В механизме барабан 1 вращается вокруг оси
O(z) по закону φ1 = 0,1t2 (φ1 - в рад, t - в с) и с помощью нерастяжимого троса, охватывающего блок 2 и закрепленного в точке А, сообщает
движение грузу 3.
Считая, что трос по блоку 2 не скользит, определить ускорение груза 3 и угловое ускорение блока 2, если r = 0,2м.
Кинематика плоского движения. Вариант № 29
-
Запишите уравнения плоского движения твердого тела. Какая составляющая плоского движения зависит от выбора полюса, а какая не зависит?
-
Дайте определение мгновенного центра ускорений точек плоской фигуры и
приведите способы его нахождения
4. Диск радиуса r катится без скольжения по цилиндрической поверхности радиуса R = 2r = 0,4 м. Центр диска движется по закону sC =s(t) = 0,2t2 (s – в м, t – в м).
В момент времени t1 = 1 c найти ускорение точки K диска.
















