РПЗ (777669), страница 2
Текст из файла (страница 2)
Увеличивающие размеры:А1,А3,А4,А5,А6
Уменьшающие размеры: А2,А7,Ак,А8
Расчет номинального размера компенсатора:
2036=2216+30*2+60*2+60*2+50*2-190*2-20*2-75*2-2*Ак.
Ак=5мм.
Расчет верхнего отклонения компенсатора Es(
)
Ei(
)=∑Es(
)-∑Ei(
)-Ei(
),
Es(
)=Es(A1)+2Es(A3)+2Es(A4)+2Es(A5)+2Es(A6)-2Ei(A2)-2Ei(A7)-2Ei(Ak)-2Ei(A8)
0=1+2*(1+0+0+1)-2(-0.5)-2(-0.1)-0+2*Ei(Ak)
Ei(Ak)=-3.1
Расчет нижнего отклонения компенсатора Es(
)
Ei(
)=∑Ei(
)-∑Es(
)+Es(
),
Ei(
)=Ei(A1)+2Ei(A3)+2Ei(A4)+2Ei(A5)+2Ei(A6)-2Es(A2)-2Es(A7)-2Es(Ak)-2Es(A8)
-2=-3-2*(0.5-0.7-0.7+0.5)-2*(1+0+0.5+Es(Ak))
Es(Ak)=2.4
Вероятностный метод:
,
где
допуска компенсирующего звена;
допуск i-го звена.
=5±4,89 мм.
Вывод: метод обеспечения заданной точности - метод групповой взаимозаменяемости.
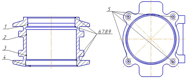
1.4. Разработка и обоснование технологической схемы общей сборки узла и эскизов с пояснениями.
Рис. 3
-
Разработка и обоснование технологических схем и эскизов узловой сборки (
и
подсборки из данной конструкции).
Рис. 4
Рис. 5
Рис. 6
1.6. Разработка технологического процесса сборки с выбором оборудования, инструментов, техническим нормированием времени и определением суммарной трудоемкости сборки узла.
Нормирование сборочной операции. Операция 010.
| № п/п | Содержание переходов и приемов; размеры, необходимые для нормирования, мм. | Оперативное время, мин. | Источник | ||
| 1 2 3 | Застропить колесную пару 1сб1 Транспортировать к месту сборки Отстропить колесную пару 1сб1 | 0,09 3,1 0,07 | П1.7, [1] П1.10, [1] П1.7, [1] | ||
| 4 5 6 | Взять шкурку | 0.2 | П1.29,[1] | ||
| 7 8 | Взять два комплекта (внутренние кольца подшипников, кольцо лабиринтное), установить в обойму пресса Запрессовать | 0.48 1.06 | П1.33, [1] | ||
| 9 10 11 | Взять щуп Произвести контроль зазора | 1 | |||
| 12 13 14 | Взять корпус буксы, вставить монтажную втулку Надвинуть на ось Убрать монтажную втулку | 0,21 | П1.37, [1] | ||
| 15 16 17 18 | Надвинуть кольцо упорное Застопорить болты | 0.19 | П 1.37, [1] | ||
| 21 22 23 | Взять крышку |
| |||
| 24 25 | Взять проволоку |
| |||
| ∑ | 8.95 | - | |||
Штучное время
где
сумма оперативного времени по всем переходам нормируемой операции;
соответственно время на обслуживание рабочего места, личные надобности работающего и подготовительно-заключительное время в процентах от оперативного времени;
коэффициенты, учитывающее соответственно число приемов и комплексов приемов, выполненных одним рабочим,число деталей в партии, условие выполнения работы.
Трудоемкость сборки
где
штучное время для i-ой операции процесса сборки; I-число операций в ТП сборки. Таким образом трудоемкость сборки гидроцилиндра
2. Разработка технологического процесса изготовления детали
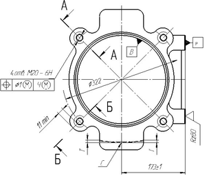
2.1. Назначение деталей в узле. Анализ техноческих требований чертежа детали, выявление основных технологических задач, разработка схем контроля по основным параметрам точности.
Назначение детали в узле
Корпус буксы грузового вагона предназначен для размещения элементов буксового узла и смазки. В стенках передней части корпусов имеются отверстия с нарезкой под болты М20 для закрепления крышки.
Корпус буксы грузового вагона по бокам имеет приливы и пазы для соединения с боковой рамой тележки. Для равномерного распределения нагрузки между роликами вдоль образующей на потолке буксы сделаны ребра жесткости, а для также ребра для опоры рамы тележки. Для обеспечения рационального распределения нагрузки на ролики подшипников свод корпуса букс имеет переменное сечение.
Анализ технических требований.
Самые высокие требования предъявлены к внутренним цилиндрическим поверхностям Ø240Н8 и Ø250G7 с шероховатостью Ra3,2. Высокие требования к точности и качеству поверхности необходимы для сопряжения корпуса с другими деталями буксы. Цилиндрические поверхности получают чистовым растачиванием, размеры контролируют нутромерами, индикаторами, установочными кольцами. Шероховатость контролируется по образцам шероховатости.
Допуски формы и расположения поверхностей контролируются индикаторными приборами. Наиболее высокие требования предъявлены к торцевому биению торца кольца лабиринтного относительно цилиндрической поверхности – не более 0,07 мм. Такой строгий допуск необходим для точной установки подшипников, прилегающих к лабиринту, в корпусе буксы. Обработка кольца лабиринтного ведется после его установки в корпус буксы для повышения точности взаимного расположения цилиндрической поверхности и торца путем исключения погрешности установки.
Остальные поверхности выполнены по IT9…16, Rz 40…320. Эти технические требования достигаются методами лезвийной обработки. Для контроля размеров используются штангенциркули, шаблоны, калибры. Резьбовые отверстия контролируются резьбовыми калибрами.
2.2. Отработка конструкции на технологичность для заданного типа производства.
«Корпус» представляет собой тело вращения класса втулка. В конструкции детали отсутствуют сложные фасонные поверхности, для которых необходим специальный инструмент.
Шероховатость поверхностей Ra 3,2 и грубее, следовательно, нет завышенных требований к качеству поверхности. Конструктивные формы и размерные соотношения детали обеспечивают достаточную жесткость, а требуемая точность обеспечивается стандартным инструментом.
Масса детали 45,8 кг, следовательно, есть необходимость применения грузоподъемных машин.
Для количественной оценки технологичности рассчитаем коэффициенты использования материала, коэффициент шероховатости и точности изготовления детали:
, где
- масса детали,
- масса заготовки.
,
где
- среднее значение шероховатости поверхностей,
- количество поверхностей с данной шероховатостью.
93
где
- среднее значение точности обрабатываемых поверхностей,
- количество поверхностей данной точности.
Вывод: на основании качественной и количественной оценки технологичности конструкции изделия (крупносерийного производства) можно сделать вывод о том, что деталь является технологичной.
2.3. Обоснование выбора материала детали: критерии выбора, условия эксплуатации, возможные варианты материала.
При выборе материала корпуса, обычно выделают три основных группы свойств: эксплуатационные, технологические и экономические
В процессе эксплуатации корпус буксы воспринимают и передают колесным парам силы тяжести вагона, а также динамические нагрузки, возникающие при движении. Т.к. корпус буксы постоянно находится в условиях нагружения и изменяющихся температурных и погодных условиях окружающей среды, материал детали должен обладать повышенной прочностью и износостойкостью.
Из чертежа можно увидеть, что есть поверхности, выполненные по 7 и 8 квалитету точности и у внутренней цилиндрической поверхности шероховатость Ra3,2 , при этом тип производства крупносерийный, поэтому материал должен обладать хорошей обрабатываемостью резанием.
В
соответствии с требованием конструкторской документации задан материал заготовки Сталь 15Л К20 ГОСТ 977-88. На диаграмме 1 приведен химический состав материала, а в таблице 1 физико-механические свойства в состоянии поставки.
Диаграмма 1
Таблица 1 – физико- механические свойства в состоянии поставки
| Термообработка, состояние поставки | Сечение, мм | σ0,2, МПа | σB, МПа | δ5, % | ψ, % | KCU, Дж/м2 |
| Нормализация 910-930°С. Отпуск 670-690°С. | <100 | 200 | 400 | 24 | 35 | 50 |
Технологические свойства стали 15Л:
Свариваемость: сваривается без ограничений. Способы сварки: РДС, АДС под газовой защитой, ЭШС.
Обрабатываемость резанием хорошая.
В нормализованном состоянии при НВ 121-126 и σB = 390 МПа Kυ тв.спл. = 1,50, Kυ б.ст. = 1,35.
Склонность к отпускной способности - не склонна.
.
2.4. Выбор и обоснование метода получения заготовки: критерии выбора, схематическое изображение (эскиз) заготовки с припусками.
Для того чтобы определить вид заготовки, проведем анализ основных признаков детали в таблице 2.
Таблица 2.
| Признак | Значение | Приоритетные виды заготовок |
| Форма детали | Сложная | О, СК, ОД |
| Заготовительные свойства материала: | ||
| Жидкотекучесть | Удовлетворительная | О |
| Пластичность | Удовлетворительная | ОД, П, ПМ |
| Свариваемость | Удовлетворительная | СК |
| Обрабатываемость резанием | Удовлетворительная | П, ПМ |
| Плотность материала | Обычная | * |
| Ориентированность структуры | Нет | * |
| Удельная стоимость материала | Обычная | О, ОД, ПМ |
| Ответственность | Обычная | * |
| Тип производства | Серийное | П, ОД, СК, О |
Вывод: вид заготовки – отливка.
Для уточнения метода получения заготовки необходимо проанализировать основные параметры:
а) Габариты детали: 242 *382 мм
б) Масса детали: ~ 46 кг
в) Вид производства: крупносерийное
г) Конструктивные особенности: Деталь имеет сложную форму, преобладают поверхности вращения, имеются приливы под отверстия, ребра жесткости, минимальная толщина стенок 14 мм..
Необрабатываемые поверхности имеют щероховатость Rz 320 и должны быть выполнены по 16 квалитету.
Заготовка для корпуса буксы является отливкой III класса точности. Такие отливки обеспечиваются ручной формовкой в песчаные формы. Этот способ является оптимальным для изготовления отливок любой сложности. Помимо всего, это самым доступный метод получения отливки для крупносерийного производства. Отверстия в детали образуются с помощью размещённых в форме литейных песчаных стержней, копирующих форму будущего отверстия. Насыпанная в опоки смесь уплотняется встряхиванием, прессованием или же затвердевает в термическом шкафу (сушильной печи).
Метод получения заготовки: литье в песчаные формы.
С целью получения мелкозернистой структуры отливки корпуса подвергаются термической обработке (рис. 7).
Рис. 7
Вывод: на основании проведенного анализа выбираем в качестве заготовки отливку, получаемую методом литья в песчаные формы. Эскиз заготовки приведен на рисунке 8.
Рис. 8. Эскиз заготовки
2.5. Маршруты обработки основных поверхностей детали, их обоснование.
Ниже приведены маршруты обработки для поверхностей, изображенных на рисунке 9, показан маршрут их обработки, достигаемый параметр точности и шероховатости.
Маршрут обработки внутренней цилиндрической поверхности 1
Rz20:
Черновое растачивание IT15 Rz 200
Получистовое растачивание IT12 Rz50
Чистовое растачивание IT8 Rz 20
Маршрут обработки внутренней цилиндрической поверхности
) Ra3.2 :
Растачивание обдирочное IT13 Rz100
Растачивание черновое I T11 Rz63
Растачивание получистовое IT9 Rz25
Растачивание чистовое IT7 Ra3,2
Маршрут обработки внутренней цилиндрической поверхности 3
Rz40
Черновое растачивание IT15 Rz200
Получистовое растачивание IT12 RZ40
Маршрут обработки торцевой поверхности
Rz40
Черновое точение IT15 Rz200
Получистовое точение IT12 Rz40
Маршрут обработки отверстий
, поверхность 5
Центрование
Сверление IT12 Ra 12.5
Резьбонарезание
Зенкование
Маршрут обработки фасок 6,7,8,9 1×45º
Растачивание IT12 Ra 6.3
2.6. Выбор баз и анализ схем базирования для нескольких операций.
Для достижения указанных параметров точности необходимо выбрать рациональные схемы базирования заготовки при обработке, т. е. стремиться к соблюдению следующих принципов: принцип совмещения конструкторских, технологических и измерительных баз.
Заготовка является жесткой, и никаких дополнительных ограничений на выбор схем базирования не накладывает. На первой операции деталь базируется по черновым базам и подготавливается база для последующих операций: обрабатывается торец и внутренняя цилиндрическая поверхность. Базирующими поверхностями являются наружные плоские выступающие части детали.
Рис. 10
Альтернативные схемы базирования: по цилиндрическим и плоским частям детали, но такая схема хуже, так как требует более сложного приспособления. Можно базировать не по верхним выступам, а по нижним, но в этом случае понизится жесткость детали
После обработки деталь базируется по внутренней цилиндрической поверхности и торцу (чистовая база) и производится дальнейшая токарная обработка плоских и цилиндрических поверхностей.
Рис. 11
Других схем базирования нет, так как все остальные поверхности детали черновые (ещё не обработаны).
2.7. Разработка маршрута изготовления детали для заданного типа производства с выбором технологического оборудования, инструментов, средств контроля.
Ниже приведено маршрутное описание технологического процесса изготовления детали «корпус буксы», разработанного на основании п. 2.5 и базового технологического процесса.
Операция 005 токарно-карусельная с ЧПУ (рис. 12)
Оборудование Токарно-карусельный станок HONOR SEIKI VL-46F с ЧПУ
Инструмент расточные резцы.
Контроль ведется стандартными средствами измерения, штангенциркуль, глубиномер, штангенрейсмас
Рис. 12
Операция 010 токарно-карусельная с ЧПУ (рис. 13)
Оборудование Токарно-карусельный станок HONOR SEIKI VL-46F с ЧПУ
Инструмент расточные резцы, подрезные резцы.
К
онтроль ведется стандартными средствами измерения, штангенциркуль, глубиномер, штангенрейсмас. Также для контроля торцевого биения используется индикатор с ценой деления 0,01 мм
Рис. 13
Рис. 14
Операция 015 токарно-карусельная с ЧПУ (рис. 15)
Оборудование Токарно-карусельный станок HONOR SEIKI VL-46F с ЧПУ
Инструмент расточные резцы, подрезные резцы
Контроль ведется стандартными средствами измерения, штангенциркуль, глубиномер, штангенрейсмас и специальными приборами индикатрного типа.
Рис. 15
Операция 020 сборочная (рис. 16)
Оборудование пресс
Рис. 16
Операция 025 сверлильно-фрезерно-расточная с ЧПУ (рис.17)
Оборудование 5-ти координатный обрабатывающий центр Micron 1850U
Инструмент расточные резцы, концевые и торцевые фрезы.
Контроль ведется стандартными средствами измерения, штангенциркуль, глубиномер, штангенрейсмас и спрециальными устройствами индикаторного типа для контроля параметров взаимного расположения поверхностей.
Рис. 17
2.8. Разработка технологических наладок для операций с выбором режущих инструментов, обоснованием и расчетом режимов обработки и припусков.
2.8.1. Разработка технологических наладок, расчеты режимов обработки
Операция 025 сверлильно-фрезерно-расточная с ЧПУ
Оборудование 5-ти координатный обрабатывающий центр Micron 1850U
Приспособление – трехкулачковый самоцентрирующийся патрон.
Режущий инструмент:
-
фреза торцевая с СМП coromill, материал СМП Т15К6.
-
Резец расточной с СМП 62272 ГОСТ 25395-90, материал СМП Т15К6
-
Сверло центровочное 4 ГОСТ 14952-75, материал – Р6М5.
-
Сверло спиральное 17,4 ГОСТ 10903-77, материал – Р6М5.
-
Зенковка коническая 14 ГОСТ 14953-80, материал – Р6М5.
Переход 1 (рис. 18)
Фрезеровать торцы в размер 173 ±1мм.
Рис. 18
Глубина резания t = 5 мм
Табличное значение Szт = 0,14 мм/об (табл. 110 [5])
Поправочные коэффициенты (табл. 114 [5])
-
Коэффициент, учитывающий материал фрезы (Т15К6) KSzи = 0,85
-
Коэффициент, учитывающий шероховатость обработанной поверхности KSzR = 0.5
-
Коэффициент, учитывающий шифр схемы фрезерования KSzс = 0,6
Расчетное значение подачи
Sz = 0,14*0,85*0,5*0,6 = 0,035 мм/об.
Sо = Sz * z = 0,03*6 = 0,21 мм/об.
Табличное значение скорости резания Vт = 186 м/мин (табл. 117 [5]).
Поправочные коэффициенты для материала VI группы (табл. 118 [5]):
-
Коэффициент, учитывающий материал инструмента (Т15К6) KVи = 1,52
-
Коэффициент, учитывающий состояние поверхности (с коркой) KVп = 0,8
-
Коэффициент, учитывающий главный угол в плане = 45 KV = 1,1
-
Коэффициент, учитывающий ширину фрезерования KVB = 1,0
Расчетное значение скорости
V = 186*1,52*0,8*1,1*1,0 = 178,56 м/мин
Расчетная частота вращения
n = 1000*V/πD = 1000*178,6/(3,14*100) = 568 об/мин,
где D – диаметр фрезы.
Принятая частота вращения n = 550 об/мин.
Фактическая скорость резания V = n*D*π/1000 = 172,7 м/мин.
Основное время работы
Расчеты режимов резания для остальных переходов данной операции и других операций были проведены с помощью программы "Режимы резания".
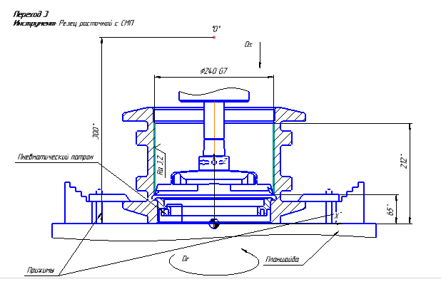
Переход 3 (рис. 19)
Расточить внутреннюю цилиндрическую поверхность
Ra3.2
Рис. 19
Глубина резания t=0,2 мм
Подача на оборот S = 0,1 мм/об.
Подача минутная Sм = 35 мм/мин.
Скорость v = 200 м/мин.
Частота вращения шпинделя n = 300 об/мин.
Время обработки tо=3.75 мин
Переход 4 (рис. 20)
Центровать 4 отверстия на глубину 3 мм
Рис. 20
Глубина резания t=2,5 мм
Подача на оборот S = 0,04 мм/об.
Подача минутная Sм = 30 мм/мин.
Скорость v = 22 м/мин.
Частота вращения шпинделя n = 820 об/мин.
Время обработки tо=0,15 мин
Переход 5 (рис. 21)
Сверлить 4 отверстия 17,4 на глубину
Рис. 21
Глубина резания t=8,7 мм
Подача на оборот S = 0,2 мм/об.
Подача минутная Sм = 80 мм/мин.
Скорость v = 22 м/мин.
Частота вращения шпинделя n = 400 об/мин.
Время обработки tо1 =0,8 мин to=3,2 мин
Переход 6 (рис. 22)
Зенковать 4 отверстия 17,4 на глубину 1.6
Рис. 22
Глубина резания t=1,6 мм
Подача на оборот S = 0,5 мм/об.
Подача минутная Sм = 200 мм/мин.
Скорость v = 25 м/мин.
Частота вращения шпинделя n = 450 об/мин.
Время обработки tо=0,05 мин
Операция 010 Токарно-карусельная с ЧПУ
Оборудование Токарно-карусельный станок HONOR SEIKI VL-46F с ЧПУ
Инструмент
-
резец подрезной с смп, ГОСТ 18880-73, материал Т15К6
-
резец расточной с смп , ГОСТ 18883-73, материал Т15К6
Переход 1 (рис. 23)
Точить торец в размер 246±0,5 мм
Рис. 23
1 рабочий ход
Глубина резания t=3 мм
Подача на оборот S = 0,95 мм/об.
Подача минутная Sм = 180 мм/мин.
Скорость v = 150 м/мин.
Частота вращения шпинделя n = 200 об/мин.
Время обработки tо=0,5 мин
2 рабочий ход
Глубина резания t=1,1 мм
Подача на оборот S = 0,45 мм/об.
Подача минутная Sм = 100 мм/мин.
Скорость v = 190 м/мин.
Частота вращения шпинделя n = 250 об/мин.
Время обработки tо=1 мин
3 рабочий ход
Глубина резания t=0,4 мм
Подача на оборот S = 0,1 мм/об.
Подача минутная Sм = 50 мм/мин.
Скорость v = 190 м/мин.
Частота вращения шпинделя n = 250 об/мин.
Время обработки tо=2 мин
Переход 2 (рис. 24)
Точить
на глубину 20 мм,
на глубину 195±1 Rz80
Рис. 24
1 рабочий ход
Глубина резания t=3 мм
Подача на оборот S = 0,3 мм/об.
Подача минутная Sм = 70 мм/мин.
Скорость v = 200 м/мин.
Частота вращения шпинделя n = 250 об/мин.
Время обработки tо=2,9 мин
2 рабочий ход
Глубина резания t=1 мм
Подача на оборот S = 0,3 мм/об.
Подача минутная Sм = 30 мм/мин.
Скорость v = 75 м/мин.
Частота вращения шпинделя n = 100 об/мин.
Время обработки tо=5,8 мин
3-4 рабочие ходы
Глубина резания t=0.5 мм
Подача на оборот S = 0,3 мм/об.
Подача минутная Sм = 30 мм/мин.
Скорость v = 75 м/мин.
Частота вращения шпинделя n = 100 об/мин.
Время обработки tо=5,8 мин
Переход 3 (рис. 25)
Точить
на глубину 20 мм,
на глубину 195±1 Rz80
Глубина резания t=0.2 мм
Подача на оборот S = 0,1 мм/об.
Подача минутная Sм = 35 мм/мин.
Скорость v = 200 м/мин.
Частота вращения шпинделя n = 300 об/мин.
Время обработки tо=3,75 мин
2.8.2. Расчет припусков
Маршрут обработки внутренней цилиндрической поверхности
) Ra3.2 :
Отливка IT17 Rz 320
Растачивание обдирочное IT13 Rz100
Растачивание черновое I T11 Rz63
Растачивание получистовое IT9 Rz25
Растачивание чистовое IT7 Ra3,2
Диаметр поверхности исходной заготовки и обработанной поверхности детали принадлежат к одной размерной группе, поэтому могут быть определены допуски на диаметр, соответствующие квалитетам : IT17- 4,6 мм; IT13- 0,72 мм; IT11- 0,29 мм; IT9=0,115; IT7- 0,046 мм.
Величину пространственных отклонений заготовки
определяем по формуле
где
общаяя кривизна заготовки, мкм/мм.
где
удельная кривизна заготовки, полученной выбранным методом, мкм/мм;
расстояние до сечения, для которого определяется кривизна, от ближайшего наружнего торца, мм.
Из таблицы 8 [1, c.168]
, длина обрабатываемой поверхности 158мм
После каждого перехода механической обработки величина пространственного отклонения уменьшается с учетом соответствующего коэффициента уточнения
где
пространственное отклонение (i-1) перехода после обработки поверхности;
пространственное отклонение после i-го перехода обработки;
коэффициент уточнения для i-го перехода [1].
Для каждого i-го перехода обработки определяем погрешность установки заготовки
В представленном маршруте все переходы выполняются при установке в трехкулачковый патрон. Погрешность базирования всех диаметральных размеров равна нулю. Погрешность закрепления равна 20 мкм. Можно принять, что для каждого перехода
Определяем значение минимального припуска на диаметральный размер для i-го перехода механической обработки:
где
значение параметра шероховатости поверхности, полученное после (i-1) перехода ее обработки;
значение величины дефектного слоя, сформированного после (i-1) перехода;
значение пространственного отклонения после (i-1) перехода;
погрешность установки в i-м переходе. Данные для каждой операции вносим в карту припусков.
Далее определяем значение наименьших расчетных размеров поверхности по переходам. Определем предельные наименьшие размеры по переходам, для чего округляем расчетные. Предельные наибольшие размеры по переходам определяем, прибавляя к значениям предельных наименьших размеров значения соответствующих допусков.
Фактические минимальные припуски
Где,
;
предельные наименьшие размеры поверхности после (i-1) и i переходов соответственно.
Аналогично фактические максимальные припуски
Определяем общие припуски:
- общий наибольший припуск
- общий наименьший припуск
| МГТУ имени Н.Э.Баумана | Карта расчета припусков на обработку и предельных размеров по технологическим переходам | Группа МТ3-81 | |||||||||||||||||||||||
| Факультет МТ | Наименование детали: корпус | Студент Лопатина Е.С. | |||||||||||||||||||||||
| Кафедра МТ3 | Вид заготовки: отливка, полученная литьем в песчаные формы | Марка материала: Сталь 15Л | Фамилия, инициалы. | ||||||||||||||||||||||
| Элементарная поверхность детали. Технологический маршрут ее обработки с указанием точности и шероховатости поверхности по детали | Элементы припуска, мкм | Расчет-ный припуск мкм 2Zmin | Расчетный размер, мм | Допуск, мкм | Предельные размеры заготовки по переходам, мм | Фактические предельные значения припусков,мм | При-меча-ния | ||||||||||||||||||
|
| h | Δ |
| наименьший | наибольший | Zmax | Zmin | ||||||||||||||||||
| Внутренняя цилиндрическая поверхность | |||||||||||||||||||||||||
| Отливка | 320 | 200 | 158 | - | - | (248,114) | 4600 | 243,4 | (248) | ||||||||||||||||
| Растачивание обдирочное | 100 | 50 | 9,48 | 20 | 1356 | 249,47 | 720 | 248,75 | 249,47 | 5,35 | 1,47 | ||||||||||||||
| Растачивание черновое | 63 | 25 | 0,6 | 0 | 344 | 249,814 | 290 | 249,52 | 249,81 | 0,77 | 0,34 | ||||||||||||||
| Растачивание получистовое | 25 | 10 | 0 | 0 | 177 | 249,991 | 115 | 249,876 | 249,991 | 0,356 | 0,181 | ||||||||||||||
| Растачивание чистовое | 12.5 | 5 | - | - | 70 | 250,061 | 46 | 250,015 | 250,061 | 0,139 | 0,07 | ||||||||||||||
3.Возможность достижения точности обработки внутренней цилиндрической поверхности 250
указанным методом.
В процессе изготовления деталей неизбежно возникают отклонения от заданной геометрической формы, как например: овальность, конусность, вогнутость, непрямолинейность и другие погрешности. К основным причинам погрешностей, возникающих при механической обработке, относятся: неточность металлообрабатывающих станков, инструментов, приспособлений, деформации обрабатываемых деталей и их нагрев при обработке, неточность настройки станков и измерений, неточность установки детали и др. Точность обработки на металлорежущих станках зависит от многих факторов, учесть которые не всегда удается полностью. Точность размеров обработанных деталей обеспечивается необходимым технологическим процессом, выбором оборудования и режимами резания.
Цель данной исследовательской работы определить, возможно ли выбранными методами обработки достигнуть необходимую точность внутренней цилиндрической поверхности 250
.
Суммарная погрешность обработки определяется по формуле 1.
Δ = Δу + εинс + Δн + Δт + Δст (1)
Δу — погрешность формы обрабатываемой поверхности, получаемая в результате копирования элементарных погрешностей заготовки, в условиях упругой технологической системы.
εинс — погрешность установки режущего инструмента на размер (погрешность проверки), зависящая от квалификации рабочего и вида применяемого измерительного инструмента;
Δи — погрешность формы поверхности из-за размерного изнашивания режущего инструмента;
Δт — погрешности формы, вызываемые тепловыми деформациями технологической системы в процессе обработки одной детали;
Δст — погрешность формы обрабатываемой поверхности, возникающая из-за геометрических неточностей станка.
Проведем расчёты непосредственно для нашего маршрута обработки.
Исходные данные:
Маршрут обработки внутренней цилиндрической поверхности
) Ra3.2 :
Растачивание обдирочное IT13 Rz100
Растачивание черновое I T11 Rz63
Растачивание получистовое IT9 Rz25
Растачивание чистовое IT7 Ra3,2
Оборудование 5-ти координатный обрабатывающий центр Micron 1850U
Приспособление – трехкулачковый самоцентрирующийся патрон.
Режущий инструмент: Резец расточной с СМП 62272 ГОСТ 25395-90, материал СМП Т15К6
Глубина резания t=0.2 мм
Подача на оборот S = 0,1 мм/об.
Подача минутная Sм = 35 мм/мин.
Скорость v = 200 м/мин.
Частота вращения шпинделя n = 300 об/мин.
Время обработки tо=3,75 мин
Погрешность установки заготовки в приспособлениях вычисляют с учетом погрешности базирования
, закрепления заготовок
, изготовления и износа опорных элементов приспособлений
.
Т.к. данные погрешности являются случайными величинами :
, т.к. измерительная база совпадает с технологической
При укрупненных расчетах точности обработки погрешность Δεу, соответствующую последней формуле, можно определить по табл. 13 [1].
= 50 мкм.
Погрешность изготовления и износа опорных элементов приспособлений
возьмем из таблицы 5. [6]
=50 мкм,
Тогда по формуле 2
Δу= 50 мкм.
Размерный износ инструмента измеряют в направлении нормали к обрабатываемой поверхности и суммируют с другими погрешностями.
Линейная зависимость размерного износа инструмента от длины пути резания на основном участке позволяет принять за характеристику размерного износа относительный износ на 1000 м пути резания Uo мкм/м. длина пути резания при точении одной заготовки, м:
Lд = Vt0; (3)
Lд =πДlд/1000S= 1295мм; (4)
где V – скорость резания, м/мин;
Д – диаметр обрабатываемой поверхности, мм;
lд – длина обрабатываемой поверхности, мм;
S – подача, мм/об.
Длина пути резания LN для партии заготовок N, обрабатываемых в период между подналадками станка, и длина пути за период стойкости резца LT соответственно:
LN= LдN=12950; (5)
Для того чтобы учесть более интенсивное начальное изнашивание, условно принято увеличивать полученную расчетом длину пути резания на LH = 1000 м. Тогда полная длина пути резания для партии деталей
L=LN+LH= 13950 (7)
Приняв по нормативным или экспериментальным данным относительный размерный износ Uo резца для данных условий выполнения операции, определяют размерный износ:
Δи =LUo/1000=7,7мкм
Δст — погрешность формы обрабатываемой поверхности, возникающая из-за геометрических неточностей станка примем 0,003 мкм
Погрешность настройки инструмента принимаем 0,005 мкм, т.к. станок с ЧПУ
Определим температурные деформации технологической системы, приняв их равными 15% от суммы остальных погрешностей,
112)=29 мкм
Т.к. нельзя определить сторону отклонений данной погрешностей, примем формулу
41,2 мкм Δ∑≤ITd2 .
Вывод: данная операция обеспечивает необходимую точность изготовления внутренней цилиндрической поверхности
) Ra3.2 .
СПИСОК ЛИТЕРАТУРЫ
-
Справочник технолога-машиностроителя. В 2-х т. Т. 1/Под ред. А. Г. Косиловой и Р.К. Мещерякова. – 4-е изд., перераб. и доп. – М.:Машиностроение, 1986. 656с., ил.
-
Курсовое проектирование по технологии машиностроения: учебное пособие/ А.И. Кондаков. – М.:Кнорус, 2012. – 400с.
-
Стали и сплавы. Марочник: Справ. изд. / В.Г. Сорокин и др.: Науч. С77 ред. В.Г. Сорокин, М.А. Гервасьев – М.: «Интермет Инжиниринг», 2001 – 608с.:ил.
-
Справочник технолога-машиностроителя. В 2-х т. Т. 2/Под ред. А. Г. Косиловой и Р.К. Мещерякова. – 4-е изд., перераб. и доп. – М.:Машиностроение, 1985. 486с., ил.
-
Прогрессивные режущие инструменты и режимы резания металлов: Справочник/ В. И. Баранчиков, А. В. Жаринов, Н. Д. Юдина и др.; под общ. ред. В. И. Баранчикова. – М.: Машиностроение, 1990. – 400 с.: ил.
31
100>
и
подсборки из данной конструкции).















