84766 (763865), страница 2
Текст из файла (страница 2)
Если напряженность поля в зарядном устройстве не превышает 100 В/см, то осуществляется диффузионный режим зарядки. При напряженностях поля, больших значения 1 Кв/см, осуществляется преимущественно ударный режим зарядки частиц. Время зарядки частиц t определяется экспериментально, как частное от деления длины зарядного устройства на скорость течения аэровзвеси. При ударном режиме зарядки частиц вытягивающее поле должно создаваться источником переменного напряжения, так как в случае постоянного вытягивающего поля большой напряженности неизбежна потеря значительной части заряжаемых аэрозолей, осаждающихся на электроде 5. Концентрация заряженных частиц определяется счетчиком аэрозолей АЗ-5. Заряд частиц контролируется измерителем плотности объемного заряда 10 нашей конструкции.
Изучение электрооптических явлений в заряженных аэродисперсных средах позволяет получить информацию о связи зарядов и электрических дипольных моментов частиц и представляет значительный интерес при исследовании процессов электризации аэрозолей и образования двойных электрических слоев. Состояние сильно развитой поверхности аэрозолей оказывает определяющее влияние на их поведение в электрических полях.
Образование двойного электрического слоя можно наблюдать у заряженных частиц. В процессе заряжения отрицательные ионы и свободные электроны при контакте с частицей заряжают ее отрицательно, при этом электроны уходят в частицу, а ионы, передав электроны частице, могут покинуть ее в виде нейтральных молекул. Положительные ионы, в свою очередь, достигнув частицы, извлекают из нее электроны, при этом работа ионизации зависит от величины работы выхода электронов из частицы.
Заряженная частица притягивает противоположно заряженные ионы, и на ее поверхности образуется двойной электрический слой. В зависимости от заряда поверхности на ней имеет место адсорбция ионов, которая может быть как положительной, так и отрицательной (избыток или недостаток ионов). При потенциале нулевого заряда ионы не притягиваются к поверхности частицы, и поэтому электростатическая адсорбция ионов поверхностью равна нулю. Если ионы адсорбируются поверхностью не только за счет кулоновской силы, но и за счет других специфических сил, то и при нулевом заряде частицы адсорбция не равна нулю. С помощью [15] электрооптического фотометра было исследовано влияние, которое оказывает процесс униполярного заряжения аэрозолей на ход полевых зависимостей электрооптического отклика E) и (E2). Регистрация осуществлялась с помощью селективного усилителя УПИ-1, подключенного к выходу ФЭУ и настроенного на частоту импульсного ориентирующего поля. Угол рассеяния фиксировался (Q=45). Зависимости (E) измерялись для аэрозолей хлорида аммония, заряжаемых в режиме униполярной диффузионной зарядки.
Рис. 2. Зависимость электрооптического светорассеяния от напряженности импульсного ориентирующего поля для разных зарядов частиц
На рис. 2 приведено снятое при различных значениях зарядов частиц семейство графиков зависимости величины электрооптического светорассеяния от напряженности E ориентирующего поля прямоугольных однополярных импульсов с частотой следования, равной 1 кГц. Из графиков видно, что величина фотоотклика увеличивается при заряжении частицы хлористого аммония положительно заряженными ионами и уменьшается при заряжении частиц отрицательными ионами.
Эффект выражен тем ярче, чем больший заряд получают аэродисперсные частицы. При больших значениях среднего отрицательного заряда, приходящегося на частицу (-90e, что близко к предельному заряду для частиц этого размера), значение отклика электрооптического светорассеяния заметно уменьшается. Полевые зависимости величины электрооптического светорассеяния имеют характерную S-образную форму. В начальной части кривые изменяются по квадратичному закону (до значений напряженности поля 1-2 кВ/см), при этом крутизна кривых растет с ростом напряженности. После квадратичного участка наблюдается участок перегиба, на котором крутизна кривой начинает уменьшаться. Для участка перегиба характерны напряженности поля 4 6 кВ/см.
После перегиба на кривых наблюдается протяженный пологий участок, тянущийся до значений напряженности примерно 8 кВ/см. При больших напряженностях ориентирующего поля наблюдается резкий спад величины электрооптического отклика (отрицательный наклон кривой), обусловленный началом наблюдаемого визуально электрофоретического движения аэрозолей в электрическом поле. Электрофорез аэрозолей сопровождается образованием линейных нитеобразных комплексов, участвующих в поступательном движении в направлении поля, что маскирует одновременные колебательно-вращательные движения аэрозольных частиц с частотой ориентирующего поля и приводит к снижению электрооптического отклика. Электрофорез отрицательно заряженных аэрозолей начинается несколько раньше, чем у нейтральных и положительно заряженных частиц, следовательно, положительно заряженная аэродисперсная система является более стабильной, чем заряженная отрицательно. Наблюдаемый эффект изменения электрооптического отклика в зависимости от заряда мы объясняем изменением значения индуцированного дипольного момента аэрозольных частиц, происходящим при их ориентации в поле. Появление у частицы индуцированного дипольного момента в последнее время связывают с эффектом поляризации двойного электрического слоя [5, 9]. Описанные выше зависимости электрооптического светорассеяния от частицы ориентирующего поля свидетельствуют о проявлениях концентрационной поляризации двойного электрического слоя (ДЭС).
Зависимость отклика от величины заряда свидетельствует о наличии выравнивающих поверхностных ионных токов, возникающих при отклонении ДЭС от равновесия при помещении частицы в электрическое поле. Заряжение частицы изменяет соотношение составляющих поверхностного ионного тока, протекающего при поляризации ДЭС.
Так, если у положительно заряженных частиц в переменном электрическом поле доминирует ток ионов, связанных со слоем Штерна или имеющих малую подвижность, то это равносильно увеличению постоянного дипольного момента частицы.
Если же у частицы при протекании уравнивающего тока доминирует поток ионов, связанных с диффузным слоем Гуи или имеющих большую подвижность, то это равносильно уменьшению дипольного момента частицы.
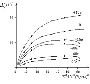
На рис. 3 изображено семейство графиков зависимости величины электрического светорассеяния частиц хлорида аммония от квадрата напряженности импульсного ориентирующего поля при постоянной частоте следования импульсов, равной 1 кГц. Графики сняты при различных значениях среднего заряда, приходящегося на одну частицу
Рис. 3. Зависимость электрооптического светорассеяния от квадрата напряженности импульсного ориентирующего поля для разных зарядов частиц.
На графиках отчетливо выделяются три области, характеризующиеся различными степенями ориентации частиц:
линейная зависимость светорассеяния в начальной части кривой соответствует низкой степени ориентации;
перегиб кривой соответствует средним степеням ориентации частиц;
пологая часть кривой соответствует полной ориентации частиц в электрическом поле.
Из кривых видно, что ориентация отрицательно заряженных частиц наступает при меньших значениях напряженностей ориентирующего поля. Так как увеличение или уменьшение дипольного момента у разноименно заряженных частиц связывается нами с особенностями строения их двойного слоя, было решено исследовать электрооптический отклик аэрозольных частиц хлорида аммония с поверхностными слоями, образованными адсорбцией паров различных спиртов и полярных растворителей.
Свежеприготовленные аэрозоли пропускались через проточную кювету, в которой помещалось определенное количество легколетучего растворителя. Над зеркалом жидкости за счет испарения поддерживалось давление паров, характерное для комнатной температуры. При прохождении потока аэрозолей через атмосферу паров происходила адсорбция ионов растворителя на поверхности аэрозольных частиц. Заряжение частиц изменяло адсорбцию ионов и, соответственно, величину электрооптического отклика.
Было исследовано влияние на электрооптический отклик паров амилового и октилового спиртов, хлороформа, ксилола, гексена, ацетона и растворителя № 646. Нами показано, что пары хлороформа, гексена, ксилола и амилового спирта не меняют характер зависимости электрооптического отклика от знака заряда. Так же, как и на воздухе, положительно заряженные частицы демонстрируют больший электрооптический отклик, чем отрицательные. Иная картина наблюдается при адсорбции на частице молекул ацетона, бензина, октилового спирта и растворителя № 646. При этом у отрицательно заряженных частиц наблюдается больший электрооптический отклик, чем у положительных. Эти факты доказывают, что адсорбированные на аэрозольных частицах слои влияют на их электрооптические свойства.
Список литературы
Arendt P., Kallmann H. // Zeitschrift fur Phys. 1926. B. 35. № 6. S. 421-441.
Фукс Н.А. Механика аэрозолей. М.: Изд-во АН СССР, 1955. 352 с.
White H.J. Industrial Electrostatic precipitation. N.Y.: Addison-Wesley Publisching Co., Inc., 1963. 165 p.
Boidstron Y., Brock J.R. // Atmos. Environ. 1970. V. 4. № 1. P. 35-50.
Gentry J.W., Brock J.R. // J. Chem. Phys. 1967. V. 47. № 1. P. 64-69.
Gentry J.M. // J. Aerosol Sci. 1972. V. 3. № 1. P. 65-76.
Brock J.R., Wu M.S. // J. Colloid and Interface Sci. 1970. V. 33. № 3. P. 473-474.
Liu B.Y.H., Yen H.C. // J. Appl. Phys. 1968. V. 39. № 3. P. 1396-1402.
Smith W.B., McDonald J.R. // J. Aerosol Sci. 1976. V. 7. № 2. P. 151-166.
Седунов Ю.С. // Инженерно-физический журнал. 1959. Т. 2. № 12. С. 57-63.
Мирзабекян Г.З. // Сильные электрические поля в технологических процессах. М.: Энергия, 1969. С. 20-38.
Vomela R.A., Whitby K.T. // J. Colloid and Interface Sci. 1967. V. 25. № 4. P. 568-576.
Лушников А.А., Максименко А.Г., Симонов А.Я. // Изв. вузов. Радиофизика. 1984. Т. 27. № 6. С. 726-733.
Hewitt G.W. // AIEE Trans. 1957. V. 76. № 4. P. 307-309.
Сушко Б.К. // Вестник Башкирского университета. 1999. № 3. С. 35-39.
Для подготовки данной работы были использованы материалы с сайта http://www.bashedu.ru















