168970 (742194)
Текст из файла
Введение
Галлий, побочный продукт переработки алюминиевых соединений, получается из части так называемого зеленого раствора, образующегося в процессе производства оксида алюминия А12О3. Оксид галлия Ga2О3, присутствующий в бокситах, растворяется вместе с оксидом алюминия при вываривании руды. Растворимый оксид галлия накапливается в циркулирующем растворе до концентрации ~0,2 г/л, после чего происходит его частичное осаждение. После насыщения раствора оксидом галлия его концентрация остается относительно постоянной, остальное количество выводится из процесса вместе с красным шламом.
Глава 1. ПРОЦЕСС ПОЛУЧЕНИЯ ГАЛЛИЯ ИЗ АЛЮМИНИЕВЫХ РУД
В алюминиевых рудах часто присутствуют редкие металлы: галлий, ванадий, стронций, скандии и др. Содержание их измеряется сотыми н тысячными долями процента. Однако при переработке руды на глинозем редкие металлы накапливаются в промежуточных продуктах производства, из которых могут быть извлечены.
Твердый галлий — серебристо-белый металл с синеватым оттенком. Плотность твердого галлия при 20°С 5,904 г/см3, жидкого при температуре плавления (29,8°С) 6,095 г/см3. При затвердевании галлий, подобно воде, расширяется; температура кипения его 2230 ºС.
По химическим свойствам галлий очень сходен с алюминием. При обычной температуре, в сухом воздухе галлий окисляется, с кислородом начинает взаимодействовать при температуре выше 260 °С, образующаяся при этом пленка оксида (Ga2O3) защищает металл от дальнейшего окисления.
Оксид галлия и его гидроксид Gа(ОH)3 растворяются в кислотах и основаниях. При взаимодействии с раствором NaOH образуется галлат натрия NaGaO2, который, как и алюминат натрия, может подвергаться гидролизу с выделением в осадок Gа(ОН)3. Однако кислотные свойства Ga(OH)3 выражены несколько сильней, чем у Al(OH)3 , поэтому выделение гидроксидов алюминия и галлия из щелочных растворов происходит при различных значениях рН. Галлий нашел широкое применение в полупроводниковой электронике и радиохимической технике, для изготовления высокотемпературных термометров и манометров, оптических зеркал, низкотемпературных сплавов, для создания сверхвысоких давлении, в космонавтике. Одной из перспективных областей применения галлия является использование его в элементах солнечных батарей.
При выщелачивании алюминиевых руд и спеков на их основе в раствор вместе с глиноземом переходит 50—90 % галлия от содержания его в руде. Однако большое химическое сходство алюминия и галлия затрудняет их разделение и вызывает большие потери галлия с гидроксидом алюминия.
Разделение алюминия и галлия основано на различии в поведении алюмината и галлата натрия при разложении алюминатных растворов. Благодаря более сильно выраженным кислотным свойствам гидроксида галлия но сравнению с гидроксидом алюминия маточный раствор после декомпозиции или после карбонизации оказывается обогащенным галлием сравнении с исходным алюминатным раствором.
Для непосредственного извлечения галлия используют разные продукты глиноземного производства: при переработке бокситов способом Байера — маточные и оборотные растворы после декомпозиции, способом спекания — алюмокарбонатный осадок после двустадийной карбонизации; при переработке нефелинов—маточный раствор после выделения поташа.
Для выделения галлия из растворов применяют метод цементации на галламе алюминия — жидком сплаве галлия с алюминием. Перед цементацией раствор очищают от примесей ванадия, фосфора, фтора, хрома и др.; способ очистки зависит от вида примесей, которыми загрязнен раствор, и их количества. Примеси ванадия, фосфора, фтора удаляют кристаллизацией их соединении при охлаждении растворов до 15—20°С. Галлии при таком охлаждении остается в растворе. Широко применяют для очистки от примесей обработку растворов известковым молоком; при этом примеси осаждаются с образующимся трехкальциевым гидроалюминатом ЗсаО.Al2O3 .H2O .
Получение галлия основано на разности электрохимических потенциалов галламы алюминия и галлия. Алюминий как более электроотрицательный металл переходит из галламы в раствор, а галлий осаждается на галламе:
NaGaО2+4Al+2NaOH+2H2O=4NaAlO2+2Ga+3H2↑.
Цементацию осуществляют как непрерывный процесс в серии аппаратов — цементаторов. Содержание галлия в растворе, поступающем на цементацию, достигает 0,4--0,5 г/л. В заполненный раствором цементатор заливают жидкий галлий, в котором растворяют гранулированный алюминий. Концентрацию алюминия в галламе каждого цементатора поддерживают постоянной, для чего в цементатор добавляют гранулированный алюминий, который оседает на дно и растворяется в галламе. В головном цементаторе концентрация алюминия в галламе составляет 0,7—1 % (но массе). Так как содержание галлия в растворе по мере прохождения его через цементаторы уменьшается, то и концентрация алюминия в галламе должна уменьшаться от головного цемснтатора к хвостовому.
Присутствующие в растворе примеси, взаимодействуя с галлием, образуют шлак, содержащий до 90 % галлия. Металл и шлак выпускают из цементатора периодически по мере накопления. Шлак отделяют от металла фильтрацией и обрабатывают раствором каустической щелочи. Полученный при этом раствор галлата натрия отделяют от нерастворившихся примесей и возвращают на цементацию.
Разработан способ извлечения галлия из растворов глиноземного производства, основанный на осаждении галлия в составе хлорсодержащего гидроалюмината натрия, в котором ионы алюминия частично замещены ионами галлия. Из осадка галлий переводят в раствор, содержащий галлия 1—1,5 г/л. При цементации галлия из таких растворов значительно снижается расход гранулированного алюминия, уменьшается шламообразование и увеличивается производительность цементаторов.
Галлий может быть выделен из раствора также электролитическим способом. Электролитом при электролизе служит алюминатно-галлатный раствор, содержащий галлия до 3 г/л. При прохождении через электролит постоянного тока галлий выделяется на катодах, выполненных из нержавеющей стали, и стекает на дно электролизера. В ряде зарубежных стран широко применяется ртутный метод извлечения галлия из растворов, который заключается в электролитическом осаждении галлия на ртутном катоде.
При цементации и электролизе получается черновой галлий, который загрязнен примесями, поэтому его требуется рафинировать.
Черновой галлий фильтруют через пористые стеклянные пластины для удаления примесей, имеющих ограниченную растворимость в галлии при температуре, близкой к температуре его плавления (железо, кремний). Затем галлий обрабатывают разбавленными кислотами (НNО3 и HСl) и промывают водой. Для удаления из галлия газовых включений его нагревают в вакуумной печи: при 400—500 °С происходит дегазация металла, при дальнейшем нагреве удаляются примеси цинка.
Для получения галлия высокой чистоты его подвергают электролитическому рафинированию в щелочном электролите с жидким галлиевым катодом, а затем вакуумной плавке.
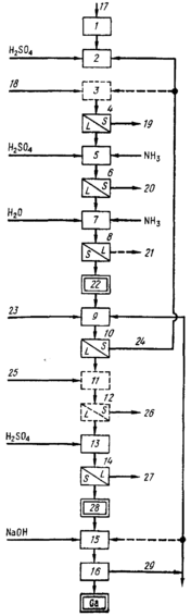
Глава 2. ИЗВЛЕЧЕНИЕ ГАЛЛИЯ ИЗ СТОЧНЫХ ВОД ПРОЦЕССА ПОЛУЧЕНИЯ ОКСИДА АЛЮМИНИЯ
Галлий, побочный продукт переработки алюминиевых соединений, получается из части так называемого зеленого раствора, образующегося в процессе производства оксида алюминия А1203. Оксид галлия Ga203, присутствующий в бокситах, растворяется вместе с оксидом алюминия при вываривании руды. Растворимый оксид галлия накапливается в циркулирующем растворе до концентрации ~0,2 г/л, после чего происходит его частичное осаждение. После насыщения раствора оксидом галлия его концентрация остается относительно постоянной, остальное количество выводится из процесса вместе с красным шламом.
Оксид галлия выделяется из небольшой части раствора путем осаждения. При этом теряется небольшое количество оксида алюминия (~100 частей на 1 часть производимого оксида галлия). После того как получен осадок, содержащий оксид галлия и оксид алюминия, галлий отделяется электролитически. Очистка его в лабораторных условиях включает 16 стадий. Песок, отделяемый в сепараторе перед фильтрацией зеленого раствора, является одним из минеральных компонентов, содержащихся в растворе. Черный песок считается отходом, однако через какое-то время он будет, возможно, рассматриваться как побочный продукт. Если песок, полученный после сепарации, подвергнуть магнитному разделению, то можно отделить черную (магнитную) фракцию от общей массы.
Образцы такого песка одного из заводов в Арканзасе содержат 40 % оксида железа и 3,8 диоксида титана, а также некоторое количество примесей оксидов циркония, марганца, магния, ванадия, ниобия, галлия, хрома, молибдена, никеля, свинца и меди.
Оксид галлия получается обработкой незначительной доли потока раствора, циркулирующего в производстве со скоростью ИЗО м3/мин. Трудовые затраты составляют основную часть стоимости получаемого продукта.
Даже методы расфасовки и отправки продукта повышают его стоимость. Следует отметить, что выделение галлия не представляет собой постоянного отдельного производства. Работающие на этой операции обычно заняты также получением других разнообразных продуктов. Рынок для сбыта галлия ограничен, поэтому большое его количество сбрасывается в отходы вместе с красным шламом. Как известно, бокситы содержат до 0,01 % галлия. При степени выделения 50 % получают 50 г из тонны, а при 90 % — 90 г галлия из тонны сырья.
2.1 Галлий из колошниковой пыли печей для производства фосфора
Галлий в природе находится в виде смеси с соединениями цинка, германия, алюминия и меди, значительное его количество присутствует в углях. Хотя в природе галлий имеется в достаточном количестве, он сильно рассеян и в природных рудах он встречается в концентрации 0,001—0,02 %.
Галлий также содержится в незначительных количествах в фосфатных минералах и в значительной мере концентрируется в процессе переработки руды для получения элементарного фосфора. В этом производстве абгазы электропечей направляются в осадители для выделения и сбора пыли, которая содержит наряду с другими элементами галлий. Из других элементов наибольший интерес представляют цинк, серебро, кадмий, алюминий, фосфор, натрий, калий, кальций, фтор, хлор, кремний и углерод.
В лучших экспериментах выделяется от 85 до 98 % германия в виде низших оксидов и сульфидов, и от 75 до 97 % галлия в виде низших оксидов и трехлорида галлия. Концентрация получаемых концентратов непостоянна и содержание выделяемых соединений изменяется от нескольких сотых до 8 % в зависимости от использованного метода. При первичной экстракции одного германия коэффициент экстракции превышает 100, для галлия он равен ~ 30. Обогащение концентрата может быть проведено путем упаривания, выщелачивания и осаждения.
Цинк осаждается из раствора в виде аммонийно-цинкового сульфата (гексагидрат) и щелочные добавки используются для осаждения концентрата галлия с получением свободного от галлия раствора, обработкой которого можно получать сульфаты и фосфаты других металлов.
Галлиевый концентрат можно обогатить добавлением извести, осаждающей фосфат кальция, с последующим введением гидроксида натрия для растворения соосажденных соединений галлия и алюминия. Твердый остаток рециркулируется, а раствор нейтрализуется для осаждения обогащенного концентрата. Алюминий может отделяться в виде алюмината кальция. Обогащенный концентрат можно растворять в щелочах и проводить электролитическое выделение галлия. Такой процесс схематически представлен на рис. 1.
Исходная пыль из электропечей производства элементарного фосфора имеет различный состав в соответствии с составом используемых природных фосфатов. Она может содержать, например, %: Qa 0,02—0,05, Zn 5—15, Cd 0,5, Ag 280—700 г/т, AlAs 1—4, Na20 1—3, K20 5—25, CaO 7—12, P206 25—35, CI 0,3—1, Si02 13—19, F 1—5, H20 5—20. После удаления из пылеуловителя при контакте с воздухом пыль сгорает и при этом частично плавится с образованием агломератов различного размера. Агломерат может достигать величины 30—45 см. При таком комковании продукт не может направляться на переработку.
На стадии предварительной обработки 1 (рис. 1) размер частиц может быть уменьшен до требуемого для последующих операций значения — I см или менее. Материал подается в соответствующее устройство — молотковую мельницу и затем просеивается. Частицы с большим размером чем это необходимо возвращаются в повторное измельчение. Удовлетворяющий требованиям мелкозернистый материал подается на обработку серной кислотой.
Другой вариант заключается во влажном измельчении дымной пыли в виде водной суспензии, после чего следует стадия отделения твердых частиц от раствора. Такой метод обработки предпочтителен при наличии в пыли большого количества водорастворимых компонентов. При мокром размоле не только достигается уменьшение размера частиц, но и происходит растворение значительного количества веществ. Полученный водный раствор содержит определенное количество соединений калия и фосфатов металлов, что делает экономически выгодным процесс переработки этого раствора в удобрения. После отделения водного раствора твердые частицы подсушиваются, если это необходимо, перед подачей на обработку серной кислотой (стадия 2).
На стадии 2 предварительно обработанная пыль обрабатывается серной кислотой для перевода металлов в соответствующие сульфаты и для удаления, по крайней мере частично, фтора. Пыль смешивается с серной кислотой, нагревается до повышенной температуры и масса перемешивается в течение времени, достаточного для достижения необходимой степени перевода соединений в раствор.
По одному из методов сернокислотной обработки пыль смешивается с кислотой в количестве, достаточном для создания в смеси концентрации свободной кислоты
15—25%, что обеспечивает полную экстракцию металлов.
Реакция проводится при температуре 60—100 °С и перемешивании в течение 0,5—6 ч. Параллельно с переводом соединений металлов в сульфаты выделяющийся фтор вступает в реакцию с кислотой и кремнеземом с образованием четырехфтористого кремния, который выделяется из реакционной смеси. Для полного удаления летучих фтористых соединений из раствора над ним может быть создано разрежение. Раствор отделяется от выщелоченного остатка в сепараторе 4.
Высокая концентрация свободной кислоты в растворе приводит к коррозии аппаратуры на стадии 2 и последующих этапах. Использование специальных кислотостойких сталей устраняет эту проблему, однако существенно удорожает процесс.
Высокий коэффициент экстракции и эффективное удаление фтористых соединений могут быть получены при поддержании уменьшенной концентрации кислоты в растворе для уменьшения коррозии. При этом пыль подвергается двустадийной обработке, сначала минимальным количеством концентрированной серной кислоты, а далее проводится выщелачивание сульфатов водой. Используется такое количество 94 %-ной серной кислоты, которое достаточно для перевода соединений металлов в сульфаты и создания концентрации свободной кислоты в получающемся растворе около 1—4%. При этом полностью устраняется необходимость использовать специальную коррозионноустойчивую аппаратуру.
Температура и время смешения регулируются таким образом, чтобы обеспечить эффективность обоих процессов — получения сульфатов и удаления фтористых соединений. Кроме того, эти факторы определяют текучесть получаемой кислой массы. Для поддержания хорошей текучести температура должна поддерживаться >100°С, предпочтительно в интервале 100—250 °С. По крайней мере 15 мин требуется для проведения полного смешения и перевода соединений в сульфаты. Предпочтительно проводить процесс в течение 1—2 ч.
Характеристики
Тип файла документ
Документы такого типа открываются такими программами, как Microsoft Office Word на компьютерах Windows, Apple Pages на компьютерах Mac, Open Office - бесплатная альтернатива на различных платформах, в том числе Linux. Наиболее простым и современным решением будут Google документы, так как открываются онлайн без скачивания прямо в браузере на любой платформе. Существуют российские качественные аналоги, например от Яндекса.
Будьте внимательны на мобильных устройствах, так как там используются упрощённый функционал даже в официальном приложении от Microsoft, поэтому для просмотра скачивайте PDF-версию. А если нужно редактировать файл, то используйте оригинальный файл.
Файлы такого типа обычно разбиты на страницы, а текст может быть форматированным (жирный, курсив, выбор шрифта, таблицы и т.п.), а также в него можно добавлять изображения. Формат идеально подходит для рефератов, докладов и РПЗ курсовых проектов, которые необходимо распечатать. Кстати перед печатью также сохраняйте файл в PDF, так как принтер может начудить со шрифтами.
















