165562 (739829), страница 3
Текст из файла (страница 3)
4.2.4. Интенсификация процессов очистки.
Для ускорения наименее медленных стадий процессов очистки с целью повышения качества очистки и производительности процессов используют различные способы их интенсификации, которые достигаются применением физических, химических и комбинированных средств.
К физическим средствам относятся нагрев, кипячение, вибрация, обработка струёй, гидроциркуляцией, протоком, гидромеханическая обработка, центрифугирование, ультразвуковая обработка, плазма.
К химическим средствам относятся поверхностно-активные вещества, комплексообразователи, катализаторы. Комбинированные средства основаны на использовании физических и химических средств.
Применение тех или иных средств позволило разработать наиболее эффективные способы обезжиривания, травления, промывания и создать необходимое для их осуществления оборудование.
Наиболее распространенными и эффективными способами жидкостной обработки в промышленных условиях являются ультразвуковая очистка в растворителях, химико-динамическое травление, анодно-механическое травление.
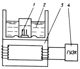
При ультразвуковой очистке (рис. 3) пластины 1 помещают в ванну с водой (эмульсией) 2, на которую передаются вибрации через вибратор 3 от генератора 4. Механические вибрации способствуют перемешиванию растворителя и тем самым ускоряют процесс.
Рис. 3
Принцип химико-динамического травления заключается в интенсивном перемешивании травителя непосредственно над поверхностью пластин (рис.4). При вращении приводом 1 фторопластового барабана 2 травитель 3 омывает пластины 4, закрепленные на специальном диске 5, чем достигается хорошее перемешивание травителя и равномерное травление.
Рис. 4
В основу анодно-механического травления положено электрохимическое травление, сопровождаемое механическим воздействием (рис. 5). Электролит 2 подается на освещенные мощной лампой 1 (для генерации дырок) пластины 3, которые предварительно закрепляются на аноде 4, и соприкасаются с вращающимся катодным диском 5, содержащим радиальные канавки. При этом скорость электрополировки достигает 400нм/с.
Рис. 5
Особый интерес с точки зрения производительности и качества очистки представляет способ, основанный на возникновении кавитации в пограничном слое очищаемой поверхности. Условия кавитации создают механическим путем (центрифугированием), а в качестве растворителя используют дистиллированную воду с растворенным кислородом.
Способы жидкостной очистки используют на различных стадиях изготовления ИМС.
4.3. Способы сухой очистки пластин и подложек.
Наряду с жидкостной обработкой в технологию изготовления ИМС в последнее время интенсивно внедряются различные способы сухой очистки. Наряду с традиционными термообработкой (отжигом) и газовым травлением успешно используют ионное и |плазмохимическое травление.
4.3.1. Термообработка.
Сущность термообработки состоит в нагреве пластины или подложки до температуры, при которой происходят удаление адсорбированных поверхностью загрязнений, разложение поверхностных загрязнений и испарение летучих соединений.
Отжиг осуществляют в вакуумных или термических установках непосредственно перед проведением основных операций формирования полупроводниковых или пленочных структур.
Эффективность очистки зависит от температуры, максимальное значение которой ограничено температурой плавления очищаемых материалов и процессами диффузии примесей.
4.3.2. Газовое травление.
Сущность газового травления заключается в химическом взаимодействии материала пластин с газообразными веществами и образовании при этом легко улетучиваемых соединений. В процессе газового травления загрязнения удаляются вместе со стравливаемым приповерхностным слоем пластин.
Газовое травление как метод окончательной очистки применяют в первую очередь непосредственно перед теми технологическими процессами, в которых определяющую роль играет структура поверхностного слоя (например, перед эпитаксиальным наращиванием). В качестве травителей используют смеси водорода или гелия с галогенами (фтор, хлор, бром), галогеноводородами (HBr, HC1), сероводородом
, гексафторидом серы.
Молярное содержание этих веществ в водороде или гелии может изменяться от десятых долей процента до единиц процентов. Очистку осуществляют при температурах 800-1300°С в установках термического окисления либо непосредственно в реакторах эпитаксиального наращивания.
Наибольшее распространение получило травление кремниевых пластин хлористым водородом при температурах 1150-1250°С, при этом происходит реакция:
(9)
Скорость травления зависит от температуры и концентрации HC1 в водороде. Аналогично происходит травление кремния в HBr.
Травление кремниевых пластин в парах тетрахлорида кремния сопровождается реакцией
(10)
При хлорном травлении в качестве газоносителя используют гелий. Травление осуществляют при температуре около 1000°С и содержании хлора в гелии не более 0,2% в соответствии с реакцией:
(11)
Травление кремния в парах сероводорода происходит по реакции:
(12)
При этом получаются большие скорости травления (до 15 мкм/мин). Однако сероводород токсичен. Гексафторид серы, наоборот, не токсичен и обеспечивает хорошее качество поверхности при травлении кремния и сапфира. Травление кремния сопровождается реакцией:
(13)
Газовое травление обеспечивает получение более чистых поверхностей по сравнению с жидкостной, обработкой. Однако его применение ограничено из-за высоких температур процессов и необходимости использования газов особой чистоты.
4.3.3. Ионное травление.
Сущность ионного травления состоит в удалении поверхностных слоев материала при его бомбардировке потоком ионов инертных газов высокой энергии. При этом ускоренные ионы при столкновении с поверхностью пластин или подложек передают их атомам свою энергию и импульс.
* Ионное травление - процесс удаления загрязнений вместе с распыляемым в вакууме поверхностным слоем обрабатываемой поверхности при ее бомбардировке ускоренными ионами инертного газа.
Если во время столкновения энергия, передаваемая атому, превышает энергию химической связи атома в решетке, а импульс, сообщаемый атому, направлен наружу от поверхности, то происходит смещение атомов, их отрыв от поверхности - распыление. Для реализации этого процесса требуются определенные вакуумные условия, а ионы должны обладать определенными значениями энергий, достаточными для распыления материалов.
Разновидностью ионного травления является ионно-химическое (реактивное) травление, основанное на введении в плазму химически активного газа, обычно кислорода. При этом изменяется скорость травления вследствие химического взаимодействия между подложкой и добавленным газом.
4.3.4. Плазмохимическое травление.
В отличие от ионного плазмохимическое травление основано на разрушении обрабатываемого материала ионами активных газов, образующимися в плазме газового разряда и вступающими в химическую реакцию с атомами материала при бомбардировке поверхности пластин или подложек. При этом молекулы газа в разряде распадаются на реакционно-способные частицы - электроны, ионы и свободные радикалы, химически взаимодействующие с травящейся поверхностью. В результате химических реакций образуются летучие соединения.
Для травления кремния и его соединений (оксида и нитрида кремния) наиболее часто используют высокочастотную плазму тетрафторида углерода
(возможно применение гексафторида серы
и фреона-12 -
).
При взаимодействии этих газов с электронами плазмы происходит разложение
и образуются ионы фтора и другие радикалы:
(14)
Ионы фтора, а в ряде случаев и радикал
активно взаимодействуют с кремнием, образуя летучее соединение
. Уравнения, характеризующие химические реакции травления кремния, оксида и нитрида кремния в плазме
, имеют вид
(15)
Характерно, что частицы, участвующие в травлении, травят различные материалы с разной скоростью. На этом основано свойство плазмохимического травления. Скорость травления определяется концентрацией атомов фтора и постоянной скорости химической реакции
:
(16)
Концентрация
обусловливается скоростью генерации атомов, что определяется конструкцией и мощностью реактора, а также временем жизни частиц в реакторе, которое зависит от скорости газового потока, давления и условий рекомбинации частиц.
Скорость травления строго зависит от температуры; ее влияние предопределяется физическими свойствами травящегося материала и газовым составом плазмы. Так, добавка кислорода к чистой плазме
повышает скорость травления.
В плазме фторсодержащих газов можно травить некоторые металлы. Для травления применяют также плазму хлорсодержащих газов. Для удаления органических материалов используют кислородную плазму.
Промышленные конструкции реакторов рассчитаны на групповую обработку пластин с кассетной загрузкой и программным управлением.
В отечественной промышленности для различных целей плазмохимической обработки кремниевых пластин используются автоматизированные реакторы «Плазма 600» (для удаления фоторезиста и очистки поверхности пластин при изготовлении биполярных ИМС) и «Плазма 600Т» (для удаления фоторезиста, очистки поверхности пластин и травления диэлектрических слоев). Плазмохимическое травление применяют также для локальной обработки поверхностей.
Способы сухой очистки пластин и локальной их обработки наиболее эффективны при создании БИС и СБИС на элементах с микронными и субмикронными размерами.
4.4. Типовые процессы очистки пластин и подложек.
Выбор способа очистки зависит от вида загрязнений. Эффективная очистка достигается при сочетании нескольких способов очистки. В качестве примера в таблице 2 приведены данные по использованию различных способов очистки в зависимости от вида загрязнений.
Таблица 2
Виды загрязнений и способы их удаления
| Виды загрязнений | Способы очистки |
| Физические включения (пылинки, пух, небольшие частицы полупроводника, металла, абразива) | Растворение и одновременное ультразвуковое перемешивание |
| Загрязнения ионами (остатки кислот, осадки, получаемые при электролитическом покрытии, ионы металлов) | Промывка в деиониэованной или дистиллированной воде до установления постоянного сопротивления. Промывка в кислотах для удаления адсорбированных ионов. Ионная очистка |
| Минеральные жиры и органические материалы | Ультразвуковая промывка в нагретом органическом растворителе. Кипячение в органическом растворителе. Ионная очистка |
| Сложные химические включения (полярный органический материал, окислы, сернистые соединения) | Травление кислотами. Промывка кремниевых пластин в метиловом спирте |
| Загрязнения парами | Ионная очистка. Вакуумный отжиг. Термическое травление. Обработка в кислотах |
Однако при изготовлении ИМС возможные виды загрязнений проявляются комплексно, а на различных стадиях изготовления к качеству чистоты поверхности предъявляются различные требования. Поэтому для качественной и эффективной очистки пластин и подложек разрабатывают типовые процессы очистки, представляющие собой комбинирование различных способов очистки, выполняемых в определенной последовательности. В составе таких процессов основными операциями являются обезжиривание, травление, промывка, сушка.















