TermChem_2 (739459)
Текст из файла
Московская городская олимпиада по химии
Реферат
Основные задачи термохимии. Использование калориметрических методов для определения теплот растворения солей.
ученика 11 класса
общеобразовательной школы №1303
(Химический лицей)
Кондакова Николая
Москва, 2000
Оглавление
1. Основные задачи термохимии 3
2. Чем обусловлен тепловой эффект реакции? 4
3. Калориметрическая установка 6
4. Вычисление t 8
5. Основной источник погрешности в результатах калориметрических опытов 8
6. Определение удельной теплоты растворения соли 9
7. Методики определения удельной теплоты растворения соли 9
8. Оглавление 10
Основные задачи термохимии
Термохимия, раздел химической термодинамики, включающий определение теплового эффекта реакции и установление его зависимости от физико-химических параметров. В задачу термохимии входит также измерение и вычисление теплот фазовых переходов, растворения, разбавления и других процессов, изучение теплоемкостей, энтальпий и энтропий веществ. Основным экспериментальным метод термохимии – калориметрия. Иногда используются некалориметрические методы (расчет тепловых эффектов из результатов измерения констант равновесия, эдс и т.п.), однако в этих случаях результаты обычно менее точны.
В 1840 году химик Гесс открыл закон, названный позднее его именем, этот закон дает возможность определять расчетным путем тепловые эффекты реакций по теплотам образования исходных веществ и продуктов или по теплотам их сгорания. Тем самым, открывая путь для определения тепловых эффектов реакций, которые трудно осуществимы, а иногда и невозможно. Необходимые для расчета стандартные теплоты образования Hобро собраны в фундаментальные термохимические справочники.
В середине XIX века Томсен и Бертло высказали идею, согласно которой химические реакции, происходящие без подвода энергии извне, протекают в направлении максимального выделения теплоты. Ими и их учениками были разработаны основные экспериментальные методики термохимии и измерены тепловые эффекты многих реакций.
Хотя в общем виде принцип Бертло-Томсена оказался неверен, но за термохимией сохранилась ведущая роль в исследовании возможности протекания химических реакций в заданных условиях. Так, уравнение H - TS=-RTlnKp являющееся обобщением первого и второго начал термодинамики (H – изменение энтальпии, S – изменение энтропии при химической реакции, T – температура, R – газовая постоянная), позволяет рассчитать константу равновесия Kp любой реакции через тепловые величины.
Изменение энтальпии (тепловой эффект) очень просто может быть измерен в лаборатории. Обычно это делают, окружая зону реакции: при этом происходит энергообмен. Если реакция является экзотермической, то вода нагревается, если эндотермической – то охлаждается. Если измерить изменение температуры воды и если известна масса воды и ее удельная теплоемкость, то можно вычислить количество поглощенной или выделенной в процессе химической реакции энергии.
Н
а рисунке 1 показан прибор, с помощью которого может быть получено более точное значение H, чем в довольно грубом расчетном методе. Этот прибор называется калориметрической бомбой и предназначен для определения теплоты сгорания вещества.
Для некоторых реакций можно непосредственно измерить H. Возьмем, к примеру, реакцию горения метана. Можно провести грубое измерение H этой реакции, используя обычное кухонное оборудование и газовую плиту.
Д
рисунок 1
1 термометр. 2 вода. 3 электрическая спираль для сжигания образца. 4 воздушная рубашка. 5 мешалка. 6 тигель с анализируемым образцом. 7 кислород под давлением. 8 бомба калориметра
ля других реакций это выполнить сложнее. Например, для реакции разложения CaCO3 требуется температура свыше 800оС, что усложняет использованиеводы для измерения передаваемой энергии. В таких
случаях изменение энтальпии определяется косвенно, с
использованием энтальпийных циклов.
Как уже было отмечено, калориметрия используется для определения тепловых эффектов реакций, в частности она используется и для определения теплот растворения солей или других соединений в воде
или других растворителях. Это является одной из самых интересных задач термохимии, так как выделение теплоты при растворении солей может быть использовано для разогрева или охлаждения тех или иных объектов.
Чем обусловлен тепловой эффект реакции?
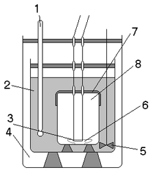
рисунок 2.
1 термометр. 2 мешалка с наконечником для пробивания ампул. 3 ампула. 4 калориметрическая жидкость. 5 калориметрическая оболочка
А чем, собственно говоря, определяется изменение теплового эффекта реакции.
Процесс образования растворов на молекулярном уровне можно представить следующим образом. Каждая группа молекул чистого вещества должна сначала перестроиться таким образом, чтобы молекулы были удалены друг от друга на расстояния, соответствующие конечной концентрации раствора. (Например, в разбавленном растворе метанола в воде молекулы метанола очень удалены друг от друга, а молекулы воды находятся почти так же близко друг к другу, как в чистой воде.) Далее системы с удаленными молекулами должны сблизиться, образовав раствор конечной плотности. Сначала индивидуальные вещества должны поглотить энергию, чтобы произошло разделение частиц; однако при сближении частиц «раздвинутых» систем при образовании раствора энергия выделяется. Смешение частиц увеличивает статический “беспорядок” системы, что сопровождается увеличением энтропии.
Для процессов растворения характерна склонность к самопроизвольному протеканию к отрицательному изменению энергии Гиббса в результате смешивания частиц растворителя и растворенного вещества.
Основные различия в поведении растворов зависят от баланса выделяемой и поглощаемой энергии, связанной с изменениями межчастичных расстояний. Величины H для процессов растворения отличаются друг от друга. Образование раствора является экзотермическим процессом (изменение энтальпии отрицательно), если при смешении частиц освобождается больше энергии, чем необходимо для первоначального разделения частиц. Если же для разделения деления частиц требуется больше энергии, чем освобождается при смешении, процесс растворения - эндотермичен (изменение энтальпии положительно). Поскольку энтальпийная функция дает вклад в изменение энергии Гиббса G=H-TS, можно ожидать, что именно для эндотермического процесса наиболее вероятна ограниченная растворимость; это в действительности подтверждается термодинамическими измерениями. Однако на молекулярном уровне эндотермический ход процесса растворения обусловлен тем, что однородные частицы в чистых жидкостях притягивают друг друга в смеси в среднем сильнее по сравнению с разнородными. Следовательно, для разделения однородных частиц в систему необходимо ввести больше энергии, чем выделится при сближении разнородных частиц в процессе смешения.
Приведенные рассуждения включают ряд допущений, в действительности поведение растворов часто значительно сложнее. Например, конечный раствор представляет собой систему с совершенно случайным распределением частиц, при рассмотрении которой была исключена возможность существования в растворе некоторой упорядоченной структуры. Если наличие упорядоченной структуры вносит свой вклад в образование раствора, то изменение энтропии будет иметь меньшее положительное значение, которое трудно поддается анализу. Тем не менее корреляция положительных отклонений от поведения идеальных растворов и ограниченной растворимости с энергиями притяжения между однородными частицами является достаточно хорошим первым приближением.
Образование раствора может продолжаться до тех пор, пока химические потенциалы компонентов заметно понизятся при переходе в раствор. Теоретическая модель процесса растворения объясняет понижение химического потенциала как результат разупорядочения при смешении частиц и влияния энергетических эффектов за счет притяжения между частицами. Если энергия притяжения между однородными частицами больше энергии притяжения между разнородными частицами, то снижение химического потенциала велико только для очень разбавленных растворов, а затем становится незначительным. Тогда можно предсказать, будут ли два вещества обладать высокой или низкой взаимной растворимостью; для этого необходимо только оценить степень притяжения между однородными частицами.
Теплоты испарения служат удобной и достаточно достоверной мерой энергии притяжения, хотя следует иметь в виду вклады других факторов, таких, как размеры молекул и специфические взаимодействия между частицами. В общем, два компонента будут обладать ограниченной взаимной растворимостью, если один из них характеризуется значительно большей теплотой испарения по сравнению с другим.
При смешении двух жидкостей могут наблюдаться всевозможные градации взаимной растворимости: от практически полной нерастворимости друг в друге (например, ртуть и вода) до смешения в любых соотношениях с образованием однородного раствора (например, этанол и вода). Промежуточное положение занимает смесь ограниченной взаимной растворимости. Смесь жидкостей А и В (например, анилин и вода) разделяется после взбалтывания на два слоя: насыщенный раствор А в В и насыщенный раствор В в А. Однако и в этом случае могут существовать области температуры и состава, в которых компоненты А и В образуют однородную смесь.
Термохимические изменения
Ввиду разнообразия в поведении растворы классифицируют в соответствии с их термодинамическими свойствами. С этой точки зрения различают идеальные и неидеальные растворы. Для большинства физико-химических расчетов необходимо знать теплоемкости веществ, участвующих в процессе, тепловые эффекты процессов растворения, фазовых превращений и химических реакций. Эти величины можно измерить экспериментально. При температурах, близких к комнатной (20-50оС), широко применяется калориметрический метод.
При калориметрических опытах величина и знак теплового эффекта Q процесса определяются по изменению температуры калориметра t:
где mi – масса исследуемого вещества, калориметра и вспомогательных устройств (мешалки, ампулы, термометра); c – удельные теплоемкости исследуемого вещества, калориметра и вспомогательных устройств; с - суммарная теплоемкость калориметрической системы. Уравнение (1) может быть записано
Q=(K+m1c1)t
где K – константа калориметра, то есть теплоемкость частей калориметра и вспомогательных устройств, участвующих в теплообмене, Дж/К; с1 – теплоемкость содержимого калориметра; t – изменение температуры процесса, протекающего в условиях отсутствия теплообмена калориметра с окружающей средой.
Калориметр с изотермической оболочкой (диатермический) позволяет учесть теплообмен его с окружающей средой, что дает возможность вычислить изменение температуры t, соответствующее опыту без теплообмена.
Теплоемкость систему С называют производную dQ/dT. Теплоемкость газов и жидкостей зависит от температуры, а теплоемкость твердых веществ при средних и высоких температурах практически от нее не зависит. При расчетах часто использую теплоемкость.
Средней теплоемкостью однородного тела называют отношение подведенной теплоты к повышению температуры:
Средняя теплоемкость
зависит от интервала температур (Т2 – Т1). Зависимость между истинной и средней теплоемкостями выражается уравнением
При Т5о даже на совершенных калориметрах (при измерении с точностью 0,05%) не удается установить различия между истинной и средней теплоемкостью. Поэтому теплоемкость, определенную в результате изменения температуры калориметра на 2-3о, принимают за истинную и относят ее к температуре (Т2+Т1)/2. Теплоемкость однородного тела зависит от его массы:
Характеристики
Тип файла документ
Документы такого типа открываются такими программами, как Microsoft Office Word на компьютерах Windows, Apple Pages на компьютерах Mac, Open Office - бесплатная альтернатива на различных платформах, в том числе Linux. Наиболее простым и современным решением будут Google документы, так как открываются онлайн без скачивания прямо в браузере на любой платформе. Существуют российские качественные аналоги, например от Яндекса.
Будьте внимательны на мобильных устройствах, так как там используются упрощённый функционал даже в официальном приложении от Microsoft, поэтому для просмотра скачивайте PDF-версию. А если нужно редактировать файл, то используйте оригинальный файл.
Файлы такого типа обычно разбиты на страницы, а текст может быть форматированным (жирный, курсив, выбор шрифта, таблицы и т.п.), а также в него можно добавлять изображения. Формат идеально подходит для рефератов, докладов и РПЗ курсовых проектов, которые необходимо распечатать. Кстати перед печатью также сохраняйте файл в PDF, так как принтер может начудить со шрифтами.















