152966 (733938), страница 2
Текст из файла (страница 2)
При выполнении теста "реализация стандартного положения (РСП) "мост"" фиксировалось количество уходов из опасного положения, а в тесте РСП "крест" фиксировалось количество приемов, проведенных из обоюдного захвата. В обоих тестах испытуемые по свистку выполняли по 10 попыток.
На третьем этапе эксперимента, в котором спортсмены - борцы экспериментальной группы продолжили тренировки на тренажере, но выполняли упражнения на фоне ДАВ, значение КСГ достоверно увеличилось в преодолевающем режиме работы до 0,858±0,05, а в уступающем, более сложном, с 0,393±0,06 до 0,635±0,05. Позиции борцов экспериментальной группы еще более укрепились. В итоговых соревнованиях ими было одержано 22 победы в 36 схватках и выиграно в общей сложности 146 технических баллов при 51 проигранном. В реализации стандартных положений "крест" и "мост" борцы экспериментальной группы явно превосходили борцов контрольной группы и их значения соответственно составили 9,83±0,4 и 8,17±0,8 из 10.
Как показал педагогический эксперимент, наибольшие сдвиги в показателях физической и технико-тактической подготовленности борцов экспериментальной группы произошли после второго этапа, т.е. после включения в тренировочный процесс занятий на тренажере.
В целом исследование показало, что значительные резервы специальной физической и технико-тактической подготовленности борцов греко-римского стиля кроются в специализированном развитии гибкости туловища спортсменов на основе использования технических средств. Традиционные средства развития гибкости для квалифицированных борцов малоэффективны.
Таким образом, для эффективного выполнения технико-тактических действий в греко-римской борьбе требуется специализированное развитие гибкости туловища борцов на основе использования технических средств. Его необходимо проводить до освоения (с упреждением) сложных приемов, в частности бросков прогибом.
Как показал эксперимент, разработанный комплекс позволяет осуществлять готовность основного "исполнителя" опрокидывания соперника к эффективной работе за 1, максимум 1,5 месяца.
Рис. 1. Методика развития активной гибкости с использованием дополнительной афферентации: 1 - маятниковый гониометр, 2 - электростимулятор, 3 - накожные пластинчатые электроды 2х12 см
Практические рекомендации
Предлагаем следующий алгоритм использования разработанных средств:
- развитие активной гибкости туловища в прогибах до оптимальных пределов (75-800) с использованием методики ДАВ. Для этого необходимо пределать цикл из 6 тренировок гибкости с ДАВ. Тренировки надо проводить через день, после подготовительной части занятий, при дозировке - 10 упражнений с интервалом 1 минута;
- развитие силовой гибкости на тренажере. Также 6 тренировок через день после подготовительной части занятий. Поочередно выполняются по 3 подхода в преодолевающем и в уступающем режимах работы при весе отягощения 75% от максимума, который определяется перед каждой тренировкой. После подхода с уступающим режимом выполняется серия из 6-8 бросков прогибом. В каждом подходе - 8-12 повторений с удержанием прогиба на 2-3 с;
- развитие силовой гибкости на тренажере с ДАВ. Регламент тренировки такой же, как и при обычной тренировке на тренажере. Электрические стимулы подаются в том же режиме, как при тренировке активной гибкости с ДАВ. Данная методика может быть рекомендована для борцов высокой квалификации как средство оперативной подготовки.
Целесообразно использовать методику в подготовительном периоде годичного цикла, так как эффект последействия при условии регулярных занятий борьбой сохраняется до 6 месяцев.
1. С увеличением фонового отягощения в прогибах увеличиваются количество и теснота достоверно значимых связей.
2. Количество достоверно значимых связей с пассивной гибкостью у спортсменов обеих групп минимально или они отсутствуют вовсе.
3. С увеличением фонового отягощения у спортсменов обеих групп увеличивается количество значимых связей с показателями соревновательной деятельности.
Таким образом, данный этап исследования позволил выявить специфику гибкости у борцов греко-римского стиля, выразившуюся в способности выполнять специфические движения туловищем с большой амплитудой и с одновременным преодолением внешних сил. Такого рода гибкость определена нами как силовая гибкость борца.
Выявленные факты дали возможность определить критерии, положенные в основу разработки комплекса технических средств специализированного развития гибкости. Такими критерями явились оптимальная активная гибкость в прогибах, необходимая для эффективного выполнения технических действий и равная 75-800 [4], и вес преодолеваемого отягощения - собственный вес борца. В педагогическом эксперименте, проходившем в три этапа, определилась эффективность использования комплекса. В начале и в конце каждого из этапов проводились "срезы" физической подготовленности и контрольные соревнования.
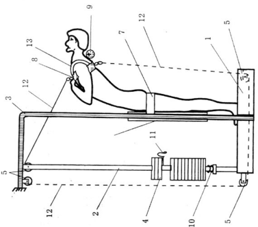
Рис. 2. Тренажер для развития силовой гибкости туловища: 1 - платформа, 2 - направляющие; 3 - рама жесткости, 4 - грузы, 5 - шарикоподшипниковые блоки, 6 - опорная площадка, 7 - ремень крепления (страховки) спортсмена, 8 - пояс с карабинами, 9 - гониометр, 10 - пружинные амортизаторы, 11 - фиксатор грузов, 12 - трос диаметром 5 мм, 13 - лямки регулирования положения пояса
Примечание. Пунктирной линией показан вариант крепления троса при тренировке в уступающем режиме
На первом этапе педагогического эксперимента основная задача состояла в развитии активной гибкости туловища в прогибах до оптимальных значений. Борцы контрольной группы использовали в тренировочном процессе традиционные средства развития гибкости, а борцы экспериментальной - методику развития активной гибкости с ДАВ. Общий вид методики представлен на рис. 1.
Электрические стимулы прямоугольной формы задавались от электростимулятора ЭСЛ-2 с частотой 100 Гц, длительностью импульса - 1 мс; длительность раздражения - время выполнения упражнения с удержанием прогиба в течение 3 с. Амплитуда сигнала подбиралась индивидуально - до слабой фибрилляции мышц под электродами - и была в пределах 15-25 В. Маятниковый безынерционный гониометр устанавливался над седьмым шейным позвонком.
Анализ результатов первого этапа эксперимента показал, что развитие "чисто" активной гибкости туловища до оптимальных пределов с использованием ДАВ не влечет за собой статистически достоверных положительных сдвигов как в физической, так и в технико-тактической подготовленности борцов экспериментальной группы. Тем не менее основная задача данного этапа была решена, так как были созданы предпосылки для "наполнения" достигнутой оптимальной амплитуды прогибов "силовым содержанием", что и явилось рабочей задачей второго этапа педагогического эксперимента. Для этого в тренировки борцов экспериментальной группы были включены занятия на тренажере, схема которого представлена на рис. 2.
Список литературы
1. Абульханов А.Н., Мартьянов В.А. Методика развития гибкости у борцов с использованием дополнительной афферентации //В сб. "Научно-методическое обеспечение системы подготовки высококвалифицированных спортсменов". М., 1990, с. 292-293.
2. Абульханов А.Н. Тренажер для развития специальной гибкости у борцов классического стиля //Удостовер. на рац. предложение № 1611/21 от 28.05.91.
3. Зациорский В.М. Двигательные навыки и качества спортсменов: Автореф. докт. дисс. М., 1969.
4. Кочурко Е.И. Экспериментальное исследование взаимосвязи между подвижностью в суставах и техникой спортивной борьбы: Автореф. канд. дисс. Киев, 1974.
5. Платонов В.Н. Подготовка квалифицированных спортсменов. - М.: ФиС, 1986.
6. Юшкевич Т.П., Васюк В.Е., Буланов В.А. Тренажеры в спорте. - М.: ФиС, 1989.
Для подготовки данной работы были использованы материалы с сайта http://lib.sportedu.ru/















